GM Service Manual Online
For 1990-2009 cars only

Water Dripping/Leak from Rear Dome/Reading Lamp or A-Pillars (Apply Sealer/Lengthen Hose)

Subject: Water Dripping/Leak from Rear Dome/Reading Lamp or "A" Pillars (Apply Sealer/Lengthen Hose)

Models:2008 Buick Enclave
2007-2008 GMC Acadia
2007-2008 Saturn OUTLOOK
with 2-Panel Sunroof (Power Tilt/Sliding Front Panel, Fixed Rear Panel with Power Sunscreen) (RPO C3U)



This bulletin is being revised to add the 2008 model year for the Acadia/OUTLOOK models and include build date information. Please discard Corporate Bulletin Number 07-08-57-002B (Section 08 -- Body and Accessories).


Condition #1

Built Prior to April 28, 2007

Some customers may comment on water dripping/leaking from the rear dome/reading lamp (located just rearward of the fixed glass) or from either " A" pillars when the vehicle is parked pointing downward.

Cause #1

The sunroof drains may allow too much water for the drain system to overcome.

Cause #2

Built Prior to October 1, 2007


Object Number: 2023501  Size: SH

Heat from the roof may cause one of the sunroof drain tubes to shrink and come off at its attaching point on the module. Refer to the illustration above.

Correction #1

  1. Lower the headliner following SI.
  2. Remove the sunroof module assembly following SI.

  3. Object Number: 1992635  Size: SH

    Important: The sunroof fixed rear panel glass has been removed for illustration purposes.

  4. There are four holes in the roof sheet metal that need to be sealed from inside the vehicle. Refer to the illustration above.

  5. Object Number: 1992640  Size: SH
  6. Clean the four holes in the roof sheet metal and fill with a small amount of urethane sealant. Refer to the illustration above.
  7. Reinstall the headliner.

Correction #2

Extend the drain tube length by 10 mm (3/8 in).

  1. Lower the headliner. Refer to the procedure in SI.
  2. Cut a 32 mm (1 1/4 in) long piece of hose from P/N 09438124 (11/32 hose).
  3. Using a single edge razor blade, cut 40 mm (1 1/2 in) off the end of the drain tube. Clean all the mating surfaces with denatured alcohol.

  4. Object Number: 2025234  Size: SH
  5. Apply GM Weatherstrip Adhesive Gel-Black, P/N 12345097 (in Canada, P/N 10953479), around one end of the small tube and insert it into the 90 degree rubber coupling. Refer to the illustration above.

  6. Object Number: 2025237  Size: SH
  7. Draw a line 15 mm (5/8 in) from the other end of the drain tube. Draw another line 15 mm (5/8 in) from the end of the drain tube. Refer to the illustration above.

  8. Object Number: 2025238  Size: SH
  9. Apply GM Weatherstrip Adhesive Gel-Black, P/N 12345097 (in Canada, P/N 10953479), around each end of the drain tubes. Refer to the illustration above.

  10. Object Number: 2025239  Size: SH
  11. Insert the drain tube into the 32 mm (1 1/4 in) long piece of hose from P/N 09438124 (11/32 Hose) up to the line drawn in step 5. Refer to the illustration above. If done properly, this will leave a 10 mm (3/8 in) gap inside the hose, lengthening it by 10 mm (3/8 in).
  12. Reinstall the headliner.

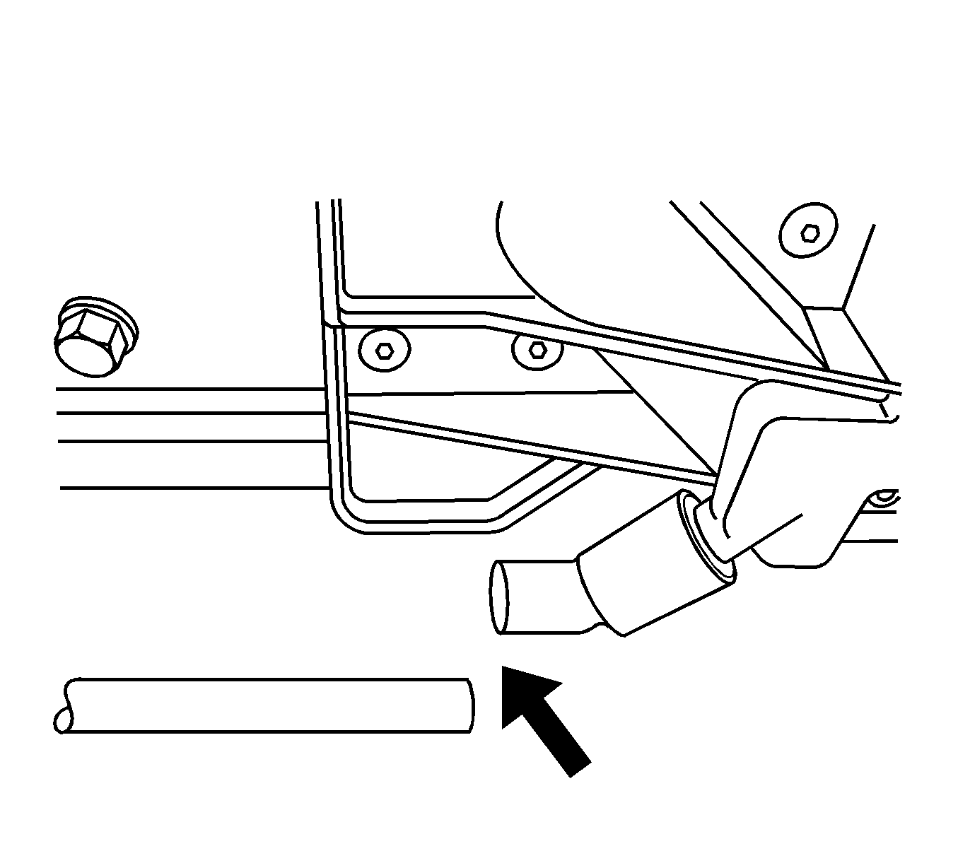
  13. Object Number: 2022596  Size: SH
  14. After installing the extension, make sure that the hose is seated on top of the airbag bracket. Refer to the illustration above.

  15. Object Number: 2022598  Size: SH
  16. Make sure that there are no bends pointing upward in the drain tube. Refer to the illustration above.

Condition #2

Some customers may comment on water dripping from the "A" pillar or the front floor is wet.

Cause

The end of one of the front drains may be plugged with grease from the sunroof or debris may be caught in the cross hatch at the end of the drain tubes.

Correction

  1. Remove the "A" pillar trim and defroster outlet grille to gain access to the end of the drain tubes.

  2. Object Number: 2029358  Size: SH
  3. Remove the rubber grommet at the end of the drain tube. Refer to the illustration above.

  4. Object Number: 2029357  Size: SH
  5. Using a knife, carefully remove the cross hatch inside the grommet and reinstall. Refer to the illustration above.

Parts Information

Part Number

Description

09438124

Hose (11/32 in)

12345097 (in Canada, 10953479)

GM Weatherstrip Adhesive Gel-Black

Warranty Information

For vehicles repaired under warranty, use:

Labor Operation

Description

Labor Time

C9818*

Seal four holes under stationary glass

2.9 hrs

C9819*

Add extension to sunroof drain hoses

2.3 hrs

C9820*

Removal of cross hatch inside drain tube

0.6 hr

*This labor operation number is for bulletin use only. This number will not be published in the Labor Time Guide.