GM Service Manual Online
For 1990-2009 cars only
Figure 1:

Behind the Driver Seat


Object Number: 1863121  Size: LF
(1)Driver Seat
(2)Floor Panel
(3)Seat Belt Retractor - Driver
(4)G303
Figure 2:

Behind the Passenger Seat


Object Number: 1863116  Size: LF
(1)Passenger Seat
(2)G302
(3)Seat Belt Retractor - Passenger
(4)Floor Panel
Figure 3:

Left Rear of the Passenger Compartment


Object Number: 2177389  Size: LF
(1)Vehicle Communications Interface Module (VCIM) (UE1)
(2)Object Alarm Module (UD7)
(3)Digital Radio Receiver (U2K or UBS)
(4)Liftgate Module (LGM) (TB5)
(5)Speaker - Left Rear Compartment (UQA or AQS)
(6)Accessory AC/DC Power Control Module (KV1)
(7)G401
(8)Liftgate Motor Assembly (TB5)
Figure 4:

Trim Panel Components - Left Rear


Object Number: 1867863  Size: LF
(1)Accessory Power Outlet - Rear
(2)Left Rear Trim Panel
(3)Speaker - Left Rear Compartment (UQA or AQS)
Figure 5:

Right Rear Trim Panel


Object Number: 1872256  Size: LF
(1)Right Rear Trim Panel
(2)Speaker - Right Rear Compartment (UQA or UQS)
(3)Rear Seat Audio (RSA) Control (RCA)
Figure 6:

Interior HVAC Module - Rear


Object Number: 1863168  Size: LF
(1)Blower Motor - Auxiliary
(2)Mode Actuator - Auxiliary
(3)Air Temperature Actuator - Auxiliary
(4)Blower Motor Control Module - Auxiliary
Figure 7:

Liftgate Components


Object Number: 1863122  Size: LF
(1)Liftgate Object Sensor - Right (TB5)
(2)Rear Window Defogger Grid
(3)Rear Window Wiper Motor
(4)Liftgate Object Sensor - Left (TB5)
(5)Liftgate Courtesy Lamp - Left
(6)Liftgate Control Switch - Interior (TB5)
(7)Liftgate Latch Assembly
(8)Liftgate Courtesy Lamp - Right
(9)Liftgate Control Switch - Exterior
Figure 8:

Rear of the Vehicle (W49)


Object Number: 1887813  Size: LF
(1)Radio Antenna
(2)Center High Mounted Stop Lamp (CHMSL)
(3)Rear Window Defogger Grid
(4)Backup Lamp - Right
(5)Park Lamp - Right Rear
(6)Marker Lamp - Right Rear
(7)Tail/Stop and Turn Signal Lamp - Right
(8)Rearview Camera (UVC)
(9)Object Alarm Sensor - Right Rear Corner (UD7)
(10)Object Alarm Sensor - Right Rear Middle (UD7)
(11)License Lamps
(12)Object Alarm Sensor - Left Rear Middle (UD7)
(13)Object Alarm Sensor - Left Rear Corner (UD7)
(14)Tail/Stop and Turn Signal Lamp - Left
(15)Marker Lamp - Left Rear
(16)Park Lamp - Left Rear
(17)Backup Lamp - Left
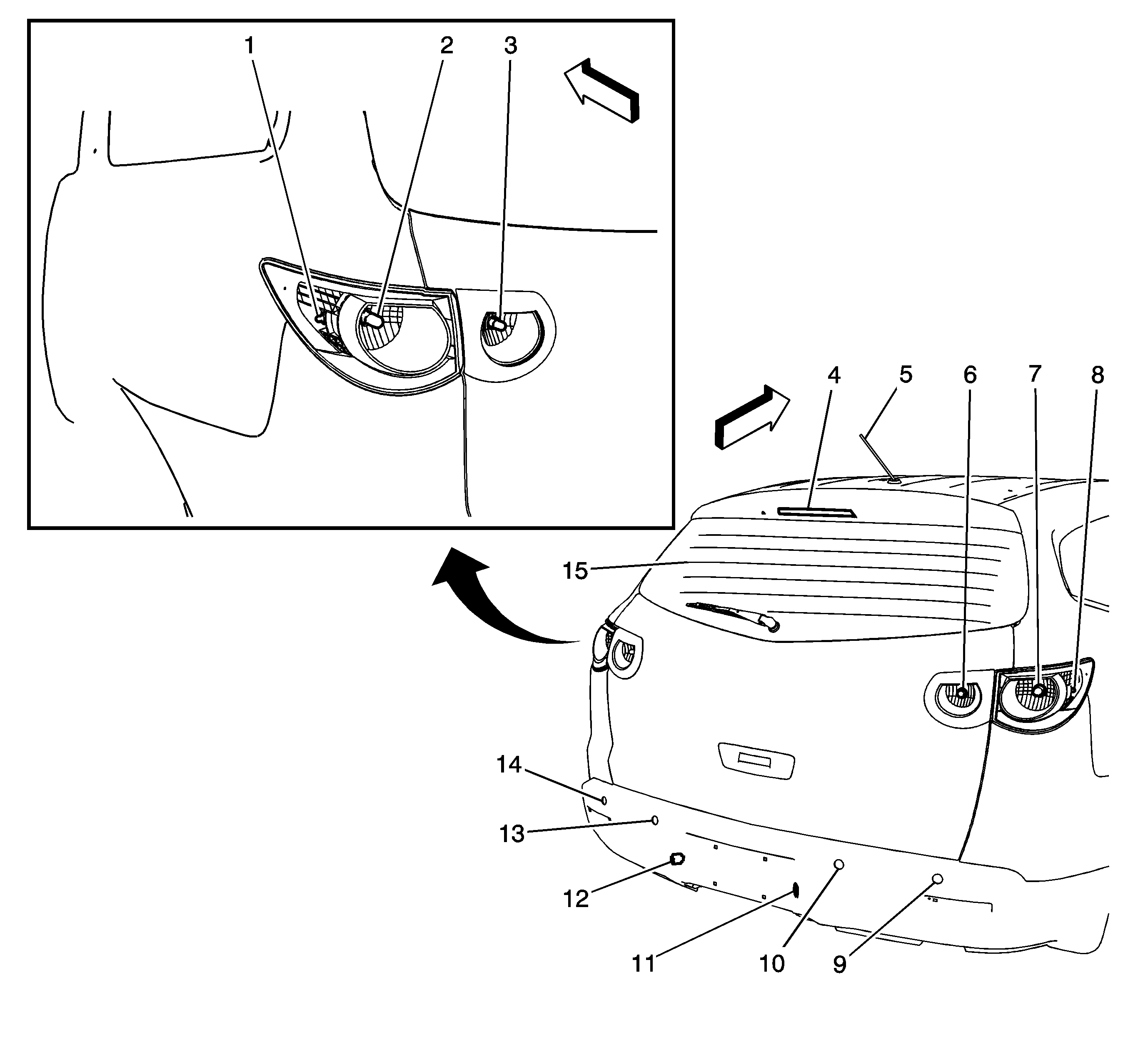
Figure 9:

Rear of the Vehicle (WDA)


Object Number: 1863125  Size: LF
(1)Backup Lamp - Left
(2)License Lamp - Left
(3)Radio Antenna
(4)Center High Mounted Stop Lamp (CHMSL)
(5)License Lamp - Right
(6)Backup Lamp - Right
(7)Marker Lamp - Right Rear
(8)Tail/Stop and Turn Signal Lamp - Right
(9)Object Alarm Sensor - Right Rear Corner (UD7)
(10)Object Alarm Sensor - Right Rear Middle (UD7)
(11)Object Alarm Sensor - Left Rear Middle (UD7)
(12)Object Alarm Sensor - Left Rear Corner (UD7)
(13)Tail/Stop and Turn Signal Lamp - Left
(14)Marker Lamp - Left Rear
Figure 10:

Rear Lighting (X88)


Object Number: 2178596  Size: LF
(1)Marker Lamp - Left Rear
(2)Tail/Stop and Turn Signal Lamp - Left
(3)Backup Lamp - Left
(4)Center High Mounted Stoplamp (CHMSL)
(5)Backup Lamp - Right
(6)Tail/Stop and Turn Signal Lamp - Right
(7)Marker Lamp - Right Rear
(8)License Lamp - Right
(9)License Lamp - Left
Figure 11:

Rear of the Vehicle - Z88


Object Number: 1868276  Size: LF
(1)Center High Mounted Stop Lamp (CHMSL)
(2)Radio Antenna
(3)Rear Window Defogger Grid
(4)Back Up Lamp - Right
(5)Tail Lamp - Right
(6)Park Lamp - Right Rear
(7)Object Alarm Sensor - Right Rear Corner (UD7)
(8)Object Alarm Sensor - Right Rear Middle (UD7)
(9)License Lamp - Left and License Lamp - Right
(10)Object Alarm Sensor - Left Rear Middle (UD7)
(11)Object Alarm Sensor - Left Rear Corner (UD7)
(12)Park Lamp - Left Rear
(13)Tail Lamp - Left
(14)Back Up Lamp - Left