GM Service Manual Online
For 1990-2009 cars only

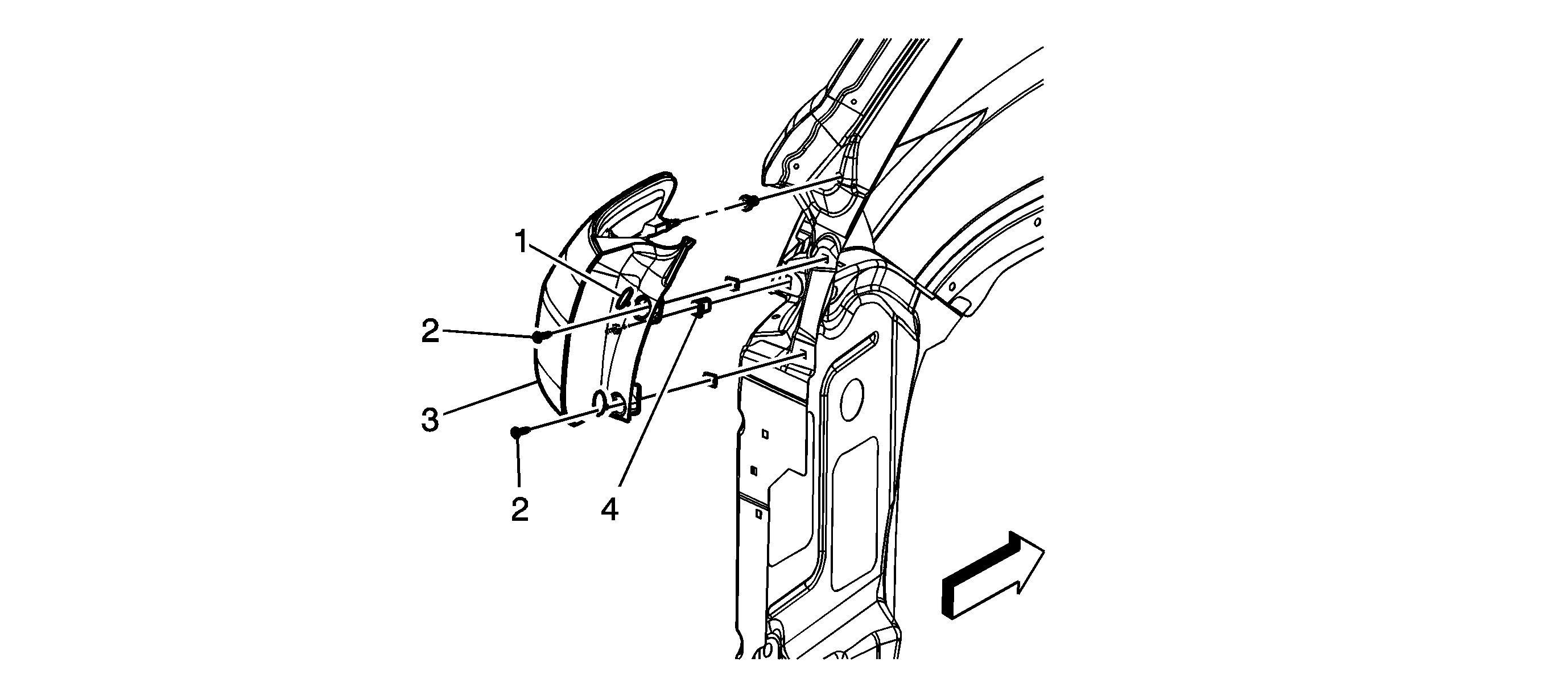
Tail Lamp Replacement Traverse


Object Number: 2076960  Size: MF

Callout

Component Name

Preliminary Procedure

Open the lift gate in order to access the tail lamp access hole covers.

1

Tail Lamp Access Hole Cover (Qty: 2)

Procedure

Use a small flat-bladed tool in order to disengage, Do Not Remove the covers.

2

Tail Lamp Screw (Qty: 2)

Caution: Refer to Fastener Caution in the Preface section.

Tighten
2.5 N·m (22 lb in)

3

Tail Lamp Assembly

Procedure

  1. Grasp the forward outer edge of the lamp assembly and with a quick pull rearward, disengage the locator pin from the quarter outer panel.
  2. Pull the lamp assembly from the body pillar outer pocket.
  3. Disconnect the electrical connector from the rear lamp harness.
  4. Transfer the stop / turn signal and side marker lamp bulb electrical jumper harness as needed.

Tail Lamp Replacement Acadia


Object Number: 1847024  Size: SF

Callout

Component Name

Preliminary Procedure

Open the lift gate in order to access the tail lamp access hole covers.

1

Tail Lamp Access Hole Cover (Qty: 2)

Tip
Use a small flat bladed tool in order to remove the covers.

2

Tail Lamp Screw (Qty: 2)

Caution: Refer to Fastener Caution in the Preface section.

Tighten
3 N·m (27 lb in)

3

Tail Lamp Assembly

Tip
Disconnect the electrical connector prior to removing the tail lamp from the rear body panel.

4

Tail Lamp Filler Panel Nut

Tip
Inspect the nuts, replace if damaged.

Tail Lamp Replacement Enclave


Object Number: 1847024  Size: SF

Callout

Component Name

Preliminary Procedure

Open the lift gate in order to access the tail lamp access hinged hole covers.

1

Tail Lamp Access Hinged Hole Cover (Qty: 2)

Procedure

Use a small flat bladed tool at the topside of the covers in order to release and open the hinged covers.

2

Tail Lamp Screw (Qty: 2)

Caution: Refer to Fastener Caution in the Preface section.

Tighten
3 N·m (27 lb in)

3

Tail Lamp Assembly

Procedure

  1. Firmly hold the lamp assembly and with a quick jerk, disengage the locator pin from the rear body panel retainer.
  2. Disconnect the electrical connector at the tail lamp prior to removing the tail lamp from the rear body panel.

4

Tail Lamp Filler Panel Nuts

Tip
Inspect the filler panel nuts, replace if damaged.

Tail Lamp Replacement OUTLOOK


Object Number: 1847023  Size: SF

Callout

Component Name

Preliminary Procedure

Open the lift gate in order to access the tail lamp access hole covers.

1

Tail Lamp Access Hole Cover (Qty: 2)

Procedure

Use a small flat-bladed tool in order to remove the covers.

2

Tail Lamp Screw (Qty: 2)

Caution: Refer to Fastener Caution in the Preface section.

Tighten
3 N·m (27 lb in)

3

Tail Lamp Wiring Harness Connector

Procedure

Disconnect the harness prior to removing the lamp assembly.

4

Tail Lamp Assembly

Tip
Transfer the turn signal and side marker lamp bulbs as needed.