GM Service Manual Online
For 1990-2009 cars only

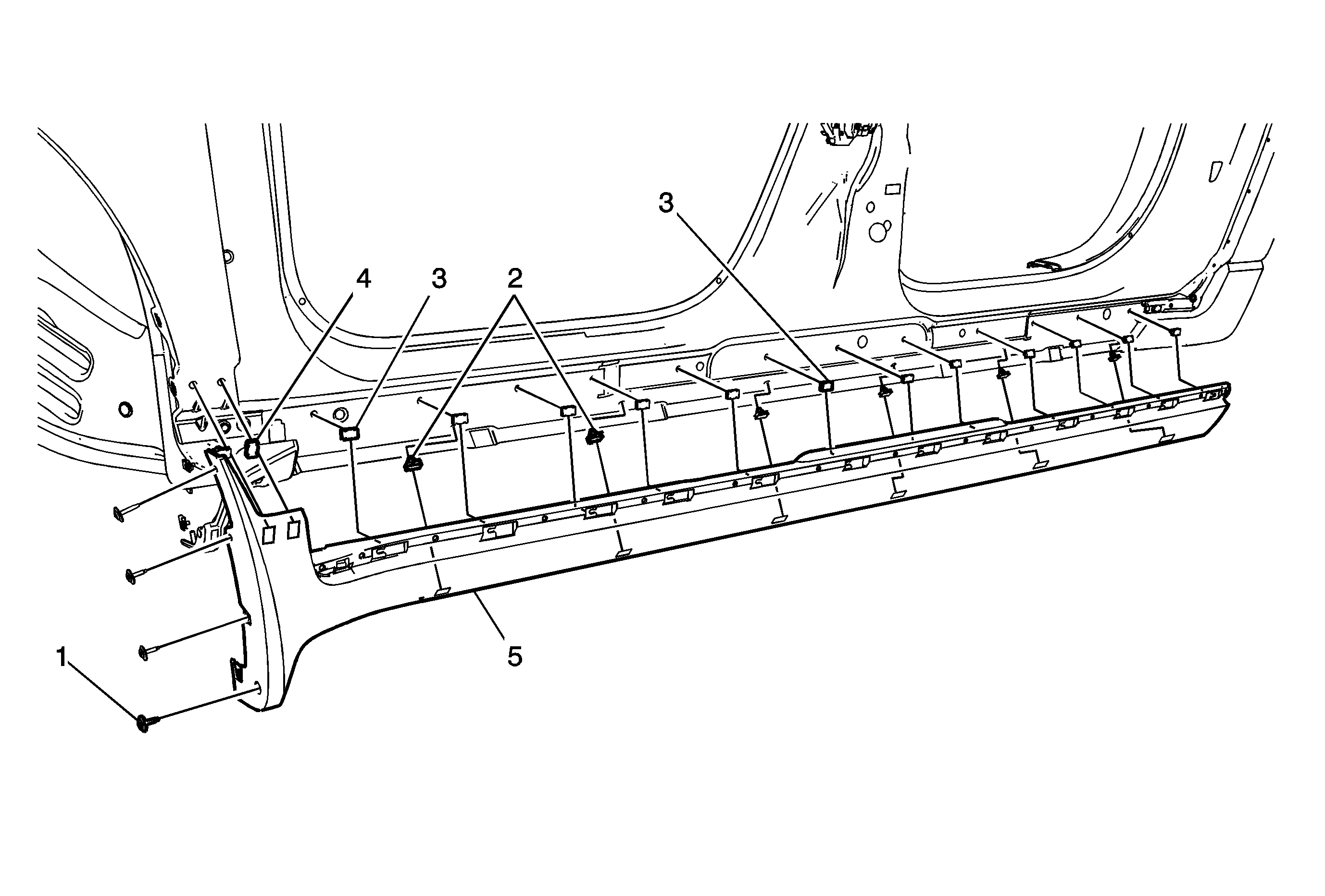
Rocker Panel Front Molding Replacement Traverse


Object Number: 2076926  Size: MF

Callout

Component Name

Preliminary Procedure

  1. Remove the front wheelhouse rear liner in order to access the upper front rocker panel molding screw. Refer to Front Wheelhouse Rear Liner Replacement.
  2. Open both side doors in order to remove the rocker panel front molding assembly.
  3. Disengage the last rear front and rear side door weatherstrip clip from the rear rocker molding.

1

Rocker Panel Finish Panel Screw (Qty: 4)

Caution: Refer to Fastener Caution in the Preface section.

Tighten
1.5 N·m (13 lb in)

2

Lower W-clip (Qty: 6)

Tip
Use a suitable retainer release tool to disengage the w-clips from the lower rocker panel

3

Upper W-clip (Qty: 12)

4

Fender W-clip (Qty2)

5

Rocker Panel Front Molding

Tip
Release the front rocker panel molding from the forward edge of the rear rocker molding.

Rocker Panel Front Molding Replacement Acadia


Object Number: 1862534  Size: MF

Callout

Component Name

Preliminary Procedure

Open both side doors in order to remove the rocker panel front molding assembly.

1

Rocker Panel Finish Panel Screw (Qty: 3)

Caution: Refer to Fastener Caution in the Preface section.

Procedure

  1. Remove the rocker panel rear molding assembly.
  2. Remove the 3 front finish panel screws.
  3. Release the 6 lower rocker molding retainers.
  4. Release the 12 upper rocker molding retainers.

Tighten
1.5 N·m (13 lb in)

2

Rocker Panel Rear Molding Retainer (Qty: 18)

3

Rocker Panel Front Molding Assembly

Tip
Replace the retainer clips as needed.

Rocker Panel Front Molding Replacement OUTLOOK


Object Number: 1861564  Size: MF

Callout

Component Name

Preliminary Procedure

Open both side doors in order to remove the rocker panel front molding assembly.

1

Rocker Panel Finish Panel Screw (Qty: 3)

Caution: Refer to Fastener Caution in the Preface section.

Procedure

  1. Remove the rocker panel rear molding assembly.
  2. Remove the 3 front finish panel screws.
  3. Release the 7 lower rocker molding retainers.
  4. Release the 12 upper retainers.

Tighten
1.5 N·m (13 lb in)

2

Rocker Panel Rear Molding Assembly

Tighten
1.5 N·m (13 lb in)

3

Rocker Panel Front Molding Assembly

Tip
Replace the retainer clips as needed.