GM Service Manual Online
For 1990-2009 cars only

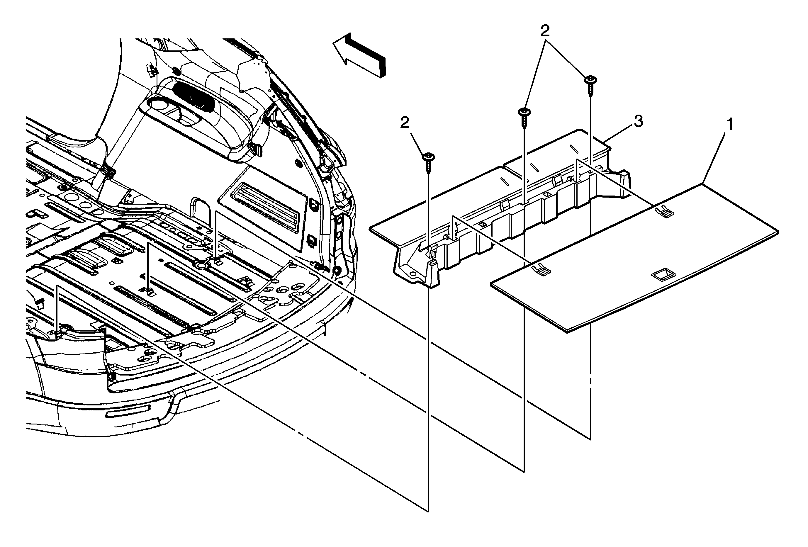
Object Number: 2159392  Size: MF

Callout

Component Name

1

Cargo Box Stowage Box Lid Assembly

2

Rear Compartment Floor Stowage Compartment Fasteners

3

Rear Compartment Floor Stowage Compartment Assembly