|
|
Connector Part Information
| Connector Part Information
|
Terminal Part Information
| Terminal Part Information
|
Pin | Wire | Circuit | Function | Pin | Wire | Circuit | Function |
|---|---|---|---|---|---|---|---|
A | 0.35 PU | 1589 | Fuel Level Sensor Signal | A | 0.5 PU | 1589 | Fuel Level Sensor Signal |
B | 0.35 TN | 2759 | Low Reference | B | 0.5 TN | 2759 | Low Reference |
C | 0.5 BN | 882 | Right Rear Wheel Speed Sensor Signal | C | 0.5 BN | 882 | Right Rear Wheel Speed Sensor Signal |
D | 0.5 WH | 883 | Low Reference | D | 0.5 WH | 883 | Low Reference |
E | 0.5 TN | 884 | Left Rear Wheel Speed Sensor Signal | E | 0.5 TN | 884 | Left Rear Wheel Speed Sensor Signal |
F | 0.5 OG | 885 | Low Reference | F | 0.5 OG | 885 | Low Reference |
G | 0.35 D-GN | 890 | Fuel Tank Pressure Sensor Signal | G | 0.5 D-GN | 890 | Fuel Tank Pressure Sensor Signal |
H | 0.35 GY | 2709 | 5-Volt Reference | H | 0.5 GY | 2709 | 5-Volt Reference |
J | 0.5 L-BU | 2088 | Low Reference | J | 0.5 L-BU | 2088 | Low Reference |
K | 0.5 D-GN | 2087 | 5-Volt Reference | K | 0.5 D-GN | 2087 | 5-Volt Reference |
L | 0.35 D-GN/WH | 465 | Fuel Pump Relay Control | L | 0.35 D-GN/WH | 465 | Fuel Pump Relay Control |
M | 0.35 PK | 439 | Ignition Voltage | M | 0.35 PK | 439 | Ignition Voltage |
N | 1 OG | 1470 | Brake Booster Pump Motor Voltage | N | 1 OG | 1470 | Brake Booster Pump Motor Voltage |
P-S | -- | -- | Not Used | P-S | -- | -- | Not Used |
|
|
Connector Part Information
| Connector Part Information
|
Terminal Part Information
| Terminal Part Information
|
Pin | Wire | Circuit | Function | Pin | Wire | Circuit | Function |
|---|---|---|---|---|---|---|---|
1 | 1 BK | 1350 | Ground | 1 | 1 BK | 1350 | Ground |
2 | 1 L-BU/WH | 1314 | Left Daytime Running Lamp Voltage (T61) | 2 | 0.5 PU | 359 | Left Daytime Running Lamp Voltage (T61) |
3 | 0.5 PU | 34 | Front Fog Lamp Voltage (T96) | 3 | 0.5 PU | 34 | Front Fog Lamp Voltage (T96) |
|
|
Connector Part Information
| Connector Part Information
|
Terminal Part Information
| Terminal Part Information
|
Pin | Wire | Circuit | Function | Pin | Wire | Circuit | Function |
|---|---|---|---|---|---|---|---|
1 | 1 BK | 1350 | Ground | 1 | 1 BK | 1250 | Ground |
2 | 1 D-BU/WH | 1315 | Right Daytime Running Lamp Voltage (T61) | 2 | 0.35 PU | 359 | Right Daytime Running Lamp Voltage (T61) |
3 | 0.5 PU | 34 | Front Fog Lamp Voltage (T96) | 3 | 0.5 PU | 34 | Front Fog Lamp Voltage (T96) |
|
|
Connector Part Information
| Connector Part Information
|
Terminal Part Information
| Terminal Part Information
|
Pin | Wire | Circuit | Function | Pin | Wire | Circuit | Function |
|---|---|---|---|---|---|---|---|
1 | 5 RD/WH | 1440 | Battery Positive Voltage | 1 | 5 RD/WH | 1440 | Battery Positive Voltage |
|
|
Connector Part Information
| Connector Part Information
|
Terminal Part Information
| Terminal Part Information
|
Pin | Wire | Circuit | Function | Pin | Wire | Circuit | Function |
|---|---|---|---|---|---|---|---|
A | 0.5 D-BU | 1161 | APP Sensor 1 Signal | A | 0.35 D-BU | 1161 | APP Sensor 1 Signal |
B | 0.5 L-BU | 1162 | APP Sensor 2 Signal | B | 0.35 L-BU | 1162 | APP Sensor 2 Signal |
C | 0.5 WH/BK | 1164 | 5-Volt Reference | C | 0.35 WH/BK | 1164 | 5-Volt Reference |
D | 0.5 BN | 1271 | Low Reference | D | 0.35 BN | 1271 | Low Reference |
E | 0.5 PU | 1272 | Low Reference | E | 0.35 PU | 1272 | Low Reference |
F | 1 PU | 92 | Windshield Wiper Motor High Speed | F | 1 PU | 92 | Windshield Wiper Motor High Speed |
G | 1 D-GN | 95 | Windshield Washer Switch Signal | G | 1 D-GN | 95 | Windshield Washer Switch Signal |
H | 0.5 TN | 1274 | 5-Volt Reference | H | 0.35 TN | 1274 | 5-Volt Reference |
J | 0.5 TN/BK | 2500 | High Speed GMLAN Serial Data Bus+ | J | 0.35 TN/BK | 2500 | High Speed GMLAN Serial Data Bus+ |
K | 0.5 TN | 2501 | High Speed GMLAN Serial Data Bus- | K | 0.35 TN | 2501 | High Speed GMLAN Serial Data Bus- |
L | 0.5 BN/WH | 419 | MIL Control | L | 0.35 BN/WH | 419 | MIL Control |
M | 1 BK | 1650 | Ground | M | 1 BK | 1650 | Ground |
N | 0.5 TN/WH | 6433 | CAN Bus High Serial Data | N | 0.5 TN/WH | 6433 | CAN Bus High Serial Data |
P | 0.5 L-GN/BK | 6432 | CAN Bus Low Serial Data | P | 0.5 L-GN/BK | 6432 | CAN Bus Low Serial Data |
R | 0.5 D-GN/WH | 817 | Vehicle Speed Signal (U3R or UVB or UZR) | R | 0.5 D-GN/WH | 817 | Vehicle Speed Signal (U3R or UVB or UZR) |
S | 0.5 L-BU | 5986 | Communication Enable | S | 0.35 L-BU | 5986 | Communication Enable |
|
|
Connector Part Information
| Connector Part Information
|
Terminal Part Information
| Terminal Part Information
|
Pin | Wire | Circuit | Function | Pin | Wire | Circuit | Function |
|---|---|---|---|---|---|---|---|
1 | 0.5 TN/BK | 2500 | High Speed GMLAN Serial Data Bus+ | 1 | 0.5 TN/BK | 2500 | High Speed GMLAN Serial Data Bus+ |
2 | 0.5 TN | 2501 | High Speed GMLAN Serial Data Bus- | 2 | 0.5 TN | 2501 | High Speed GMLAN Serial Data Bus- |
3 | 0.5 TN/BK | 2500 | High Speed GMLAN Serial Data Bus+ | 3 | 0.5 TN/BK | 2500 | High Speed GMLAN Serial Data Bus+ |
4 | 0.5 TN | 2501 | High Speed GMLAN Serial Data Bus- | 4 | 0.5 TN | 2501 | High Speed GMLAN Serial Data Bus- |
5 | 0.5 L-BU | 5986 | Communication Enable | 5 | 0.5 L-BU | 5986 | Communication Enable |
6 | 0.5 RD/WH | 4440 | Battery Positive Voltage | 6 | 0.5 RD/WH | 4440 | Battery Positive Voltage |
|
|
Connector Part Information
| Connector Part Information
|
Terminal Part Information
| Terminal Part Information
|
Pin | Wire | Circuit | Function | Pin | Wire | Circuit | Function |
|---|---|---|---|---|---|---|---|
1 | 1 D-BU | 4802 | Direct Fuel Injector (DFI) High Voltage Control Cylinder 2 | 1 | 1 TN | 4802 | Direct Fuel Injector (DFI) High Voltage Control Cylinder 2 |
2 | 1 D-BU/WH | 4902 | Direct Fuel Injector (DFI) High Voltage Cylinder 2 | 2 | 1 BK | 4902 | Direct Fuel Injector (DFI) High Voltage Cylinder 2 |
3 | 1 L-BU | 4804 | Direct Fuel Injector (DFI) High Voltage Control Cylinder 4 | 3 | 1 TN | 4804 | Direct Fuel Injector (DFI) High Voltage Control Cylinder 4 |
4 | 1 L-BU/WH | 4904 | Direct Fuel Injector (DFI) High Voltage Cylinder 4 | 4 | 1 BK | 4904 | Direct Fuel Injector (DFI) High Voltage Cylinder 4 |
5 | 1 PU | 4806 | Direct Fuel Injector (DFI) High Voltage Control Cylinder 6 | 5 | 1 TN | 4806 | Direct Fuel Injector (DFI) High Voltage Control Cylinder 6 |
6 | 1 PU/WH | 4906 | Direct Fuel Injector (DFI) High Voltage Cylinder 6 | 6 | 1 BK | 4906 | Direct Fuel Injector (DFI) High Voltage Cylinder 6 |
|
|
Connector Part Information
| Connector Part Information
|
Terminal Part Information
| Terminal Part Information
|
Pin | Wire | Circuit | Function | Pin | Wire | Circuit | Function |
|---|---|---|---|---|---|---|---|
1 | -- | -- | Not Used | 1 | -- | -- | Not Used |
2 | 1 BN | 4801 | Direct Fuel Injector (DFI) High Voltage Control Cylinder 1 | 2 | 1 TN | 4801 | Direct Fuel Injector (DFI) High Voltage Control Cylinder 1 |
3 | 1 D-GN | 4803 | Direct Fuel Injector (DFI) High Voltage Control Cylinder 3 | 3 | 1 TN | 4803 | Direct Fuel Injector (DFI) High Voltage Control Cylinder 3 |
4 | 1 L-GN | 4805 | Direct Fuel Injector (DFI) High Voltage Control Cylinder 5 | 4 | 1 TN | 4805 | Direct Fuel Injector (DFI) High Voltage Control Cylinder 5 |
5 | 0.5 TN | 808 | Low Reference | 5 | 0.5 L-BU | 808 | Low Reference |
6-7 | -- | -- | Not Used | 6-7 | -- | -- | Not Used |
8 | 1 BN/WH | 4901 | Direct Fuel Injector (DFI) High Voltage Cylinder 1 | 8 | 1 BK | 4901 | Direct Fuel Injector (DFI) High Voltage Cylinder 1 |
9 | 1 D-GN/WH | 4903 | Direct Fuel Injector (DFI) High Voltage Cylinder 3 | 9 | 1 BK | 4903 | Direct Fuel Injector (DFI) High Voltage Cylinder 3 |
10 | 1 L-GN/WH | 4905 | Direct Fuel Injector (DFI) High Voltage Cylinder 5 | 10 | 1 BK | 4905 | Direct Fuel Injector (DFI) High Voltage Cylinder 5 |
11 | 0.35 GY | 598 | 5-Volt Reference | 11 | 0.35 WH | 598 | 5-Volt Reference |
12 | 0.5 YE | 2918 | FRP Sensor Signal | 12 | 0.5 BK | 2918 | FRP Sensor Signal |
|
|
Connector Part Information
| Connector Part Information
|
Terminal Part Information
| Terminal Part Information
|
Pin | Wire | Circuit | Function | Pin | Wire | Circuit | Function |
|---|---|---|---|---|---|---|---|
1 | 0.35 D-GN | 1409 | Discriminating Sensor - Right - Signal | 1 | 0.35 D-GN | 1409 | Discriminating Sensor - Right - Signal |
2 | 0.35 GY | 5600 | Low Reference | 2 | 0.35 GY | 5600 | Low Reference |
3 | 0.35 YE | 61 | Low Reference | 3 | 0.35 YE | 61 | Low Reference |
4 | 0.35 L-GN/BK | 735 | Ambient Air Temperature Sensor Signal | 4 | 0.35 L-GN/BK | 735 | Ambient Air Temperature Sensor Signal |
5 | 0.35 YE | 354 | Discriminating Sensor - Signal | 5 | 0.35 YE | 354 | Discriminating Sensor - Signal |
6 | 0.35 TN/OG | 5045 | Front End Sensor - Signal | 6 | 0.35 TN/OG | 5045 | Front End Sensor - Signal |
7 | -- | -- | Not Used | 7 | -- | -- | Not Used |
8 | 3 RD | 1342 | Battery Positive Voltage (TB5) | 8 | 2 RD/BK | 1342 | Battery Positive Voltage (TB5) |
|
|
Connector Part Information
| Connector Part Information
|
Terminal Part Information
| Terminal Part Information
|
Pin | Wire | Circuit | Function | Pin | Wire | Circuit | Function |
|---|---|---|---|---|---|---|---|
A | 0.5 D-BU/WH | 1315 | Right Turn Lamp Voltage | A | 0.8 GN | -- | Right Turn Lamp Voltage |
B | 0.5 BK | 1250 | Ground | B | 0.8 BK | -- | Ground |
C | 0.5 BN/WH | 309 | Right Park Lamp Voltage | C | 0.8 RD | -- | Right Park Lamp Voltage |
|
|
Connector Part Information
| Connector Part Information
|
Terminal Part Information
| Terminal Part Information
|
Pin | Wire | Circuit | Function | Pin | Wire | Circuit | Function |
|---|---|---|---|---|---|---|---|
A | 0.5 L-BU/WH | 1314 | Left Turn Lamp Voltage | A | 0.8 GN | -- | Left Turn Lamp Voltage |
B | 0.5 BK | 1350 | Ground | B | 0.8 BK | -- | Ground |
C | 0.5 PU/WH | 709 | Left Park Lamp Voltage | C | 0.8 RD | -- | Left Park Lamp Voltage |
|
|
Connector Part Information
| Connector Part Information
|
Terminal Part Information
| Terminal Part Information
|
Pin | Wire | Circuit | Function | Pin | Wire | Circuit | Function |
|---|---|---|---|---|---|---|---|
A | 0.5 D-BU/WH | 1315 | Right Turn Signal Indicator Lamp Voltage | A | 0.8 GN | -- | Right Turn Signal Indicator Lamp Voltage |
B | 0.5 BN/WH | 309 | Right Park Lamp Voltage | B | 0.5 BU | -- | Right Park Lamp Voltage |
C | 1 TN/WH | 312 | Right Headlamp Low Beam Voltage | C | 0.8 PU | -- | Right Headlamp Low Beam Voltage |
D | 0.5 BK | 1250 | Ground | D | 1 BK | -- | Ground |
E | 0.5 L-GN/BK | 311 | Right Headlamp High Beam Voltage | E | 0.35 GY | -- | Right Headlamp High Beam Voltage |
|
|
Connector Part Information
| Connector Part Information
|
Terminal Part Information
| Terminal Part Information
|
Pin | Wire | Circuit | Function | Pin | Wire | Circuit | Function |
|---|---|---|---|---|---|---|---|
A | 0.5 RD/BU | 7308 | Battery Positive Voltage | A | 0.35 RD | -- | Battery Positive Voltage |
B | 0.5 RD/WH | 4440 | Battery Positive Voltage | B | 0.5 RD | -- | Battery Positive Voltage |
C | 1 TN/WH | 312 | Right Headlamp Low Beam Voltage | C | 0.8 PU | -- | Right Headlamp Low Beam Voltage |
D | 0.5 L-GN/BK | 311 | Right Headlamp High Beam Voltage | D | 0.35 GY | -- | Right Headlamp High Beam Voltage |
E | 0.5 TN | 2501 | High Speed GMLAN Serial Data Bus- | E | 0.35 WH | -- | High Speed GMLAN Serial Data Bus- |
F | 0.5 TN/BK | 2500 | High Speed GMLAN Serial Data Bus+ | F | 0.35 YE | -- | High Speed GMLAN Serial Data Bus+ |
G | 0.5 BK | 1250 | Ground | G | 0.5 BK | -- | Ground |
H | 0.5 L-GN/BK | 1315 | Right Turn Signal Indicator Lamp Voltage | H | 0.8 GN | -- | Right Turn Signal Indicator Lamp Voltage |
J | 0.5 PU | 309 | Right Turn Signal Indicator Lamp Voltage | J | 0.5 BU | -- | Right Turn Signal Indicator Lamp Voltage |
K | 0.5 L-BU | 5986 | Communication Enable | K | 0.35 RD | -- | Communication Enable |
L | 0.35 D-GN | 6134 | Linear Interconnect Network (LIN) | L | 0.35 OG | -- | Linear Interconnect Network (LIN) |
M-N | -- | -- | Not Used | M-N | -- | -- | Not Used |
P | 0.5 BK | 1250 | Ground | P | 1 BK | -- | Ground |
|
|
Connector Part Information
| Connector Part Information
|
Terminal Part Information
| Terminal Part Information
|
Pin | Wire | Circuit | Function | Pin | Wire | Circuit | Function |
|---|---|---|---|---|---|---|---|
A | 0.5 BK | 1250 | Ground | A | 0.5 BK | -- | Ground |
B | 0.5 BN/WH | 309 | Right Turn Signal Indicator Lamp Voltage | B | 0.5 PU | -- | Right Park Lamp Voltage |
C | 0.5 BK | 1250 | Ground | C | 0.5 BK | -- | Ground |
D | 0.5 PU | 359 | DRL Voltage | D | 0.5 PU | -- | DRL Voltage |
E | 0.5 L-GN/BK | 311 | Right Headlamp High Beam Voltage | E | 0.5 GN/WH | -- | Right Headlamp High Beam Voltage |
F | 0.5 BK | 1250 | Ground | F | -- | -- | Not Used |
G | 1 TN/WH | 312 | Right Headlamp Low Beam Voltage | G | 0.8 YE | -- | Right Headlamp Low Beam Voltage |
H | 1 BK | 1250 | Ground | H | 0.8 BK | -- | Ground |
|
|
Connector Part Information
| Connector Part Information
|
Terminal Part Information
| Terminal Part Information
|
Pin | Wire | Circuit | Function | Pin | Wire | Circuit | Function |
|---|---|---|---|---|---|---|---|
A | 0.5 L-GN/BK | 311 | Right Headlamp High Beam Voltage | A | 0.5 GN/WH | -- | Right Headlamp High Beam Voltage |
B | 0.5 TN/WH | 312 | Right Headlamp Low Beam Voltage | B | 0.5 YE | -- | Right Headlamp Low Beam Voltage |
C | 0.5 BK | 1250 | Ground | C | 0.5 BK | -- | Ground |
D | 0.5 BK | 1250 | Ground | D | 0.5 BK | -- | Ground |
E | 0.5 BK | 1250 | Ground | E | 0.5 BK | -- | Ground |
F | 0.5 BN/WH | 309 | Right Park Lamp Voltage | F | 0.5 PU | -- | Right Park Lamp Voltage |
|
|
Connector Part Information
| Connector Part Information
|
Terminal Part Information
| Terminal Part Information
|
Pin | Wire | Circuit | Function | Pin | Wire | Circuit | Function |
|---|---|---|---|---|---|---|---|
A | 0.5 L-GN/BK | 311 | Right Headlamp High Beam Voltage | A | 1.25 BK | -- | Right Headlamp High Beam Voltage |
B | 0.5 BK | 1250 | Ground | B | 1.25 BK | -- | Ground |
C | 0.5 TN/WH | 312 | Right Headlamp Low Beam Voltage | C | 1.25 RD | -- | Right Headlamp Low Beam Voltage |
D | 0.5 BK | 1250 | Ground | D | 1.25 RD | -- | Ground |
|
|
Connector Part Information
| Connector Part Information
|
Terminal Part Information
| Terminal Part Information
|
Pin | Wire | Circuit | Function | Pin | Wire | Circuit | Function |
|---|---|---|---|---|---|---|---|
A | 0.5 L-GN/BK | 311 | Right Headlamp High Beam Voltage | A | 1.5 WH | -- | Right Headlamp High Beam Voltage |
B | 0.5 TN/WH | 312 | Right Headlamp Low Beam Voltage | B | 1.5 RD | -- | Right Headlamp Low Beam Voltage |
C | 0.5 BN/WH | 309 | Right Park Lamp Voltage | C | 0.8 BU | -- | Right Park Lamp Voltage |
D | 0.5 D-BU/WH | 1315 | Right Turn Signal Indicator Lamp Voltage | D | 0.8 YE | -- | Right Turn Signal Indicator Lamp Voltage |
E | 0.5 BK | 1250 | Ground | E | 2 BK | -- | Ground |
F | -- | -- | Not Used | F | -- | -- | Not Used |
|
|
Connector Part Information
| Connector Part Information
|
Terminal Part Information
| Terminal Part Information
|
Pin | Wire | Circuit | Function | Pin | Wire | Circuit | Function |
|---|---|---|---|---|---|---|---|
1 | 1.5 WH | -- | Right Headlamp High Beam Voltage | 1 | 0.5 L-GN/BK | 311 | Right Headlamp High Beam Voltage |
2 | 0.8 RD | -- | Right Headlamp Low Beam Voltage | 2 | 1 TN/WH | 312 | Right Headlamp Low Beam Voltage |
3 | 0.8 YE | -- | Right Turn Signal Indicator Lamp Voltage | 3 | 0.5 D-BU/WH | 1315 | Right Turn Signal Indicator Lamp Voltage |
4 | 0.8 BU | -- | Right Park Lamp Voltage | 4 | 0.5 BN/WH | 309 | Right Park Lamp Voltage |
5 | 0.8 OG | -- | Right DRL/Turn Voltage | 5 | 0.5 D-GN | 5365 | Right DRL/Turn Voltage |
6 | 2 BK | -- | Ground | 6 | 0.5 BK | 1250 | Ground |
7-8 | -- | -- | Not Used | 7-8 | -- | -- | Not Used |
|
|
Connector Part Information
| Connector Part Information
|
Terminal Part Information
| Terminal Part Information
|
Pin | Wire | Circuit | Function | Pin | Wire | Circuit | Function |
|---|---|---|---|---|---|---|---|
A | 0.5 L-BU/WH | 1314 | Left Turn Signal Indicator Lamp Voltage | A | 0.8 GN | -- | Left Turn Signal Indicator Lamp Voltage |
B | 0.5 PU | 709 | Left Park Lamp Voltage | B | 0.5 BU | -- | Left Park Lamp Voltage |
C | 1 YE | 712 | Left Headlamp Low Beam Voltage | C | 0.8 PU | -- | Left Headlamp Low Beam Voltage |
D | 0.5 BK | 1350 | Ground | D | 1 BK | -- | Ground |
E | 0.5 D-GN/WH | 711 | Left Headlamp High Beam Voltage | E | 0.35 GY | -- | Left Headlamp High Beam Voltage |
|
|
Connector Part Information
| Connector Part Information
|
Terminal Part Information
| Terminal Part Information
|
Pin | Wire | Circuit | Function | Pin | Wire | Circuit | Function |
|---|---|---|---|---|---|---|---|
A | 0.5 RD/BU | 7308 | Battery Positive Voltage | A | 0.35 RD | -- | Battery Positive Voltage |
B | 1 YE | 712 | Left Headlamp Low Beam Voltage | B | 0.8 PU | -- | Left Headlamp Low Beam Voltage |
C | 0.5 PU | 709 | Left Turn Signal Indicator Lamp Voltage | C | 0.5 BU | -- | Left Turn Signal Indicator Lamp Voltage |
D | 0.5 BK | 1350 | Ground | D | 0.35 BK | -- | Ground |
E | 1 BK | 1350 | Ground | E | 1 BK | -- | Ground |
F | 0.35 D-GN | 6134 | Linear Interconnect Network (LIN) | F | 0.35 OG | -- | Linear Interconnect Network (LIN) |
G | 0.5 D-GN/WH | 1314 | Left Turn Signal Indicator Lamp Voltage | G | 0.8 GN | -- | Left Turn Signal Indicator Lamp Voltage |
H | 0.5 D-GN/WH | 711 | Left Headlamp High Beam Voltage | H | 0.35 GY | -- | Left Headlamp High Beam Voltage |
|
|
Connector Part Information
| Connector Part Information
|
Terminal Part Information
| Terminal Part Information
|
Pin | Wire | Circuit | Function | Pin | Wire | Circuit | Function |
|---|---|---|---|---|---|---|---|
A | 0.5 BK | 1350 | Ground | A | 0.5 BK | -- | Ground |
B | 0.5 PU | 709 | Left Park Lamp Voltage | B | 0.5 PU | -- | Left Park Lamp Voltage |
C | 0.5 BK | 1350 | Ground | C | 0.5 BK | -- | Ground |
D | 0.5 PU | 359 | DRL Voltage | D | 0.5 PU | -- | DRL Voltage |
E | 0.5 D-GN/WH | 711 | Left Headlamp High Beam Voltage | E | 0.5 GN/WH | -- | Left Headlamp High Beam Voltage |
F | 0.5 BK | 1350 | Ground | F | -- | -- | Not Used |
G | 1 YE | 712 | Left Headlamp Low Beam Voltage | G | 0.8 YE | -- | Left Headlamp Low Beam Voltage |
H | 1 BK | 1350 | Ground | H | 0.8 BK | -- | Ground |
|
|
Connector Part Information
| Connector Part Information
|
Terminal Part Information
| Terminal Part Information
|
Pin | Wire | Circuit | Function | Pin | Wire | Circuit | Function |
|---|---|---|---|---|---|---|---|
A | 0.5 D-GN/WH | 711 | Left Headlamp High Beam Voltage | A | 0.5 GN/WH | -- | Left Headlamp High Beam Voltage |
B | 0.5 YE | 712 | Left Headlamp Low Beam Voltage | B | 0.5 YE | -- | Left Headlamp Low Beam Voltage |
C | 0.5 BK | 1350 | Ground | C | 0.5 BK | -- | Ground |
D | 0.5 BK | 1350 | Ground | D | 0.5 BK | -- | Ground |
E | 0.5 BK | 1350 | Ground | E | 0.5 BK | -- | Ground |
F | 0.5 PU | 709 | Left Park Lamp Voltage | F | 0.5 PU | -- | Left Park Lamp Voltage |
|
|
Connector Part Information
| Connector Part Information
|
Terminal Part Information
| Terminal Part Information
|
Pin | Wire | Circuit | Function | Pin | Wire | Circuit | Function |
|---|---|---|---|---|---|---|---|
A | 0.5 D-GN/WH | 711 | Left Headlamp High Beam Voltage | A | 1.25 BK | -- | Left Headlamp High Beam Voltage |
B | 0.5 BK | 1350 | Ground | B | 1.25 BK | -- | Ground |
C | 0.5 YE | 712 | Left Headlamp Low Beam Voltage | C | 1.25 RD | -- | Left Headlamp Low Beam Voltage |
D | 0.5 BK | 1350 | Ground | D | 1.25 RD | -- | Ground |
|
|
Connector Part Information
| Connector Part Information
|
Terminal Part Information
| Terminal Part Information
|
Pin | Wire | Circuit | Function | Pin | Wire | Circuit | Function |
|---|---|---|---|---|---|---|---|
A | 0.5 D-GN/WH | 711 | Left Headlamp High Beam Voltage | A | 1.5 WH | -- | Left Headlamp High Beam Voltage |
B | 0.8 YE | 712 | Left Headlamp Low Beam Voltage | B | 1.5 RD | -- | Left Headlamp Low Beam Voltage |
C | 0.5 PU | 709 | Left Park Lamp Voltage | C | 0.8 BU | -- | Left Park Lamp Voltage |
D | 0.5 L-BU/WH | 1314 | Left Turn Signal Indicator Lamp Voltage | D | 0.8 YE | -- | Left Turn Signal Indicator Lamp Voltage |
E | 0.5 BK | 1350 | Ground | E | 2 BK | -- | Ground |
F | -- | -- | Not Used | F | -- | -- | Not Used |
|
|
Connector Part Information
| Connector Part Information
|
Terminal Part Information
| Terminal Part Information
|
Pin | Wire | Circuit | Function | Pin | Wire | Circuit | Function |
|---|---|---|---|---|---|---|---|
1 | 1.5 WH | -- | Left Headlamp High Beam Voltage | 1 | 0.5 D-GN/WH | 711 | Left Headlamp High Beam Voltage |
2 | 0.8 RD | -- | Left Headlamp Low Beam Voltage | 2 | 1 YE | 712 | Left Headlamp Low Beam Voltage |
3 | 0.8 YE | -- | Left Turn Signal Indicator Lamp Voltage | 3 | 0.5 L-BU/WH | 1314 | Left Turn Signal Indicator Lamp Voltage |
4 | 0.8 BU | -- | Left Park Lamp Voltage | 4 | 0.5 PU | 709 | Left Park Lamp Voltage |
5 | 0.8 OG | -- | Left DRL/Turn Voltage | 5 | 0.5 D-BU | 5364 | Left DRL/Turn Voltage |
6 | 2 BK | -- | Ground | 6 | 0.5 BK | 1350 | Ground |
7-8 | -- | -- | Not Used | 7-8 | -- | -- | Not Used |
|
|
Connector Part Information
| Connector Part Information
|
Terminal Part Information
| Terminal Part Information
|
Pin | Wire | Circuit | Function | Pin | Wire | Circuit | Function |
|---|---|---|---|---|---|---|---|
1 | 2 RD/WH | 2040 | Battery Positive Voltage (UQA or UQS) | 1 | 2 RD/WH | 2040 | Battery Positive Voltage (UQA or UQS) |
2 | 0.35 TN | 185 | Low Washer Fluid Indicator Control | 2 | 0.35 TN | 185 | Low Washer Fluid Indicator Control |
3 | 0.8 D-GN | 117 | Right Front Speaker Output (-) | 3 | 0.8 D-GN | 117 | Right Front Speaker Output (-) (UQA or UQS) |
0.5 D-GN | 117 | Right Front Speaker Output (-) (UQF) | |||||
4 | 0.8 L-GN | 200 | Right Front Speaker Output (+) | 4 | 0.8 L-GN | 200 | Right Front Speaker Output (+) (UQA or UQS) |
0.5 L-GN | 200 | Right Front Speaker Output (+) (UQF) | |||||
5 | 1 BK | 750 | Ground | 5 | 0.8 BK | 750 | Ground |
6 | 0.5 L-BU | 2088 | Low Reference | 6 | 0.5 L-BU | 2088 | Low Reference |
7 | 3 BK/WH | 351 | Ground (UQA or UQS) | 7 | 3 BK/WH | 351 | Ground (UQA or UQS) |
8 | 0.8 OG | 1732 | Courtesy Lamps Voltage | 8 | 0.8 OG | 1732 | Courtesy Lamps Voltage |
9 | 0.8 L-BU | 115 | Right Rear Speaker Output (-) (UQA or UQS) | 9 | 0.8 L-BU | 115 | Right Rear Speaker Output (-) (UQA or UQS) |
0.5 L-BU | 115 | Right Rear Speaker Output (-) (UQF) | 0.5 L-BU | 115 | Right Rear Speaker Output (-) (UQF) | ||
10 | 0.8 D-BU | 46 | Right Rear Speaker Output (+) (UQA or UQS) | 10 | 0.8 D-BU | 46 | Right Rear Speaker Output (+) (UQA or UQS) |
0.5 D-BU | 46 | Right Rear Speaker Output (+) (UQF) | 0.5 D-BU | 46 | Right Rear Speaker Output (+) (UQF) | ||
11 | 0.35 D-GN | 5060 | Low Speed GMLAN Serial Data (AXC or AXE) | 11 | 0.35 D-GN | 5060 | Low Speed GMLAN Serial Data (AXC or AXE) |
12 | 0.5 D-GN | 2087 | 5-Volt Reference | 12 | 0.5 D-GN | 2087 | 5-Volt Reference |
13 | -- | -- | Not Used | 13 | -- | -- | Not Used |
14 | 2 BK/WH | 351 | Ground | 14 | 1 BK/WH | 351 | Ground |
|
|
Connector Part Information
| Connector Part Information
|
Terminal Part Information
| Terminal Part Information
|
Pin | Wire | Circuit | Function | Pin | Wire | Circuit | Function |
|---|---|---|---|---|---|---|---|
1 | 1 OG | 2098 | Steering Column Telescope Motor Forward (N38) | 1 | 1 OG | 2098 | Steering Column Telescope Motor Forward (N38) |
2 | -- | -- | Not Used | 2 | -- | -- | Not Used |
3 | 1 TN | 2110 | Steering Column Telescope Motor Control - Reverse (N38) | 3 | 1 TN | 2110 | Steering Column Telescope Motor Control - Reverse (N38) |
4 | -- | -- | Not Used | 4 | -- | -- | Not Used |
5 | 1 PK | 2111 | Steering Column Tilt Motor Control - Up (N38) | 5 | 1 PK | 2111 | Steering Column Tilt Motor Control - Up (N38) |
6 | -- | -- | Not Used | 6 | -- | -- | Not Used |
7 | 1 BN | 2112 | Steering Column Tilt Motor Control - Down (N38) | 7 | 1 BN | 2112 | Steering Column Tilt Motor Control - Down (N38) |
8 | 0.35 RD/WH | 1040 | Battery Positive Voltage | 8 | 0.35 RD/WH | 1040 | Battery Positive Voltage |
9 | 0.35 PU/WH | 7005 | LED Dimming Signal | 9 | 0.35 PU/WH | 7005 | LED Dimming Signal |
10 | 0.5 D-GN | 2087 | 5-Volt Reference | 10 | 0.5 D-GN | 2087 | 5-Volt Reference |
0.5 D-GN | 2087 | 5-Volt Reference | 0.5 D-GN | 2087 | 5-Volt Reference | ||
11 | 0.35 PK | 2094 | Steering Column Tilt and Telescope Forward Switch Signal (N38) | 11 | 0.35 PK | 2094 | Steering Column Tilt and Telescope Forward Switch Signal (N38) |
12 | 0.35 BK | 1450 | Ground | 12 | 0.35 BK | 1450 | Ground |
13 | 0.35 PU | 5526 | Memory Set Switch Signal | 13 | 0.35 PU | 5526 | Memory Set Switch Signal |
14 | 0.35 PU/WH | 1630 | Steering Column Key Cylinder Lock Solenoid Control | 14 | 0.35 PU/WH | 1630 | Steering Column Key Cylinder Lock Solenoid Control |
15 | 0.35 L-BU | 553 | Tow/Haul Switch Signal | 15 | 0.35 L-BU | 553 | Tow/Haul Switch Signal |
16 | -- | -- | Not Used | 16 | -- | -- | Not Used |
17 | 0.35 OG | 2095 | Steering Column Tilt and Telescope Reverse Switch Signal (N38) | 17 | 0.35 OG | 2095 | Steering Column Tilt and Telescope Reverse Switch Signal (N38) |
18 | -- | -- | Not Used | 18 | -- | -- | Not Used |
19 | 0.35 GY | 2096 | Steering Column Tilt and Telescope Up Switch Signal (N38) | 19 | 0.35 GY | 2096 | Steering Column Tilt and Telescope Up Switch Signal (N38) |
20 | 0.35 YE | 2097 | Steering Column Tilt and Telescope Down Switch Signal (N38) | 20 | 0.35 YE | 2097 | Steering Column Tilt and Telescope Down Switch Signal (N38) |
21 | 0.35 RD/WH | 1040 | Battery Positive Voltage | 21 | 0.35 RD/WH | 1040 | Battery Positive Voltage |
22 | 0.35 TN | 2144 | Hazard Switch Signal | 22 | 0.35 TN | 2144 | Hazard Switch Signal |
23 | 0.35 PU | 1375 | 12-Volt Reference | 23 | 0.35 PU | 1375 | 12-Volt Reference |
24 | 0.35 GY | 6206 | Low Reference (N38) | 24 | 0.35 GY | 6206 | Low Reference (N38) |
25 | 0.35 BK/WH | 1551 | Ground | 25 | 0.35 BK/WH | 1551 | Ground |
26 | 0.35 TN | 6207 | 5-Volt Reference (N38) | 26 | 0.35 TN | 6207 | 5-Volt Reference (N38) |
27 | 0.5 L-BU | 2088 | Low Reference | 27 | 0.5 L-BU | 2088 | Low Reference |
0.5 L-BU | 2088 | Low Reference | |||||
28 | 0.35 OG | 2153 | Steering Column Telescope Sensor Signal (N38) | 28 | 0.35 OG | 2153 | Steering Column Telescope Sensor Signal (N38) |
29 | 0.35 TN | 28 | Horn Relay Control | 29 | 0.35 TN | 28 | Horn Relay Control |
30 | 0.35 OG | 2154 | Steering Column Tilt Sensor Signal (N38) | 30 | 0.35 OG | 2154 | Steering Column Tilt Sensor Signal (N38) |
31-35 | -- | -- | Not Used | 32-33 | -- | -- | Not Used |
36 | 0.35 GN/WH | 7158 | Cruise Control Indicator Dimming Signal | 36 | 0.35 GN/WH | 7158 | Cruise Control Indicator Dimming Signal |
37 | 0.5 TN/WH | 6433 | CAN Bus High Serial Data | 37 | 0.5 TN/WH | 6433 | CAN Bus High Serial Data |
0.5 TN/WH | 6433 | CAN Bus High Serial Data | |||||
38 | 0.5 L-GN/BK | 6432 | CAN Bus Low Serial Data | 38 | 0.5 L-GN/BK | 6432 | CAN Bus Low Serial Data |
0.5 L-GN/BK | 6432 | CAN Bus Low Serial Data | |||||
39 | 0.35 L-GN | 1011 | Remote Radio Control Signal (RCA) | 39 | 0.35 L-GN | 1011 | Remote Radio Control Signal (RCA) |
40 | 0.35 PK | 94 | Windshield Washer Switch Signal (XA7) | 40 | 0.35 PK | 94 | Windshield Washer Switch Signal (XA7) |
41 | -- | -- | Not Used | 41 | -- | -- | Not Used |
42 | 0.35 D-GN | 5060 | Low Speed GMLAN Serial Data | 42 | 0.35 D-GN | 5060 | Low Speed GMLAN Serial Data |
43 | 0.5 RD/WH | 2140 | Battery Positive Voltage (N38) | 43 | 0.5 RD/WH | 2140 | Battery Positive Voltage (N38) |
|
|
Connector Part Information
| Connector Part Information
|
Terminal Part Information
| Terminal Part Information
|
Pin | Wire | Circuit | Function | Pin | Wire | Circuit | Function |
|---|---|---|---|---|---|---|---|
1 | 1 BK | 1450 | Ground | 1 | 1 BK | 1450 | Ground |
2 | 0.5 BN | 6555 | Auxiliary Temperature Motor Voltage | 2 | 0.5 BN | 6555 | Auxiliary Temperature Motor Voltage |
3 | 3 BK | 450 | Ground | 3 | 3 BK | 450 | Ground |
4 | -- | -- | Not Used | 4 | -- | -- | Not Used |
5 | 3 RD/BK | 442 | Battery Positive Voltage | 5 | 3 RD/BK | 442 | Battery Positive Voltage |
6 | -- | -- | Not Used | 6 | -- | -- | Not Used |
7 | 0.5 OG | 2615 | Auxiliary Mode Door Control (without UK6) | 7 | 0.5 OG | 2615 | Auxiliary Mode Door Control (without UK6) |
8 | 0.5 GY | 596 | 5-Volt Reference | 8 | 0.5 GY | 596 | 5-Volt Reference |
0.5 GY | 596 | 5-Volt Reference | |||||
9 | 0.5 PK | 2145 | Air Temperature Switch Signal - Right | 9 | 0.5 PK | 2145 | Air Temperature Switch Signal - Right |
10 | -- | -- | Not Used | 10 | -- | -- | Not Used |
11 | 0.5 OG | 2215 | Auxiliary Mode Door Control | 11 | 0.5 OG | 2215 | Auxiliary Mode Door Control |
12 | -- | -- | Not Used | 12 | -- | -- | Not Used |
13 | 0.5 GY | 2599 | Auxiliary Mode Door Control | 13 | 0.5 GY | 2599 | Auxiliary Mode Door Control |
14 | 0.5 L-GN/BK | 6432 | CAN Bus Low Serial Data | 14 | 0.5 L-GN/BK | 6432 | CAN Bus Low Serial Data |
15 | 0.5 TN/WH | 6433 | CAN Bus High Serial Data | 15 | 0.5 TN/WH | 6433 | CAN Bus High Serial Data |
16 | 0.5 TN/WH | 372 | Left Audio Signal (-) (U2K or UBS) | 16 | 0.5 TN/WH | 372 | Left Audio Signal (-) (U2K or UBS) |
17 | 0.5 BN/WH | 367 | Left Audio Signal (+) (U2K or UBS) | 17 | 0.5 BN/WH | 367 | Left Audio Signal (+) (U2K or UBS) |
18 | 0.5 D-GN/WH | 368 | Right Audio Signal (+) (U2K or UBS) | 18 | 0.5 D-GN/WH | 368 | Right Audio Signal (+) (U2K or UBS) |
19 | 0.5 GY | 388 | Right Audio Signal (-) (U2K or UBS) | 19 | 0.5 GY | 388 | Right Audio Signal (-) (U2K or UBS) |
20 | 0.35 L-GN/BK | 735 | Ambient Air Temperature Sensor Signal | 20 | 0.35 L-GN/BK | 735 | Ambient Air Temperature Sensor Signal |
21 | 0.5 L-GN/WH | 5729 | Auxiliary Mode Motor Voltage | 21 | 0.5 L-GN/WH | 5729 | Auxiliary Mode Motor Voltage |
22 | 0.5 GY | 2614 | Auxiliary Air Temperature Door Control | 22 | 0.5 GY | 2614 | Auxiliary Air Temperature Door Control |
23 | 0.5 PU/WH | 760 | Auxiliary Blower Motor Speed Control (without UK6) | 23 | 0.5 PU/WH | 760 | Auxiliary Blower Motor Speed Control (without UK6) |
24 | 0.5 GY/BK | 1798 | Low Reference | 24 | 0.5 GY/BK | 1798 | Low Reference |
0.5 GY/BK | 1798 | Low Reference | |||||
25 | 0.35 YE | 61 | Low Reference | 25 | 0.35 YE | 61 | Low Reference |
26 | 0.8 GY/BK | 690 | Courtesy Lamp High Control | 26 | 0.8 GY/BK | 690 | Courtesy Lamp High Control |
27 | 0.5 L-BU | 2088 | Low Reference | 27 | 0.5 L-BU | 2088 | Low Reference |
28 | 0.5 D-GN | 2087 | 5-Volt Reference | 28 | 0.5 D-GN | 2087 | 5-Volt Reference |
29 | 0.35 WH | 193 | Rear Defog Relay Control | 29 | 0.35 WH | 193 | Rear Defog Relay Control |
30 | 0.35 BARE | 6131 | Drain Wire (U2K or UBS) | 30 | 0.35 BARE | 6131 | Drain Wire (U2K or UBS) |
31 | 0.5 D-GN | 2211 | Auxiliary Blower Motor Speed Control | 31 | 0.5 D-GN | 2211 | Auxiliary Blower Motor Speed Control |
32 | 0.8 BK/WH | 1551 | Ground | 32 | 0.8 BK/WH | 1551 | Ground |
33 | 0.35 BARE | 814 | Drain Wire (UE1) | 33 | 0.35 BARE | 814 | Drain Wire (UE1) |
34 | 0.35 OG/BK | 1406 | Remote Playback Device Left Audio Signal (UE1) | 34 | 0.35 OG/BK | 1406 | Remote Playback Device Left Audio Signal (UE1) |
35 | 0.35 L-BU | 1405 | Remote Playback Device Audio Common Signal (UE1) | 35 | 0.35 L-BU | 1405 | Remote Playback Device Audio Common Signal (UE1) |
36 | 0.35 BARE | 6974 | Drain (UVC without U3R or UZR or UVB) | 36 | 0.35 BARE | 6974 | Drain (UVC without U3R or UZR or UVB) |
37 | 0.35 PK | 6972 | Camera Signal 2 (+) (UVC without U3R or UZR or UVB) | 37 | 0.35 PK | 6972 | Camera Signal 2 (+) (UVC without U3R or UZR or UVB) |
38 | 0.35 L-BU | 6973 | Camera Signal 2 (UVC without U3R or UZR or UVB) | 38 | 0.35 L-BU | 6973 | Camera Signal 2 (UVC without U3R or UZR or UVB) |
39 | 0.35 BN/WH | 1571 | Traction Control Switch Signal | 39 | 0.35 BN/WH | 1571 | Traction Control Switch Signal |
40 | 0.35 PK | 5149 | Voice Recognition Audio Signal (UE1 with U3R or UZR) | 40 | 0.35 PK | 5149 | Voice Recognition Audio Signal (UE1 with UZR or U3R) |
41 | 0.35 PK/BK | 5152 | Low Reference (UE1 with U3R or UZR) | 41 | 0.35 PK/BK | 5152 | Low Reference (UE1 with UZR or U3R) |
42 | 0.35 BARE | 1792 | Drain Wire (UE1 with U3R or UZR) | 42 | 0.35 BARE | 1792 | Drain Wire (UE1 with UZR or U3R) |
43 | 0.5 YE | 2214 | Auxiliary Air Temperature Door Control (without UK6) | 43 | 0.5 YE | 2214 | Auxiliary Air Temperature Door Control (without UK6) |
|
|
Connector Part Information
| Connector Part Information
|
Terminal Part Information
| Terminal Part Information
|
Pin | Wire | Circuit | Function | Pin | Wire | Circuit | Function |
|---|---|---|---|---|---|---|---|
1 | 0.35 TN | 2501 | High Speed GMLAN Serial Data Bus- | 1 | 0.8 TN | 2501 | High Speed GMLAN Serial Data Bus- |
0.8 TN | 2501 | High Speed GMLAN Serial Data Bus- | |||||
2 | 0.35 TN/BK | 2500 | High Speed GMLAN Serial Data Bus+ | 2 | 0.8 TN/BK | 2500 | High Speed GMLAN Serial Data Bus+ |
0.8 TN/BK | 2500 | High Speed GMLAN Serial Data Bus+ | |||||
3 | 0.35 L-BU | 5986 | Communication Enable (MH6) | 3 | 0.35 L-BU | 5986 | Communication Enable (MH6) |
4 | -- | -- | Not Used | 4 | -- | -- | Not Used |
5 | 0.8 BN | 199 | Left Rear Speaker Output (+) (UQA or UQS) | 5 | 0.8 BN | 199 | Left Rear Speaker Output (+) (UQA or UQS) |
0.5 BN | 199 | Left Rear Speaker Output (+) (UQF) | 0.5 BN | 199 | Left Rear Speaker Output (+) (UQF) | ||
6 | 0.8 YE | 116 | Left Rear Speaker Output (-) (UQA or UQS) | 6 | 0.8 YE | 116 | Left Rear Speaker Output (-) (UQA or UQS) |
0.5 YE | 116 | Left Rear Speaker Output (-) (UQF) | 0.5 YE | 116 | Left Rear Speaker Output (-) (UQF) | ||
7 | 0.5 WH | 1959 | Left Rear Midrange Speaker Output (-) (UQA or UQS) | 7 | 0.8 WH | 1959 | Left Rear Midrange Speaker Output (-) (UQA or UQS) |
0.8 WH | 1959 | Left Rear Midrange Speaker Output (-) (UQA or UQS) | |||||
8 | 0.8 TN | 1859 | Left Rear Midrange Speaker Output (+) (UQA or UQS) | 8 | 0.8 TN | 1859 | Left Rear Midrange Speaker Output (+) (UQA or UQS) |
0.5 TN | 1859 | Left Rear Midrange Speaker Output (+) (UQA or UQS) | |||||
9 | 0.35 D-GN | 5060 | Low Speed GMLAN Serial Data (AXC or AXE) | 9 | 0.35 D-GN | 5060 | Low Speed GMLAN Serial Data (AXC or AXE) |
10 | 0.5 PU | 5357 | Right Tail Lamp Outage Detection Signal (Z88) | 10 | 0.5 PU | 5357 | Right Tail Lamp Outage Detection Signal (Z88) |
11 | 0.35 L-GN | 1011 | Remote Radio Control Signal (RCA) | 11 | 0.35 L-GN | 1011 | Remote Radio Control Signal (RCA) |
12 | 0.35 PU | 1375 | 12-Volt Reference (RCA) | 12 | 0.35 PU | 1375 | 12-Volt Reference (RCA) |
13 | 1 TN | 201 | Left Front Speaker Output (+) | 13 | 1 TN | 201 | Left Front Speaker Output (+) |
14 | 1 GY | 118 | Left Front Speaker Output (-) | 14 | 1 GY | 118 | Left Front Speaker Output (-) |
15 | 0.35 D-GN | 5060 | Low Speed GMLAN Serial Data | 15 | 0.35 D-GN | 5060 | Low Speed GMLAN Serial Data |
16 | 0.35 YE | 196 | Windshield Wiper Motor Park Switch Signal | 16 | 0.35 YE | 196 | Windshield Wiper Motor Park Switch Signal |
|
|
Connector Part Information
| Connector Part Information
|
Terminal Part Information
| Terminal Part Information
|
Pin | Wire | Circuit | Function | Pin | Wire | Circuit | Function |
|---|---|---|---|---|---|---|---|
1 | 1 PK | 2111 | Steering Column Tilt Motor Control - Up | 1 | 1 PK | 2111 | Steering Column Tilt Motor Control - Up |
2 | 0.35 OG | 2154 | Steering Column Tilt Sensor Signal | 2 | 0.35 OG | 2154 | Steering Column Tilt Sensor Signal |
3 | 1 BN | 2112 | Steering Column Tilt Motor Control - Down | 3 | 1 BN | 2112 | Steering Column Tilt Motor Control - Down |
4 | 0.35 OG | 2153 | Steering Column Telescope Sensor Signal | 4 | 0.35 OG | 2153 | Steering Column Telescope Sensor Signal |
5 | 1 OG | 2098 | Steering Column Telescope Motor Forward | 5 | 1 OG | 2098 | Steering Column Telescope Motor Forward |
6 | 1 TN | 2110 | Steering Column Telescope Motor Control - Reverse (N38) | 6 | 1 TN | 2110 | Steering Column Telescope Motor Control - Reverse (N38) |
7 | 0.35 TN | 6207 | 5-Volt Reference | 7 | 0.35 TN | 6207 | 5-Volt Reference |
8 | 0.35 GY | 2096 | Steering Column Tilt and Telescope Up Switch Signal | 8 | 0.35 GY | 2096 | Steering Column Tilt and Telescope Up Switch Signal |
9 | 0.35 GY | 6206 | Low Reference | 9 | 0.35 GY | 6206 | Low Reference |
10 | 0.35 OG | 2095 | Steering Column Tilt and Telescope Reverse Switch Signal | 10 | 0.35 OG | 2095 | Steering Column Tilt and Telescope Reverse Switch Signal |
11 | 0.35 PK | 2094 | Steering Column Tilt and Telescope Forward Switch Signal | 11 | 0.35 PK | 2094 | Steering Column Tilt and Telescope Forward Switch Signal |
12 | 0.35 YE | 2097 | Steering Column Tilt and Telescope Down Switch Signal | 12 | 0.35 YE | 2097 | Steering Column Tilt and Telescope Down Switch Signal |
13-16 | -- | -- | Not Used | 13-16 | -- | -- | Not Used |
|
|
Connector Part Information
| Connector Part Information
|
Terminal Part Information
| Terminal Part Information
|
Pin | Wire | Circuit | Function | Pin | Wire | Circuit | Function |
|---|---|---|---|---|---|---|---|
1 | 2 BK | 550 | Ground | 1 | 2 BK | 550 | Ground |
2 | 0.5 GY | 8 | Instrument Panel Lamp Voltage | 2 | 0.5 GY | 8 | Instrument Panel Lamp Voltage |
3 | 0.5 WH | 17 | Stop Lamp Voltage | 3 | 0.5 WH | 17 | Stop Lamp Voltage |
4 | -- | -- | Not Used | 4 | -- | -- | Not Used |
5 | 2 D-BU | 47 | Trailer Auxiliary Voltage | 5 | 2 D-BU | 47 | Trailer Auxiliary Voltage |
6 | 2 RD/BK | 1042 | Battery Positive Voltage | 6 | 2 RD/BK | 1042 | Battery Positive Voltage |
|
|
Connector Part Information
| Connector Part Information
|
Terminal Part Information
| Terminal Part Information
|
Pin | Wire | Circuit | Function | Pin | Wire | Circuit | Function |
|---|---|---|---|---|---|---|---|
1 | 0.35 TN | 3021 | Steering Wheel Module - Stage1 - High Control | 1 | 0.35 TN | 3021 | Steering Wheel Module - Stage1 - High Control |
2 | 0.35 BN | 3020 | Steering Wheel Module - Stage1 - Low Control | 2 | 0.35 BN | 3020 | Steering Wheel Module - Stage1 - Low Control |
3 | -- | -- | Not Used | 3 | -- | -- | Not Used |
4 | 0.35 WH | 3023 | Steering Wheel Module - Stage2 - High Control | 4 | 0.35 WH | 3023 | Steering Wheel Module - Stage2 - High Control |
5 | 0.35 PK | 3022 | Steering Wheel Module - Stage2 - Low Control | 5 | 0.35 PK | 3022 | Steering Wheel Module - Stage2 - Low Control |
|
|
Connector Part Information
| Connector Part Information
|
Terminal Part Information
| Terminal Part Information
|
Pin | Wire | Circuit | Function | Pin | Wire | Circuit | Function |
|---|---|---|---|---|---|---|---|
1 | 3 RD/BK | 442 | Battery Positive Voltage | 1 | 3 RD/BK | 442 | Battery Positive Voltage |
2 | 3 BK | 450 | Ground | 2 | 3 BK | 450 | Ground |
|
|
Connector Part Information
| Connector Part Information
|
Terminal Part Information
| Terminal Part Information
|
Pin | Wire | Circuit | Function | Pin | Wire | Circuit | Function |
|---|---|---|---|---|---|---|---|
1 | 0.35 BARE | 6980 | DVD Audio Shield | 1 | 0.35 BARE | 6980 | DVD Audio Shield |
2 | 0.35 L-BU | 5826 | Left DVD Audio Signal (+) | 2 | 0.35 L-BU | 5826 | Left DVD Audio Signal (+) |
3 | 0.35 PU | 6979 | DVD Audio Common | 3 | 0.35 PU | 6979 | DVD Audio Common |
4 | 0.35 WH | 5828 | Right DVD Audio Signal (+) | 4 | 0.35 WH | 5828 | Right DVD Audio Signal (+) |
5 | 0.35 TN/WH | 5830 | Remote Infra Red Signal (-) | 5 | 0.35 TN/WH | 5830 | Remote Infra Red Signal (-) |
6 | 0.35 OG/BK | 5831 | Remote Infra Red Signal (+) | 6 | 0.35 OG/BK | 5831 | Remote Infra Red Signal (+) |
7 | 0.35 BN/WH | 5331 | Low Reference | 7 | 0.35 BN/WH | 5331 | Low Reference |
8 | 0.35 PU/WH | 5330 | Right Infra Red Audio Signal | 8 | 0.35 PU/WH | 5330 | Right Infra Red Audio Signal |
9 | 0.35 OG/BK | 5329 | Left Rear Low Level Audio Signal (+) | 9 | 0.35 OG/BK | 5329 | Left Rear Low Level Audio Signal (+) |
10 | 0.35 BARE | 5332 | Infra Red Audio Drain Wire | 10 | 0.35 BARE | 5332 | Infra Red Audio Drain Wire |
11 | 0.35 WH/BK | 5335 | DVD Video Signal (-) | 11 | 0.35 WH/BK | 5335 | DVD Video Signal (-) |
12 | 0.35 D-GN | 6975 | DVD Video Signal (+) | 12 | 0.35 D-GN | 6975 | DVD Video Signal (+) |
13 | 0.35 BARE | 6976 | DVD Video Drain Wire | 13 | 0.35 BARE | 6976 | DVD Video Drain Wire |
14 | 0.35 WH | 7066 | Entertainment Remote Enable Signal | 14 | 0.35 WH | 7066 | Entertainment Remote Enable Signal |
15 | 0.35 L-GN/BK | 5845 | Video Module Signal | 15 | 0.35 L-GN/BK | 5845 | Video Module Signal |
16 | 0.35 PK/BK | 5844 | Video Bright Control | 16 | 0.35 PK/BK | 5844 | Video Bright Control |
17-20 | -- | -- | Not Used | 17-20 | -- | -- | Not Used |
|
|
Connector Part Information
| Connector Part Information
|
Terminal Part Information
| Terminal Part Information
|
Pin | Wire | Circuit | Function | Pin | Wire | Circuit | Function |
|---|---|---|---|---|---|---|---|
1 | 0.5 GY | 391 | Rear Window Wiper Switch Signal | 1 | 0.5 GY | 391 | Rear Window Wiper Switch Signal |
2 | 0.35 PU/WH | 5330 | Right Infra Red Audio Signal (U42) | 2 | 0.35 PU/WH | 5330 | Right Infra Red Audio Signal (U42) |
3 | 0.35 BN/WH | 5331 | Low Reference (U42) | 3 | 0.35 BN/WH | 5331 | Low Reference (U42) |
4 | 0.35 BARE | 5332 | Infra Red Audio Drain Wire (U42) | 4 | 0.35 BARE | 5332 | Infra Red Audio Drain Wire (U42) |
5 | 0.35 OG/BK | 5329 | Left Rear Low Level Audio Signal (+) (U42) | 5 | 0.35 OG/BK | 5329 | Left Rear Low Level Audio Signal (+) (U42) |
6 | 0.35 PU/WH | 1630 | Steering Column Key Cylinder Lock Solenoid Control | 6 | 0.35 PU/WH | 1630 | Steering Column Key Cylinder Lock Solenoid Control |
7 | 0.35 L-BU | 553 | Tow/Haul Switch Signal | 7 | 0.35 L-BU | 553 | Tow/Haul Switch Signal |
8 | 0.5 L-GN | 2270 | Rear Window Washer Relay Control | 8 | 0.5 L-GN | 2270 | Rear Window Washer Relay Control (W49) |
9 | 0.35 BARE | 5345 | Drain Wire (U42) | 9 | 0.35 BARE | 5345 | Drain Wire (U42) |
10 | 0.35 WH | 2058 | Auxiliary Audio Right Signal (U42) | 10 | 0.35 WH | 2058 | Auxiliary Audio Right Signal (U42) |
11 | 0.35 YE | 2059 | Auxiliary Audio Left Signal (U42) | 11 | 0.35 YE | 2059 | Auxiliary Audio Left Signal (U42) |
12 | 0.35 PU | 5526 | Memory Set Switch Signal | 12 | 0.35 PU | 5526 | Memory Set Switch Signal |
13 | 0.35 BARE | 5346 | Drain Wire (U42) | 13 | 0.35 BARE | 5346 | Drain Wire (U42) |
14 | 0.35 PU | 2056 | Auxiliary Video High Signal (U42) | 14 | 0.35 PU | 2056 | Auxiliary Video High Signal (U42) |
15 | 0.35 D-GN/WH | 1135 | A/T Shift Lock Control Solenoid Voltage | 15 | 0.35 D-GN/WH | 1135 | A/T Shift Lock Control Solenoid Voltage |
16 | 0.35 PU | 1375 | 12-Volt Reference | 16 | 0.35 PU | 1375 | 12-Volt Reference |
17 | 0.35 L-BU | 5312 | RSA Left Audio Signal (UK6) | 17 | 0.8 L-BU | 5312 | RSA Left Audio Signal (UK6) |
18 | 0.35 BN | 5314 | RSA Audio Common Signal (UK6) | 18 | 0.8 BN | 5314 | RSA Audio Common Signal (UK6) |
19 | 0.35 L-GN | 5313 | RSA Right Audio Signal (UK6) | 19 | 0.8 L-GN | 5313 | RSA Right Audio Signal (UK6) |
20 | 0.35 TN/WH | 5830 | Remote Infra Red Signal (-) (UK6) | 20 | 0.8 TN/WH | 5830 | Remote Infra Red Signal (-) (UK6) |
21 | 0.35 BARE | 6759 | Discrete Audio Drain Wire (UK6 without UQF) | 21 | 0.35 BARE | 6759 | Discrete Audio Drain Wire (UK6 without UQF) |
22 | 0.35 D-BU | 546 | Right Rear Low Level Audio Signal (+) (UK6) | 22 | 0.8 D-BU | 546 | Right Rear Low Level Audio Signal (+) (UK6) |
23 | 0.35 TN | 1946 | Right Rear Low Level Audio Signal (-) (UK6) | 23 | 0.8 TN | 1946 | Right Rear Low Level Audio Signal (-) (UK6) |
24 | 0.35 BN/WH | 599 | Left Rear Low Level Audio Signal (+) (UK6) | 24 | 0.8 BN/WH | 599 | Left Rear Low Level Audio Signal (+) (UK6) |
25 | 0.35 BN | 1999 | Left Rear Low Level Audio Signal (-) (UK6) | 25 | 0.8 BN | 1999 | Left Rear Low Level Audio Signal (-) (UK6) |
26 | 0.35 BARE | 1574 | Drain Wire (UK6 without UQF) | 26 | 0.35 BARE | 1574 | Drain Wire (UK6 without UQF) |
|
|
Connector Part Information
| Connector Part Information
|
Terminal Part Information
| Terminal Part Information
|
Pin | Wire | Circuit | Function | Pin | Wire | Circuit | Function |
|---|---|---|---|---|---|---|---|
1 | 0.35 WH | 7066 | Entertainment Remote Enable Signal | 1 | 0.35 WH | 7066 | Entertainment Remote Enable Signal |
C | -- | -- | Coax | C | -- | -- | Coax |
S | -- | -- | Not Used | S | -- | -- | Not Used |
|
|
Connector Part Information
| Connector Part Information
|
Terminal Part Information
| Terminal Part Information
|
Pin | Wire | Circuit | Function | Pin | Wire | Circuit | Function |
|---|---|---|---|---|---|---|---|
-- | -- | -- | Not Used | 1A-1D | -- | -- | Not Used |
-- | -- | -- | Not Used | 2A-2D | -- | -- | Not Used |
A | -- | -- | Not Used | 3A | -- | -- | Not Used |
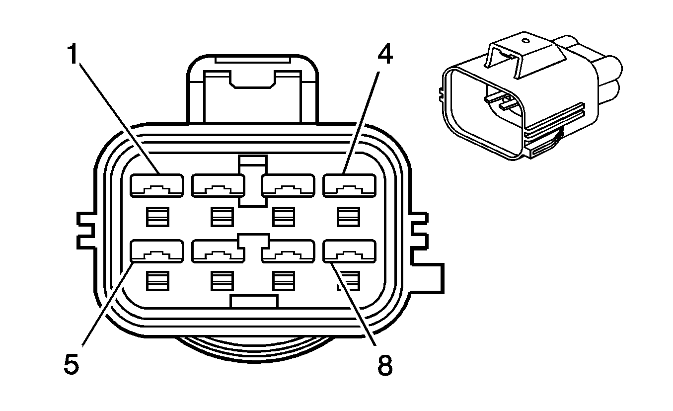
B | 0.35 D-GN | 890 | Fuel Tank Pressure Sensor Signal | 3B | 0.35 D-GN | 890 | Fuel Tank Pressure Sensor Signal |
C | -- | -- | Not Used | 3C | -- | -- | Not Used |
D | 0.35 L-BU/WH | 1589 | Fuel Level Sensor Signal | 3D | 0.35 PU | 1589 | Fuel Level Sensor Signal |
E | 0.35 TN | 452 | Low Reference | 3E | 0.35 TN | 452 | Low Reference |
F | 0.35 WH | 1310 | EVAP Canister Vent Solenoid Control | 3F | 0.35 WH | 1310 | EVAP Canister Vent Solenoid Control |
G | 0.5 RD/WH | 4140 | Battery Positive Voltage | 3G | 0.5 RD/WH | 4140 | Battery Positive Voltage |
H | 0.35 GY | 2709 | 5-Volt Reference | 3H | 0.35 GY | 2709 | 5-Volt Reference |
|
|
Connector Part Information
| Connector Part Information
|
Terminal Part Information
| Terminal Part Information
|
Pin | Wire | Circuit | Function | Pin | Wire | Circuit | Function |
|---|---|---|---|---|---|---|---|
1 | 2 GY | 120 | Fuel Pump Voltage | 1 | 2 GY | 120 | Fuel Pump Voltage |
2 | 2 PK | 1850 | Ground | 2 | 2 PK | 1850 | Ground |
3 | 0.5 GY | 7443 | Drain Wire | 3 | 0.5 GY | 7443 | Drain Wire |
4 | 0.35 BN | 7445 | 5-Volt Reference | 4 | 0.35 BN | 7445 | 5-Volt Reference |
5 | 0.35 PU | 7446 | Fuel Pressure Sensor Signal | 5 | 0.35 PU | 7446 | Fuel Pressure Sensor Signal |
6 | 0.35 GY | 7447 | Low Reference | 6 | 0.35 GY | 7447 | Low Reference |
|
|
Connector Part Information
| Connector Part Information
|
Terminal Part Information
| Terminal Part Information
|
Pin | Wire | Circuit | Function | Pin | Wire | Circuit | Function |
|---|---|---|---|---|---|---|---|
1 | 3 BK | 750 | Ground (AG2 or AAQ or KB6) | 1 | 3 BK | 750 | Ground (AG2 or AAQ or KB6) |
2 | 0.35 BK/WH | 1751 | Ground | 2 | 0.35 BK/WH | 1751 | Ground |
0.5 BK/WH | 1751 | Ground | |||||
3-4 | -- | -- | Not Used | 3-4 | -- | -- | Not Used |
5 | 0.35 D-GN | 5060 | Low Speed GMLAN Serial Data | 5 | 0.35 D-GN | 5060 | Low Speed GMLAN Serial Data |
6 | 0.35 OG | 1362 | Seat Belt Switch - Right - Signal | 6 | 0.35 OG | 1362 | Seat Belt Switch - Right - Signal |
7 | -- | -- | Not Used | 7 | -- | -- | Not Used |
8 | 3 RD/WH | 3040 | Battery Positive Voltage (AG2 or AAQ) | 8 | 3 RD/WH | 3040 | Battery Positive Voltage (AG2 or AAQ) |
9 | 0.35 L-BU | 5476 | Low Reference (KA1 or KB6) | 9 | 0.35 L-BU | 5476 | Low Reference (KA1 or KB6) |
10 | 0.35 RD/WH | 1340 | Battery Positive Voltage | 10 | 0.35 RD/WH | 1340 | Battery Positive Voltage |
11 | -- | -- | Not Used | 11 | -- | -- | Not Used |
12 | 0.8 PK | 2480 | Passenger Heated Seat Cushion Element Control (KA1 or KB6) | 12 | 0.8 PK | 2480 | Passenger Heated Seat Cushion Element Control (KA1 or KB6) |
13 | 0.35 GY | 2434 | Passenger Heated Seat Cushion Temperature Sensor Signal (KA1 or KB6) | 13 | 0.35 GY | 2434 | Passenger Heated Seat Cushion Temperature Sensor Signal (KA1 or KB6) |
14-16 | -- | -- | Not Used | 14-16 | -- | -- | Not Used |
17 | 0.8 L-BU | 2433 | Passenger Heated Seat Back Element Control (KA1) | 17 | 0.8 L-BU | 2433 | Passenger Heated Seat Back Element Control (KA1) |
2 RD/WH | 640 | Battery Positive Voltage (KB6) | 2 RD/WH | 640 | Battery Positive Voltage (KB6) | ||
18 | -- | -- | Not Used | 18 | -- | -- | Not Used |
19 | 0.35 TN | 2436 | Heated Seat Back Temperature Sensor Signal (KA1) | 19 | 0.35 TN | 2436 | Heated Seat Back Temperature Sensor Signal (KA1) |
20 | 0.35 GY | 5961 | Right Heated/Cooled Seat Mode Signal (KB6) | 20 | 0.35 GY | 5961 | Right Heated/Cooled Seat Mode Signal (KB6) |
21 | 0.35 TN | 2482 | Low Reference (KA1) | 21 | 0.35 TN | 2482 | Low Reference (KA1) |
22 | -- | -- | Not Used | 22 | -- | -- | Not Used |
23 | 0.35 PK | 5057 | Low Reference | 23 | 0.35 PK | 5057 | Low Reference |
0.35 PK | 5057 | Low Reference | |||||
24-25 | -- | -- | Not Used | 24-25 | -- | -- | Not Used |
26 | 0.8 D-BU | 2479 | Passenger Heated Seat Element Voltage (KA1 or KB6) | 26 | 0.8 D-BU | 2479 | Passenger Heated Seat Element Voltage (KA1 or KB6) |
|
|
Connector Part Information
| Connector Part Information
|
Terminal Part Information
| Terminal Part Information
|
Pin | Wire | Circuit | Function | Pin | Wire | Circuit | Function |
|---|---|---|---|---|---|---|---|
1 | 1 OG | 2098 | Steering Column Telescope Motor Forward (N38) | 1 | 1 OG | 2098 | Steering Column Telescope Motor Forward (N38) |
2 | 0.8 L-BU | 2433 | Passenger Heated Seat Back Element Control (KA1) | 2 | 0.8 L-BU | 2433 | Passenger Heated Seat Back Element Control (KA1) |
3 | 3 RD/WH | 1140 | Battery Positive Voltage (AG1 or AG3 or AH5 or A45) | 3 | 3 RD/WH | 1140 | Battery Positive Voltage (AG1 or AG3 or AH5 or A45) |
4 | -- | -- | Not Used | 4 | -- | -- | Not Used |
5 | 3 BK | 550 | Ground (AG1 or AG3 or AH5 or A45 or KA1 or KB6) | 5 | 3 BK | 550 | Ground (AG1 or AG3 or AH5 or A45 or KA1 or KB6) |
6 | 2 RD/WH | 640 | Battery Positive Voltage (KA1 without A45) | 6 | 2 RD/WH | 640 | Battery Positive Voltage (KA1 without A45) |
2 RD/WH | 640 | Battery Positive Voltage (KB6) | 2 RD/WH | 640 | Battery Positive Voltage (KB6) | ||
7 | 1 TN | 2110 | Steering Column Telescope Motor Control - Reverse (N38) | 7 | 1 TN | 2110 | Steering Column Telescope Motor Control - Reverse (N38) |
8 | 0.35 TN | 1686 | Passenger Heated Seat Low Temperature Indicator Control (KA1 without A45) | 8 | 0.35 TN | 1686 | Passenger Heated Seat Low Temperature Indicator Control (KA1 without A45) |
9 | 0.35 GY | 2434 | Passenger Heated Seat Cushion Temperature Sensor Signal (KA1 or KB6) | 9 | 0.35 GY | 2434 | Passenger Heated Seat Cushion Temperature Sensor Signal (KA1 or KB6) |
10 | 0.35 RD/WH | 3140 | Battery Positive Voltage (A45) | 10 | 0.35 RD/WH | 3140 | Battery Positive Voltage (A45) |
11 | 0.35 D-GN | 5016 | Seat Belt Switch - Left - Signal | 11 | 0.35 D-GN | 5016 | Seat Belt Switch - Left - Signal |
12 | -- | -- | Not Used | 12 | -- | -- | Not Used |
13 | 0.35 L-BU | 5476 | Low Reference (KA1 or KB6) | 13 | 0.35 L-BU | 5476 | Low Reference (KA1 or KB6) |
14 | 0.35 PK | 5057 | Low Reference | 14 | 0.35 PK | 5057 | Low Reference |
15 | 0.35 TN | 2436 | Heated Seat Back Temperature Sensor Signal (KA1) | 15 | 0.35 TN | 2436 | Heated Seat Back Temperature Sensor Signal (KA1) |
16 | 0.35 GY | 2096 | Steering Column Tilt and Telescope Up Switch Signal (N38) | 16 | 0.35 GY | 2096 | Steering Column Tilt and Telescope Up Switch Signal (N38) |
17 | 0.35 TN | 2482 | Low Reference (KA1) | 17 | 0.35 TN | 2482 | Low Reference (KA1) |
18 | 0.35 D-BU | 6180 | Passenger Heated Seat Switch Back Cushion Signal (KA1 without A45) | 18 | 0.35 D-BU | 6180 | Passenger Heated Seat Switch Back Cushion Signal (KA1 without A45) |
19 | 0.35 L-BU | 1662 | Driver Heated Seat Low Temperature Indicator Control (KA1 without A45) | 19 | 0.35 L-BU | 1662 | Driver Heated Seat Low Temperature Indicator Control (KA1 without A45) |
20 | 0.35 D-GN | 1661 | Driver Heated Seat High Temperature Indicator Control (KA1 without A45) | 20 | 0.35 D-GN | 1661 | Driver Heated Seat High Temperature Indicator Control (KA1 without A45) |
21 | 0.35 D-GN | 5060 | Low Speed GMLAN Serial Data (A45 or KA1) | 21 | 0.35 D-GN | 5060 | Low Speed GMLAN Serial Data (A45 or KA1) |
22 | 0.35 OG | 2153 | Steering Column Telescope Sensor Signal (N38) | 22 | 0.35 OG | 2153 | Steering Column Telescope Sensor Signal (N38) |
23 | 0.8 PK | 2480 | Passenger Heated Seat Cushion Element Control (KA1 or KB6) | 23 | 0.8 PK | 2480 | Passenger Heated Seat Cushion Element Control (KA1 or KB6) |
24 | 0.35 YE | 2097 | Steering Column Tilt and Telescope Down Switch Signal (N38) | 24 | 0.35 YE | 2097 | Steering Column Tilt and Telescope Down Switch Signal (N38) |
25 | 0.35 GY | 6206 | Low Reference (N38) | 25 | 0.35 GY | 6206 | Low Reference (N38) |
26 | 0.35 PK | 2094 | Steering Column Tilt and Telescope Forward Switch Signal (N38) | 26 | 0.35 PK | 2094 | Steering Column Tilt and Telescope Forward Switch Signal (N38) |
27 | 0.35 TN | 6207 | 5-Volt Reference (N38) | 27 | 0.35 TN | 6207 | 5-Volt Reference (N38) |
28 | 0.35 OG | 2095 | Steering Column Tilt and Telescope Reverse Switch Signal (N38) | 28 | 0.35 OG | 2095 | Steering Column Tilt and Telescope Reverse Switch Signal (N38) |
29 | 0.35 OG | 2154 | Steering Column Tilt Sensor Signal (N38) | 29 | 0.35 OG | 2154 | Steering Column Tilt Sensor Signal (N38) |
30 | 0.35 BN | 6173 | Driver Heated Seat Switch Back Cushion LED (KA1 without A45) | 30 | 0.35 BN | 6173 | Driver Heated Seat Switch Back Cushion LED (KA1 without A45) |
31 | 0.35 D-BU | 6172 | Driver Heated Seat Switch Back Cushion Signal (KA1 without A45) | 31 | 0.35 D-BU | 6172 | Driver Heated Seat Switch Back Cushion Signal (KA1 without A45) |
32 | 1 PK | 2111 | Steering Column Tilt Motor Control - Up (N38) | 32 | 1 PK | 2111 | Steering Column Tilt Motor Control - Up (N38) |
33 | 0.35 PU | 6174 | Driver Heated Seat Switch Back LED (KA1 without A45) | 33 | 0.35 PU | 6174 | Driver Heated Seat Switch Back LED (KA1 without A45) |
34 | 1 BN | 2112 | Steering Column Tilt Motor Control - Down (N38) | 34 | 1 BN | 2112 | Steering Column Tilt Motor Control - Down (N38) |
35 | 0.35 GY | 6175 | Driver Heated Seat Switch Back Signal (KA1 without A45) | 35 | 0.35 GY | 6175 | Driver Heated Seat Switch Back Signal (KA1 without A45) |
36 | 0.8 D-BU | 2479 | Passenger Heated Seat Element Voltage (KA1 or KB6) | 36 | 0.8 D-BU | 2479 | Passenger Heated Seat Element Voltage (KA1 or KB6) |
37 | 0.35 WH/BK | 6177 | Driver Heated Seat Medium Indicator Control (KA1 without A45) | 37 | 0.35 WH/BK | 6177 | Driver Heated Seat Medium Indicator Control (KA1 without A45) |
38 | 0.35 YE | 1685 | Passenger Heated Seat High Temperature Indicator Control (KA1 without A45) | 38 | 0.35 YE | 1685 | Passenger Heated Seat High Temperature Indicator Control (KA1 without A45) |
39 | 0.35 BN | 6179 | Passenger Heated Seat Switch Back Cushion LED (KA1 without A45) | 39 | 0.35 BN | 6179 | Passenger Heated Seat Switch Back Cushion LED (KA1 without A45) |
0.35 GY | 5961 | Right Heated/Cooled Seat Mode Signal (KB6) | 0.35 GY | 5961 | Right Heated/Cooled Seat Mode Signal (KB6) | ||
40 | 0.35 PU | 6181 | Passenger Heated Seat Switch Back LED (KA1 without A45) | 40 | 0.35 PU | 6181 | Passenger Heated Seat Switch Back LED (KA1 without A45) |
41 | 0.35 GY | 6182 | Passenger Heated Seat Switch Back Signal (KA1 without A45) | 41 | 0.35 GY | 6182 | Passenger Heated Seat Switch Back Signal (KA1 without A45) |
42 | 0.35 WH/BK | 6185 | Passenger Heated Seat Medium Indicator Control (KA1 without A45) | 42 | 0.35 WH/BK | 6185 | Passenger Heated Seat Medium Indicator Control (KA1 without A45) |
43 | 2 RD/WH | 4040 | Battery Positive Voltage (N38) | 43 | 2 RD/WH | 4040 | Battery Positive Voltage (N38) |
|
|
Connector Part Information
| Connector Part Information
|
Terminal Part Information
| Terminal Part Information
|
Pin | Wire | Circuit | Function | Pin | Wire | Circuit | Function |
|---|---|---|---|---|---|---|---|
1 | 0.35 GY | 1690 | Automatic Day/Night Mirror Signal (DNP) | 1 | 0.35 GY | 1690 | Automatic Day/Night Mirror Signal (DNP) |
2 | 0.35 BK/RD | 1691 | Low Reference (DNP) | 2 | 0.35 PK | 1691 | Low Reference (DNP) |
3 | 0.35 WH | 2370 | Telltale Assembly Voltage (UD7) | 3 | 0.35 WH | 2370 | Telltale Assembly Voltage (UD7) |
4 | 0.35 OG | 2371 | Left Amber Indicator Control (UD7) | 4 | 0.35 OG | 2371 | Left Amber Indicator Control (UD7) |
5 | 0.35 D-BU | 2372 | Center Amber Indicator Control (UD7) | 5 | 0.35 D-BU | 2372 | Center Amber Indicator Control (UD7) |
6 | 0.35 GY | 2373 | Red Indicator Control (UD7) | 6 | 0.35 GY | 2373 | Red Indicator Control (UD7) |
7 | 0.5 BK/GN | 2514 | Keypad Signal (UE1) | 7 | 0.35 D-GN/WH | 2514 | Keypad Signal (UE1) |
8 | 0.5 BK/L-GN | 2515 | Keypad Voltage (UE1) | 8 | 0.35 L-GN/BK | 2515 | Keypad Voltage (UE1) |
9 | 0.5 BK/GY | 2516 | Keypad Green LED Signal (UE1) | 9 | 0.35 YE/BK | 2516 | Keypad Green LED Signal (UE1) |
10 | 0.35 BN/WH | 2517 | Keypad Red LED Signal (UE1) | 10 | 0.35 BN/WH | 2517 | Keypad Red LED Signal (UE1) |
11 | 0.35 OG | 300 | Power Mode | 11 | 0.35 OG | 300 | Power Mode |
12 | 0.35 GY | 6135 | Local Interconnect Network (LIN) (U80) | 12 | 0.35 GY | 6135 | Local Interconnect Network (LIN) (U80) |
13-14 | -- | -- | Not Used | 13-14 | -- | -- | Not Used |
15 | 0.35 BARE | 514 | Ground (UE1) | 15 | 0.35 BARE | 514 | Ground (UE1) |
16 | 0.35 GY | 655 | Cellular Microphone Signal (UE1) | 16 | 0.35 GY | 655 | Cellular Microphone Signal (UE1) |
17 | -- | -- | Not Used | 17 | -- | -- | Not Used |
18 | 0.35 BARE | 6974 | Drain Wire (UVC without U3R or UZR or UVB) | 18 | 0.35 BARE | 6974 | Drain Wire (UVC without U3R or UZR or UVB) |
19 | 0.35 PK | 6972 | Camera Video Signal (+) (UVC without U3R or UZR or UVB) | 19 | 0.35 PK | 6972 | Camera Video Signal (+) (UVC without U3R or UZR or UVB) |
20 | 0.35 L-BU | 6973 | Camera Video Signal (-) (UVC without U3R or UZR or UVB) | 20 | 0.35 L-BU | 6973 | Camera Video Signal (-) (UVC without U3R or UZR or UVB) |
|
|
Connector Part Information
| Connector Part Information
|
Terminal Part Information
| Terminal Part Information
|
Pin | Wire | Circuit | Function | Pin | Wire | Circuit | Function |
|---|---|---|---|---|---|---|---|
1 | 3 RD/WH | 3440 | Battery Positive Voltage (C3U) | 1 | 3 RD/WH | 3440 | Battery Positive Voltage (C3U) |
2 | 0.5 BK/WH | 38 | Backup Lamp Voltage (DD8) | 2 | 0.5 D-BU | 38 | Backup Lamp Voltage (DD8) |
3 | 0.35 BK/YE | 43 | Ignition Voltage (DD8) | 3 | 0.35 YE | 43 | Ignition Voltage (C3U or DD8) |
0.35 YE | 43 | Ignition Voltage (C3U) | |||||
4 | 0.8 OG | 1732 | Courtesy Lamps Voltage | 4 | 0.8 OG | 1732 | Courtesy Lamps Voltage |
5 | 0.5 PK | 5829 | Infra Red Module Voltage (U42) | 5 | 0.35 PK | 5829 | Infra Red Module Voltage (U42) |
6 | -- | -- | Not Used | 6 | -- | -- | Not Used |
7 | 0.5 BK/WH | 351 | Ground (U42) | 7 | 0.5 BK/WH | 351 | Ground (U42) |
0.5 BK/WH | 351 | Ground (U42) | |||||
8 | 0.8 GY/BK | 690 | Courtesy Lamp High Control | 8 | 0.8 GY/BK | 690 | Courtesy Lamp High Control |
9 | 0.35 GY | 8 | Instrument Panel Lamp Voltage (UG1 or C3U) | 9 | 0.35 GY | 8 | Instrument Panel Lamp Voltage (UG1 or C3U) |
10 | 0.5 RD/WH | 2340 | Battery Positive Voltage (U42) | 10 | 0.5 RD/WH | 2340 | Battery Positive Voltage (U42) |
11 | 0.35 RD/WH | 3140 | Battery Positive Voltage (UG1) | 11 | 0.35 RD/WH | 3140 | Battery Positive Voltage (UG1) |
12 | 0.35 PU/WH | 1382 | LED Dimming Signal | 12 | 0.35 PU/WH | 1382 | LED Dimming Signal |
13 | -- | -- | Not Used | 13 | -- | -- | Not Used |
14 | 3 BK | 850 | Ground | 14 | 3 BK | 850 | Ground |
|
|
Connector Part Information
| Connector Part Information
|
Terminal Part Information
| Terminal Part Information
|
Pin | Wire | Circuit | Function | Pin | Wire | Circuit | Function |
|---|---|---|---|---|---|---|---|
1 | 1 BK | 50 | Ground | 1 | 0.35 BK | 50 | Ground |
2 | -- | -- | Not Used | 2 | -- | -- | Not Used |
|
|
Connector Part Information
| Connector Part Information
|
Terminal Part Information
| Terminal Part Information
|
Pin | Wire | Circuit | Function | Pin | Wire | Circuit | Function |
|---|---|---|---|---|---|---|---|
1 | 0.8 RD/WH | 4640 | Battery Positive Voltage | 1 | 1 RD | 4640 | Battery Positive Voltage |
2 | -- | -- | Not Used | 2 | -- | -- | Not Used |
|
|
Connector Part Information
| Connector Part Information
|
Terminal Part Information
| Terminal Part Information
|
Pin | Wire | Circuit | Function | Pin | Wire | Circuit | Function |
|---|---|---|---|---|---|---|---|
1 | 0.5 TN | 3062 | Seat Belt Buckle Pretensioner - Right - High Control | 1 | L-GN/RD | -- | Seat Belt Buckle Pretensioner - Right - High Control |
2 | 0.5 L-BU/BK | 3063 | Seat Belt Buckle Pretensioner - Right - Low Control | 2 | WH/RD | -- | Seat Belt Buckle Pretensioner - Right - Low Control |
3 | -- | -- | Not Used | 3 | -- | -- | Not Used |
4 | 0.5 TN/WH | 2135 | Side Impact Module - Right Front - High Control | 4 | WH/RD | -- | Side Impact Module - Right Front - High Control |
5 | 0.5 L-GN | 2136 | Side Impact Module - Right Front - Low Control | 5 | L-GN/RD | -- | Side Impact Module - Right Front - Low Control |
|
|
Connector Part Information
| Connector Part Information
|
Terminal Part Information
| Terminal Part Information
|
Pin | Wire | Circuit | Function | Pin | Wire | Circuit | Function |
|---|---|---|---|---|---|---|---|
1 | 0.5 WH | 3064 | Seat Belt Buckle Pretensioner - Left - High Control | 1 | L-GN/RD | -- | Seat Belt Buckle Pretensioner - Left - High Control |
2 | 0.5 YE/BK | 3065 | Seat Belt Buckle Pretensioner - Left - Low Control | 2 | WH/RD | -- | Seat Belt Buckle Pretensioner - Left - Low Control |
3 | -- | -- | Not Used | 3 | -- | -- | Not Used |
4 | 0.5 BN | 2137 | Side Impact Module - Left Front - High Control | 4 | WH/RD | -- | Side Impact Module - Left Front - High Control |
5 | 0.5 YE/BK | 2138 | Side Impact Module - Left Front - Low Control | 5 | L-GN/RD | -- | Side Impact Module - Left Front - Low Control |
|
|
Connector Part Information
| Connector Part Information
|
Terminal Part Information
| Terminal Part Information
|
Pin | Wire | Circuit | Function | Pin | Wire | Circuit | Function |
|---|---|---|---|---|---|---|---|
1 | 0.5 BK/WH | 351 | Ground (UK6) | 1 | 0.5 BK/WH | 351 | Ground (UK6) |
2 | 0.8 D-BU | 6807 | 120 VAC Inverter Control (KV1) | 2 | 0.8 D-BU | 6807 | 120 VAC Inverter Control (KV1) |
3 | 1 RD/WH | 2540 | Battery Positive Voltage | 3 | 1 RD/WH | 2540 | Battery Positive Voltage |
4 | -- | -- | Not Used | 4 | -- | -- | Not Used |
5 | 3 BK | 750 | Ground | 5 | 3 BK | 750 | Ground |
6 | -- | -- | Not Used | 6 | -- | -- | Not Used |
7 | 0.8 RD | 5684 | 120 VAC Phase B (KV1) | 7 | 0.8 RD | 5684 | 120 VAC Phase B (KV1) |
8 | 0.5 RD/WH | 2340 | Battery Positive Voltage (UK6) | 8 | 0.5 RD/WH | 2340 | Battery Positive Voltage (UK6) |
9 | 0.35 D-GN | 6112 | Power Liftgate On/Off Switch Signal (TB5) | 9 | 0.35 D-GN | 6112 | Power Liftgate On/Off Switch Signal (TB5) |
10 | 0.35 GY | 8 | Instrument Panel Lamp Voltage | 10 | 0.35 GY | 8 | Instrument Panel Lamp Voltage |
11 | 0.35 BN | 6173 | Driver Heated Seat Switch Back Cushion LED (KA1 or KB6) | 11 | 0.35 BN | 6173 | Driver Heated Seat Switch Back Cushion LED (KA1 or KB6) |
12 | 0.35 TN | 1686 | Passenger Heated Seat Low Temperature Indicator Control (KA1 or KB6) | 12 | 0.35 TN | 1686 | Passenger Heated Seat Low Temperature Indicator Control (KA1 or KB6) |
13 | 0.35 PU | 6174 | Driver Heated Seat Switch Back LED (KA1 or KB6) | 13 | 0.35 PU | 6174 | Driver Heated Seat Switch Back LED (KA1 or KB6) |
14 | 0.35 YE | 1685 | Passenger Heated Seat High Temperature Indicator Control (KA1 or KB6) | 14 | 0.35 YE | 1685 | Passenger Heated Seat High Temperature Indicator Control (KA1 or KB6) |
15 | 0.35 D-GN/WH | 5800 | Liftgate Open/Close Switch Signal (TB5) | 15 | 0.35 D-GN/WH | 5800 | Liftgate Open/Close Switch Signal (TB5) |
16 | 0.35 PU/WH | 6816 | Heated Seat Indicator Dimming (KA1) | 16 | 0.35 PU/WH | 6816 | Heated Seat Indicator Dimming (KA1 without A45) |
0.35 PU/WH | 6816 | Heated Seat Indicator Dimming (KA1) | |||||
17 | 0.35 GY | 6175 | Driver Heated Seat Switch Back Signal (KA1 or KB6) | 17 | 0.35 GY | 6175 | Driver Heated Seat Switch Back Signal (KA1 or KB6) |
18-19 | -- | -- | Not Used | 18-19 | -- | -- | Not Used |
20 | 0.35 PU/WH | 1382 | LED Dimming Signal | 20 | 0.35 PU/WH | 1382 | LED Dimming Signal |
21 | 0.35 PK | 5829 | Infra Red Module Voltage (U42) | 21 | 0.35 PK | 5829 | Infra Red Module Voltage (U42) |
22 | 0.35 D-GN | 5060 | Low Speed GMLAN Serial Data (UK6) | 22 | 0.35 D-GN | 5060 | Low Speed GMLAN Serial Data (UK6) |
23 | 0.35 YE | 43 | Ignition Voltage | 23 | 0.35 YE | 43 | Ignition Voltage |
0.35 YE | 43 | Ignition Voltage (KV1) | |||||
24 | 0.35 BN | 6179 | Passenger Heated Seat Switch Back Cushion LED (KA1 or KB6) | 24 | 0.35 BN | 6179 | Passenger Heated Seat Switch Back Cushion LED (KA1 or KB6) |
25 | 0.35 D-GN | 1661 | Driver Heated Seat High Temperature Indicator Control (KA1 or KB6) | 25 | 0.35 D-GN | 1661 | Driver Heated Seat High Temperature Indicator Control (KA1 or KB6) |
26 | 0.35 D-BU | 6180 | Passenger Heated Seat Switch Back Cushion Signal (KA1 or KB6) | 26 | 0.35 D-BU | 6180 | Passenger Heated Seat Switch Back Cushion Signal (KA1 or KB6) |
27 | 0.35 PU | 6181 | Passenger Heated Seat Switch Back LED (KA1 or KB6) | 27 | 0.35 PU | 6181 | Passenger Heated Seat Switch Back LED (KA1 or KB6) |
28 | 0.35 BN/WH | 1571 | Traction Control Switch Signal | 28 | 0.35 BN/WH | 1571 | Traction Control Switch Signal |
29 | 0.5 GY/BK | 1798 | Low Reference (without UK6) | 29 | 0.5 GY/BK | 1798 | Low Reference (without UK6) |
30-31 | -- | -- | Not Used | 30-31 | -- | -- | Not Used |
32 | 0.5 GY | 596 | 5-Volt Reference (without UK6) | 32 | 0.5 GY | 596 | 5-Volt Reference (without UK6) |
33 | 0.35 GY | 6182 | Passenger Heated Seat Switch Back Signal (KA1 or KB6) | 33 | 0.35 GY | 6182 | Passenger Heated Seat Switch Back Signal (KA1 or KB6) |
34 | 0.35 L-BU | 1662 | Driver Heated Seat Low Temperature Indicator Control (KA1 or KB6) | 34 | 0.35 L-BU | 1662 | Driver Heated Seat Low Temperature Indicator Control (KA1 or KB6) |
35 | 0.35 WH/BK | 6185 | Passenger Heated Seat Medium Indicator Control (KA1 or KB6) | 35 | 0.35 WH/BK | 6185 | Passenger Heated Seat Medium Indicator Control (KA1 or KB6) |
36 | 0.5 YE | 2214 | Auxiliary Air Temperature Door Control (without UK6) | 36 | 0.5 YE | 2214 | Auxiliary Air Temperature Door Control (without UK6) |
37 | 0.5 OG | 2615 | Auxiliary Mode Door Control (without UK6) | 37 | 0.5 OG | 2615 | Auxiliary Mode Door Control (without UK6) |
38 | 0.5 PU/WH | 760 | Auxiliary Blower Motor Speed Control (without UK6) | 38 | 0.5 PU/WH | 760 | Auxiliary Blower Motor Speed Control (without UK6) |
39 | 0.35 WH/BK | 6177 | Driver Heated Seat Medium Indicator Control (KA1 or KB6) | 39 | 0.35 WH/BK | 6177 | Driver Heated Seat Medium Indicator Control (KA1 or KB6) |
40 | 0.35 D-BU | 6172 | Driver Heated Seat Switch Back Cushion Signal (KA1 or KB6) | 40 | 0.35 D-BU | 6172 | Driver Heated Seat Switch Back Cushion Signal (KA1 or KB6) |
41 | -- | -- | Not Used | 41 | -- | -- | Not Used |
42 | 0.35 WH | 2283 | Rear Wiper/Washer Switch Voltage (W49) | 42 | 0.35 WH | 2283 | Rear Wiper/Washer Switch Voltage (W49) |
43 | 0.8 BK | 5683 | 120 VAC Phase A (KV1) | 43 | 0.8 BK | 5683 | 120 VAC Phase A (KV1) |
|
|
Connector Part Information
| Connector Part Information
|
Terminal Part Information
| Terminal Part Information
|
Pin | Wire | Circuit | Function | Pin | Wire | Circuit | Function |
|---|---|---|---|---|---|---|---|
A | 0.35 YE | 43 | Ignition Voltage | A | 0.35 WH | -- | Ignition Voltage |
B | 0.35 PU/WH | 1630 | Steering Column Key Cylinder Lock Solenoid Control | B | 0.35 WH | -- | Steering Column Key Cylinder Lock Solenoid Control |
C | 0.35 GY | 8 | Instrument Panel Lamp Voltage | C | 0.35 BU | -- | Instrument Panel Lamp Voltage |
D | 0.35 BK | 750 | Ground | D | 0.35 BU | -- | Ground |
E | 0.35 D-GN/WH | 1135 | A/T Shift Lock Control Solenoid Voltage | E | 0.35 BK | -- | A/T Shift Lock Control Solenoid Voltage |
F | 0.35 BK | 750 | Ground | F | 0.35 BK | -- | Ground |
G | 0.35 PU | 1375 | 12-Volt Reference | G | 0.35 GN | -- | 12-Volt Reference |
H | 0.35 PU | 5526 | Shift Request Switch Signal | H | 0.35 GN | -- | Shift Request Switch Signal |
|
|
Connector Part Information
| Connector Part Information
|
Terminal Part Information
| Terminal Part Information
|
Pin | Wire | Circuit | Function | Pin | Wire | Circuit | Function |
|---|---|---|---|---|---|---|---|
1 | 0.5 OG | 1732 | Courtesy Lamps Voltage | 1 | 0.8 OG | 1732 | Courtesy Lamps Voltage |
2 | 0.35 BN | 100 | Sunroof Switch Open Signal (C3U) | 2 | 0.35 BN | 100 | Sunroof Switch Open Signal (C3U) |
3 | 0.35 OG | 110 | Sunroof Switch Close Signal (C3U) | 3 | 0.35 OG | 110 | Sunroof Switch Close Signal (C3U) |
4-5 | -- | -- | Not Used | 4-5 | -- | -- | Not Used |
6 | 0.35 RD/WH | 3140 | Battery Positive Voltage (UG1) | 6 | 0.5 RD/WH | 3140 | Battery Positive Voltage (UG1) |
7 | 0.35 PU/WH | 1382 | LED Dimming Signal | 7 | 0.35 PU/WH | 1382 | LED Dimming Signal |
8 | 0.5 BK | 850 | Ground | 8 | 0.5 BK | 850 | Ground |
0.5 BK | 850 | Ground (DH6) | |||||
9 | 0.35 BARE | 514 | Ground (UE1) | 9 | 0.35 BARE | 514 | Ground (UE1) |
10 | 0.35 GY | 655 | Cellular Microphone Signal (UE1) | 10 | 0.35 GY | 655 | Cellular Microphone Signal (UE1) |
11-12 | -- | -- | Not Used | 11-12 | -- | -- | Not Used |
13 | 0.5 GY/BK | 690 | Courtesy Lamp High Control | 13 | 0.8 GY/BK | 690 | Courtesy Lamp High Control |
14 | 0.35 L-BU | 5304 | Front Sunshade Switch Open Signal (C3U) | 14 | 0.35 L-BU | 5304 | Front Sunshade Switch Open Signal (C3U) |
15 | 0.35 YE | 5305 | Front Sunshade Switch Close Signal (C3U) | 15 | 0.35 YE | 5305 | Front Sunshade Switch Close Signal (C3U) |
16 | 0.35 GY | 8 | Instrument Panel Lamp Voltage (C3U or UG1) | 16 | 0.5 GY | 8 | Instrument Panel Lamp Voltage (C3U or UG1) |
|
|
Connector Part Information
| Connector Part Information
|
Terminal Part Information
| Terminal Part Information
|
Pin | Wire | Circuit | Function | Pin | Wire | Circuit | Function |
|---|---|---|---|---|---|---|---|
A | 3 RD/WH | 2640 | Battery Positive Voltage | A | 2 RD/WH | 2640 | Battery Positive Voltage |
B | 0.35 L-BN | 5729 | Auxiliary Mode Motor Voltage | B | 0.5 L-GN/WH | 5729 | Auxiliary Mode Motor Voltage |
C | 0.35 OG | 2215 | Auxiliary Mode Door Control | C | 0.5 OG | 2215 | Auxiliary Mode Door Control |
D | 0.35 GY | 2614 | Auxiliary Air Temperature Door Control | D | 0.5 GY | 2614 | Auxiliary Air Temperature Door Control |
E | 0.35 GY | 2599 | Auxiliary Mode Door Control | E | 0.5 GY | 2599 | Auxiliary Mode Door Control |
F | 0.35 GY | 596 | 5-Volt Reference | F | 0.5 GY | 596 | 5-Volt Reference |
0.35 GY | 596 | 5-Volt Reference | |||||
G | 0.35 GY/BK | 1798 | Low Reference | G | 0.5 GY/BK | 1798 | Low Reference |
0.35 GY/BK | 1798 | Low Reference | |||||
H | 0.35 PK | 2145 | Air Temperature Switch Signal - Right | H | 0.5 PK | 2145 | Air Temperature Switch Signal - Right |
J | 0.35 D-GN | 2211 | Auxiliary Blower Motor Speed Control | J | 0.5 D-GN | 2211 | Auxiliary Blower Motor Speed Control |
K | 0.35 BN | 6555 | Auxiliary Temperature Motor Voltage | K | 0.5 BN | 6555 | Auxiliary Temperature Motor Voltage |
L | -- | -- | Not Used | L | -- | -- | Not Used |
M | 3 BK | 850 | Ground | M | 3 BK | 850 | Ground |
|
|
Connector Part Information
| Connector Part Information
|
Terminal Part Information
| Terminal Part Information
|
Pin | Wire | Circuit | Function | Pin | Wire | Circuit | Function |
|---|---|---|---|---|---|---|---|
1 | 1 RD/WH | 140 | Battery Positive Voltage | 1 | 1 RD/WH | 140 | Battery Positive Voltage |
2 | 1 BK | 750 | Ground | 2 | 1 BK | 750 | Ground |
|
|
Connector Part Information
| Connector Part Information
|
Terminal Part Information
| Terminal Part Information
|
Pin | Wire | Circuit | Function | Pin | Wire | Circuit | Function |
|---|---|---|---|---|---|---|---|
1 | 3 BK | 850 | Ground | 1 | 3 BK | 850 | Ground |
2 | 0.35 BN | 100 | Sunroof Switch Open Signal | 2 | 0.35 BN | 100 | Sunroof Switch Open Signal |
3 | 0.35 OG | 110 | Sunroof Switch Close Signal | 3 | 0.35 OG | 110 | Sunroof Switch Close Signal |
4 | -- | -- | Not Used | 4 | -- | -- | Not Used |
5 | 3 RD/WH | 3440 | Battery Positive Voltage | 5 | 3 RD/WH | 3440 | Battery Positive Voltage |
6 | 0.35 YE | 43 | Ignition Voltage | 6 | 0.35 YE | 43 | Ignition Voltage |
7 | 0.35 L-BU | 5304 | Front Sunshade Switch Open Signal | 7 | 0.35 D-BU | 5304 | Front Sunshade Switch Open Signal |
8 | 0.35 YE | 5305 | Front Sunshade Switch Close Signal | 8 | 0.35 YE/BK | 5305 | Front Sunshade Switch Close Signal |
9-10 | -- | -- | Not Used | 9 | PU | -- | Serial Communication |
10 | WH | -- | Serial Communication |
|
|
Connector Part Information
| Connector Part Information
|
Terminal Part Information
| Terminal Part Information
|
Pin | Wire | Circuit | Function | Pin | Wire | Circuit | Function |
|---|---|---|---|---|---|---|---|
A | 0.5 BN | 882 | Right Rear Wheel Speed Sensor Signal | 1A | 0.5 BN | 882 | Right Rear Wheel Speed Sensor Signal |
B | 0.5 WH | 883 | Low Reference | 1B | 0.5 WH | 883 | Low Reference |
C | 0.5 TN | 884 | Left Rear Wheel Speed Sensor Signal | 1C | 0.5 TN | 884 | Left Rear Wheel Speed Sensor Signal |
D | 0.5 OG | 885 | Low Reference | 1D | 0.5 OG | 885 | Low Reference |
A | 0.5 RD/WH | 1740 | Battery Positive Voltage (MH6) | 2A | 0.5 RD/WH | 1740 | Battery Positive Voltage (MH6) |
B | 0.5 BK | 650 | Ground (MH6) | 2B | 0.5 BK | 650 | Ground (MH6) |
C-D | -- | -- | Not Used | 2C-2D | -- | -- | Not Used |
A | 3 RD/WH | 2940 | Battery Positive Voltage | 3A | 3 RD/WH | 2940 | Battery Positive Voltage |
B | 0.35 PK | 439 | Ignition Voltage | 3B | 0.35 PK | 439 | Ignition Voltage |
C | 0.35 L-BU | 5986 | Communication Enable (MH6) | 3C | 0.35 L-BU | 5986 | Communication Enable (MH6) |
D | 0.35 TN/BK | 2500 | High Speed GMLAN Serial Data Bus+ | 3D | 0.35 TN/BK | 2500 | High Speed GMLAN Serial Data Bus+ |
E | 0.35 TN | 2501 | High Speed GMLAN Serial Data Bus- | 3E | 0.35 TN | 2501 | High Speed GMLAN Serial Data Bus- |
F | -- | -- | Not Used | 3F | -- | -- | Not Used |
G | 0.35 D-GN/WH | 465 | Fuel Pump Relay Control | 3G | 0.35 D-GN/WH | 465 | Fuel Pump Relay Control |
H | 3 BK | 650 | Ground | 3H | 3 BK | 650 | Ground |
|
|
Connector Part Information
| Connector Part Information
|
Terminal Part Information
| Terminal Part Information
|
Pin | Wire | Circuit | Function | Pin | Wire | Circuit | Function |
|---|---|---|---|---|---|---|---|
1 | 0.35 D-BU | 2374 | Object Sensor Voltage (UD7) | 1 | 0.35 D-BU | 2374 | Object Sensor Voltage (UD7) |
2 | 0.5 PU | 709 | Park Lamp Voltage (X88) | 2 | 0.5 PU | 709 | Park Lamp Voltage (X88) |
3 | 0.35 YE | 2375 | LR Corner Object Sensor Signal (UD7) | 3 | 0.35 YE | 2375 | LR Corner Object Sensor Signal (UD7) |
4 | 0.35 OG | 2376 | LR Middle Object Sensor Signal (UD7) | 4 | 0.35 OG | 2376 | LR Middle Object Sensor Signal (UD7) |
5 | 0.35 D-GN | 2377 | RR Middle Object Sensor Signal (UD7) | 5 | 0.35 D-GN | 2377 | RR Middle Object Sensor Signal (UD7) |
6 | 0.5 BK | 650 | Ground (X88) | 6 | 0.5 BK | 650 | Ground (X88) |
7 | 0.35 GY | 2379 | Low Reference (UD7) | 7 | 0.35 GY | 2379 | Low Reference (UD7) |
8 | 0.35 PU | 2378 | RR Corner Object Sensor Signal (UD7) | 8 | 0.35 PU | 2378 | RR Corner Object Sensor Signal (UD7) |
9-10 | -- | -- | Not Used | 9-10 | -- | -- | Not Used |
|
|
Connector Part Information
| Connector Part Information
|
Terminal Part Information
| Terminal Part Information
|
Pin | Wire | Circuit | Function | Pin | Wire | Circuit | Function |
|---|---|---|---|---|---|---|---|
1 | 2 RD/BK | 542 | Battery Positive Voltage (V92) | 1 | 2 RD/BK | 542 | Battery Positive Voltage (V92) |
2 | 0.5 YE | 1618 | Stop Lamp Voltage | 2 | 0.5 YE | 1618 | Stop Lamp Voltage |
3 | 0.5 L-GN | 1624 | Trailer Backup Lamps Voltage (V92) | 3 | 0.5 L-GN | 1624 | Trailer Backup Lamps Voltage (V92) |
4 | 0.5 BN | 2109 | Trailer Park Lamps Voltage | 4 | 0.5 BN | 2109 | Trailer Park Lamps Voltage |
5 | 2 D-BU | 47 | Trailer Auxiliary Voltage (V92) | 5 | 2 D-BU | 47 | Trailer Auxiliary Voltage (V92) |
6 | 0.5 D-GN | 1619 | Stop Lamp Voltage | 6 | 0.5 D-GN | 1619 | Stop Lamp Voltage |
7 | -- | -- | Not Used | 7 | -- | -- | Not Used |
8 | 2 BK | 850 | Ground (V92) | 8 | 2 BK | 850 | Ground (V92) |
0.5 BK | 850 | Ground (without V92) | 0.5 BK | 850 | Ground (without V92) |
|
|
Connector Part Information
| Connector Part Information
|
Terminal Part Information
| Terminal Part Information
|
Pin | Wire | Circuit | Function | Pin | Wire | Circuit | Function |
|---|---|---|---|---|---|---|---|
A | 0.8 D-GN | 19 | Right Rear Stop/Turn Lamp Voltage | A | 0.8 WH | -- | Right Rear Stop/Turn Lamp Voltage (W49) |
0.8 RD | -- | Right Rear Stop/Turn Lamp Voltage (X88) | |||||
B | 0.5 BN/WH | 309 | Right Park Lamp Voltage | B | 0.5 D-BU | -- | Right Park Lamp Voltage (W49) |
0.8 L-BU | -- | Right Park Lamp Voltage (X88) | |||||
C | 0.8 BK | 850 | Ground | C | 0.8 BK | -- | Ground |
|
|
Connector Part Information
| Connector Part Information
|
Terminal Part Information
| Terminal Part Information
|
Pin | Wire | Circuit | Function | Pin | Wire | Circuit | Function |
|---|---|---|---|---|---|---|---|
1 | 0.8 BK | 850 | Ground | 1 | BK | -- | Ground |
2 | 0.5 BN/WH | 309 | Right Park Lamp Voltage | 2 | L-BU | -- | Right Park Lamp Voltage |
3 | 0.8 D-GN | 19 | Right Rear Stop/Turn Lamp Voltage | 3 | RD | -- | Right Rear Stop/Turn Lamp Voltage |
|
|
Connector Part Information
| Connector Part Information
|
Terminal Part Information
| Terminal Part Information
|
Pin | Wire | Circuit | Function | Pin | Wire | Circuit | Function |
|---|---|---|---|---|---|---|---|
A | 0.8 YE | 18 | Left Rear Stop/Turn Lamp Voltage | A | 0.8 WH | -- | Left Rear Stop/Turn Lamp Voltage (W49) |
0.8 RD | -- | Left Rear Stop/Turn Lamp Voltage (X88) | |||||
B | 0.5 PU | 709 | Left Park Lamp Voltage | B | 0.5 D-BU | -- | Left Park Lamp Voltage (W49) |
0.8 L-BU | -- | Left Park Lamp Voltage (X88) | |||||
C | 0.8 BK | 650 | Ground | C | 0.8 BK | -- | Ground |
|
|
Connector Part Information
| Connector Part Information
|
Terminal Part Information
| Terminal Part Information
|
Pin | Wire | Circuit | Function | Pin | Wire | Circuit | Function |
|---|---|---|---|---|---|---|---|
1 | 0.8 BK | 650 | Ground | 1 | BK | -- | Ground |
2 | 0.5 PU | 709 | Left Park Lamp Voltage | 2 | L-BU | -- | Left Park Lamp Voltage |
3 | 0.8 YE | 18 | Left Rear Stop/Turn Lamp Voltage | 3 | RD | -- | Left Rear Stop/Turn Lamp Voltage |
|
|
Connector Part Information
| Connector Part Information
|
Terminal Part Information
| Terminal Part Information
|
Pin | Wire | Circuit | Function | Pin | Wire | Circuit | Function |
|---|---|---|---|---|---|---|---|
1 | 0.35 L-BU/WH | 280 | Power Window Master Switch Lockout Right Rear Signal (without AXC or AXE) | 1 | 0.35 L-BU/WH | 280 | Power Window Master Switch Lockout Right Rear Signal (without AXC or AXE) |
2 | 0.35 GY | 6175 | Driver Heated Seat Switch Back Signal (A45 with KA1 or KB6) | 2 | 0.35 GY | 6175 | Driver Heated Seat Switch Back Signal (A45 with KA1 or KB6) |
3 | -- | -- | Not Used | 3 | -- | -- | Not Used |
4 | 0.5 GY/BK | 745 | Left Front Door Ajar Switch Signal (without AXC or AXE) | 4 | 0.35 GY/BK | 745 | Left Front Door Ajar Switch Signal (without AXC or AXE) |
5 | -- | -- | Not Used | 5 | -- | -- | Not Used |
6 | 0.35 PU | 169 | Power Window Master Switch Left Rear Down Signal (without AXC or AXE) | 6 | 0.35 PU | 169 | Power Window Master Switch Left Rear Down Signal (without AXC or AXE) |
7 | 0.5 L-BU/WH | 1314 | Left Turn Signal Indicator Lamp Voltage (DNP or DNT or DS3) | 7 | 0.5 L-BU/WH | 1314 | Left Turn Signal Indicator Lamp Voltage (DNP or DNT or DS3) |
8 | 0.5 OG | 2267 | Mirror Heating Element Voltage (DS3) | 8 | 0.5 OG | 2267 | Mirror Heating Element Voltage (DS3) |
9 | 0.35 PU | 6174 | Driver Heated Seat Switch Back LED (A45 with KA1 or KB6) | 9 | 0.35 PU | 6174 | Driver Heated Seat Switch Back LED (A45 with KA1 or KB6) |
10 | 0.35 PU/WH | 889 | Passenger Mirror Motor Down Control (DL6 or DS3) | 10 | 0.35 PU/WH | 889 | Passenger Mirror Motor Down Control (DL6 or DS3) |
11 | 0.35 D-GN | 168 | Power Window Master Switch Left Rear Up Signal (without AXC or AXE) | 11 | 0.35 D-GN | 168 | Power Window Master Switch Left Rear Up Signal (without AXC or AXE) |
12 | 0.35 OG/WH | 881 | Passenger Mirror Motor Right Control (DL6 or DS3) | 12 | 0.35 OG/WH | 881 | Passenger Mirror Motor Right Control (DL6 or DS3) |
13 | 0.35 D-BU | 1307 | Power Window Master Switch Lockout Signal (without AXC or AXE) | 13 | 0.35 D-BU | 1307 | Power Window Master Switch Lockout Signal (without AXC or AXE) |
14 | 0.35 TN/WH | 330 | Passenger Mirror Motor Voltage (DL6 or DS3) | 14 | 0.35 TN/WH | 330 | Passenger Mirror Motor Voltage (DL6 or DS3) |
15 | 3 BK | 550 | Ground | 15 | 3 BK | 550 | Ground |
16 | 0.35 D-BU | 6172 | Driver Heated Seat Switch Back Cushion Signal (A45 with KA1 or KB6) | 16 | 0.35 D-BU | 6172 | Driver Heated Seat Switch Back Cushion Signal (A45 with KA1 or KB6) |
17 | 1 RD/WH | 3240 | Battery Positive Voltage (AXC or AXE) | 17 | 1 RD/WH | 3240 | Battery Positive Voltage (AXC or AXE) |
18 | 0.35 BN | 6173 | Driver Heated Seat Switch Back Cushion LED (A45 with KA1 or KB6) | 18 | 0.35 BN | 6173 | Driver Heated Seat Switch Back Cushion LED (A45 with KA1 or KB6) |
19 | 0.8 GY | 118 | Left Front Speaker Output (-) | 19 | 0.8 GY | 118 | Left Front Speaker Output (-) |
20 | 0.35 WH/BK | 6177 | Driver Heated Seat Medium Indicator Control (A45 with KA1 or KB6) | 20 | 0.35 WH/BK | 6177 | Driver Heated Seat Medium Indicator Control (A45 with KA1 or KB6) |
21 | 0.5 RD/WH | 1940 | Battery Positive Voltage (DL6 or DS3) | 21 | 0.5 RD/WH | 1940 | Battery Positive Voltage (DL6 or DS3) |
22 | 0.8 TN | 201 | Left Front Speaker Output (+) | 22 | 1 TN | 201 | Left Front Speaker Output (+) |
23 | 3 RD/WH | 3340 | Battery Positive Voltage (without AXC or AXE) | 23 | 3 RD/WH | 3340 | Battery Positive Voltage |
2 RD/WH | 3340 | Battery Positive Voltage (AXC or AXE) | |||||
24 | 0.8 TN | 694 | Driver Door Lock Actuator Unlock Control (without AXC or AXE) | 24 | 1 TN | 694 | Driver Door Lock Actuator Unlock Control (without AXC or AXE) |
25 | 0.35 L-BU | 1662 | Driver Heated Seat Low Temperature Indicator Control (A45 with KA1 or KB6) | 25 | 0.35 L-BU | 1662 | Driver Heated Seat Low Temperature Indicator Control (A45 with KA1 or KB6) |
26 | 0.8 GY | 295 | Door Lock Actuator Lock Control (without AXC or AXE) | 26 | 1 GY | 295 | Door Lock Actuator Lock Control (without AXC or AXE) |
27 | 0.35 D-GN | 1661 | Driver Heated Seat High Temperature Indicator Control (A45 with KA1 or KB6) | 27 | 0.35 D-GN | 1661 | Driver Heated Seat High Temperature Indicator Control (A45 with KA1 or KB6) |
0.35 GY | 8 | Instrument Panel Lamp Voltage (without AXC or AXE or DL6 or DS3) | 0.5 GY | 8 | Instrument Panel Lamp Voltage (without AXC or AXE or DL6 or DS3) | ||
28 | 0.35 L-BU | 166 | Power Window Master Switch Right Front Up Signal (without AXC or AXE) | 28 | 0.35 L-BU | 166 | Power Window Master Switch Right Front Up Signal (without AXC or AXE) |
29 | 0.35 TN | 167 | Power Window Master Switch Right Front Down Signal (without AXC or AXE) | 29 | 0.35 TN | 167 | Power Window Master Switch Right Front Down Signal (without AXC or AXE) |
30 | 0.35 GY | 1690 | Automatic Day/Night Mirror Signal (DNP) | 30 | 0.35 GY | 1690 | Automatic Day/Night Mirror Signal (DNP) |
31 | 0.35 PK | 1691 | Low Reference (DNP) | 31 | 0.35 PK | 1691 | Low Reference (DNP) |
32 | 0.35 WH | 2132 | Side Impact Sensing Module - Left - Signal | 32 | 0.35 WH | 2132 | Side Impact Sensing Module - Left - Signal |
33 | 0.35 PU/WH | 6628 | Low Reference | 33 | 0.35 PU/WH | 6628 | Low Reference |
34 | 0.5 OG/BK | 781 | Driver Door Lock Switch Unlock Signal (without AXC or AXE) | 34 | 0.35 OG/BK | 781 | Driver Door Lock Switch Unlock Signal (without AXC or AXE) |
35 | 0.5 PK/BK | 780 | Driver Door Lock Switch Lock Signal (without AXC or AXE) | 35 | 0.35 PK/BK | 780 | Driver Door Lock Switch Lock Signal (without AXC or AXE) |
36 | 0.35 PU/WH | 1382 | LED Dimming Signal (without AXC or AXE) | 36 | 0.35 PU/WH | 1382 | LED Dimming Signal (without AXC or AXE) |
0.35 D-GN | 5060 | Low Speed GMLAN Serial Data (AXC or AXE) | 0.35 D-GN | 5060 | Low Speed GMLAN Serial Data (AXC or AXE) | ||
37 | 0.35 PU | 171 | Power Window Master Switch Right Rear Down Signal (without AXC or AXE) | 37 | 0.35 PU | 171 | Power Window Master Switch Right Rear Down Signal (without AXC or AXE) |
38 | 0.35 YE | 43 | Ignition Voltage (without AXC or AXE) | 38 | 0.35 YE | 43 | Ignition Voltage (without AXC or AXE) |
39 | 0.35 L-GN | 170 | Power Window Master Switch Right Rear Up Signal (without AXC or AXE) | 39 | 0.35 L-GN | 170 | Power Window Master Switch Right Rear Up Signal (without AXC or AXE) |
40 | -- | -- | Not Used | 40 | -- | -- | Not Used |
|
|
Connector Part Information
| Connector Part Information
|
Terminal Part Information
| Terminal Part Information
|
Pin | Wire | Circuit | Function | Pin | Wire | Circuit | Function |
|---|---|---|---|---|---|---|---|
1 | 2 BK | 550 | Ground (AXC or AXE) | 1 | 3 BK | 550 | Ground |
3 BK | 550 | Ground (without AXC or AXE) | |||||
2 | 0.5 RD/WH | 1940 | Battery Positive Voltage (DL6 or DS3) | 2 | 0.5 RD/WH | 1940 | Battery Positive Voltage (DL6 or DS3) |
3 | 0.35 GY | 6175 | Driver Heated Seat Switch Back Signal (A45 with KA1 or KB6) | 3 | 0.35 GY | 6175 | Driver Heated Seat Switch Back Signal (A45 with KA1 or KB6) |
4 | 0.35 OG/WH | 881 | Passenger Mirror Motor Right Control (DL6 or DS3) | 4 | 0.35 OG/WH | 881 | Passenger Mirror Motor Right Control (DL6 or DS3) |
0.35 PU | 6174 | Driver Heated Seat Switch Back LED (A45 with KA1 or KB6) | 0.35 PU | 6174 | Driver Heated Seat Switch Back LEDl (A45 with KA1 or KB6) | ||
5 | 1 RD/WH | 3240 | Battery Positive Voltage (AXC or AXE) | 5 | 1 RD/WH | 3240 | Battery Positive Voltage (AXC or AXE) |
3 RD/WH | 3340 | Battery Positive Voltage (without AXC or AXE) | 3 RD/WH | 3340 | Battery Positive Voltage (without AXC or AXE) | ||
6 | 0.35 PU/WH | 889 | Passenger Mirror Motor Down Control (DL6 or DS3) | 6 | 0.35 PU/WH | 889 | Passenger Mirror Motor Down Control (DL6 or DS3) |
0.35 BN | 6173 | Driver Heated Seat Switch Back Cushion LED (A45 with KA1 or KB6) | 0.35 BN | 6173 | Driver Heated Seat Switch Back Cushion LED (A45 with KA1 or KB6) | ||
7 | 3 BN | 165 | Power Window Motor Left Front Down Control (without AXC or AXE) | 7 | 3 BN | 165 | Power Window Motor Left Front Down Control (without AXC or AXE) |
0.5 TN | 694 | Driver Door Lock Actuator Unlock Control (AXC or AXE) | 0.5 TN | 694 | Driver Door Lock Actuator Unlock Control (AXC or AXE) | ||
8 | 0.35 TN/WH | 330 | Passenger Mirror Motor Voltage (DL6 or DS3) | 8 | 0.35 TN/WH | 330 | Passenger Mirror Motor Voltage (DL6 or DS3) |
0.35 WH/BK | 6177 | Driver Heated Seat Medium Indicator Control (A45 with KA1 or KB6) | 0.35 WH/BK | 6177 | Driver Heated Seat Medium Indicator Control (A45 with KA1 or KB6) | ||
9 | 3 D-BU | 164 | Power Window Motor Left Front Up Control (without AXC or AXE) | 9 | 3 D-BU | 164 | Power Window Motor Left Front Up Control (without AXC or AXE) |
0.5 GY | 295 | Door Lock Actuator Lock Control (AXC or AXE) | 0.5 GY | 295 | Door Lock Actuator Lock Control (AXC or AXE) | ||
10 | 0.35 GY | 8 | Instrument Panel Lamp Voltage (DL6 or DS3 without AXC or AXE) | 10 | 0.35 GY | 8 | Instrument Panel Lamp Voltage (DL6 or DS3 without AXC or AXE) |
|
|
Connector Part Information
| Connector Part Information
|
Terminal Part Information
| Terminal Part Information
|
Pin | Wire | Circuit | Function | Pin | Wire | Circuit | Function |
|---|---|---|---|---|---|---|---|
1 | 0.35 TN | 329 | Driver Mirror Motor Voltage (DL6 or DS3) | 1 | 0.35 TN | 329 | Driver Mirror Motor Voltage (DL6 or DS3) |
2 | 0.35 GY | 1690 | Automatic Day/Night Mirror Signal (DNP) | 2 | 0.35 GY | 1690 | Automatic Day/Night Mirror Signal (DNP) |
0.35 L-BU/WH | 280 | Power Window Master Switch Lockout Right Rear Signal (without AXC or AXE) | 0.35 L-BU/WH | 280 | Power Window Master Switch Lockout Right Rear Signal (without AXC or AXE) | ||
3 | -- | -- | Not Used | 3 | -- | -- | Not Used |
4 | 0.35 WH | 81 | Driver Mirror Motor Right Control (DL6 or DS3) | 4 | 0.35 WH | 81 | Driver Mirror Motor Right Control (DL6 or DS3) |
5 | 0.35 L-GN | 89 | Left Mirror Motor Down Control (DL6 or DS3) | 5 | 0.35 L-GN | 89 | Left Mirror Motor Down Control (DL6 or DS3) |
0.5 GY/BK | 745 | Left Front Door Ajar Switch Signal (AXC or AXE) | 0.5 GY/BK | 745 | Left Front Door Ajar Switch Signal (AXC or AXE) | ||
6 | 0.35 YE | 43 | Ignition Voltage (without AXC or AXE) | 6 | 0.35 YE | 43 | Ignition Voltage (without AXC or AXE) |
0.35 D-BU | 6172 | Driver Heated Seat Switch Back Cushion Signal (A45 with KA1 or KB6) | 0.35 D-BU | 6172 | Driver Heated Seat Switch Back Cushion Signal (A45 with KA1 or KB6) | ||
7 | 0.5 L-BU/WH | 1314 | Left Turn Signal Indicator Lamp Voltage (A45 with DNP or DNT or DS3) | 7 | 0.5 L-BU/WH | 1314 | Left Turn Signal Indicator Lamp Voltage (A45 with DNP or DNT or DS3) |
0.35 L-BU | 166 | Power Window Master Switch Right Front Up Signal (without AXC or AXE) | 0.35 L-BU | 166 | Power Window Master Switch Right Front Up Signal (without AXC or AXE) | ||
8 | 0.35 D-BU | 1307 | Power Window Master Switch Lockout Signal (without AXC or AXE) | 8 | 0.35 D-BU | 1307 | Power Window Master Switch Lockout Signal (without AXC or AXE) |
9 | 0.35 PK | 1691 | Low Reference (DNP) | 9 | 0.35 PK | 1691 | Low Reference (DNP) |
0.35 TN | 167 | Power Window Master Switch Right Front Down Signal (without AXC or AXE) | 0.35 TN | 167 | Power Window Master Switch Right Front Down Signal (without AXC or AXE) | ||
10 | 0.35 D-GN | 1661 | Driver Heated Seat High Temperature Indicator Control (A45 with KA1 or KB6) | 10 | 0.35 D-GN | 1661 | Driver Heated Seat High Temperature Indicator Control (A45 with KA1 or KB6) |
0.35 D-GN | 168 | Power Window Master Switch Left Rear Up Signal (without AXC or AXE) | 0.35 D-GN | 168 | Power Window Master Switch Left Rear Up Signal (without AXC or AXE) | ||
11 | 0.35 D-GN | 5060 | Low Speed GMLAN Serial Data (AXC or AXE) | 11 | 0.35 D-GN | 5060 | Low Speed GMLAN Serial Data (AXC or AXE) |
0.35 PU | 169 | Power Window Master Switch Left Rear Down Signal (without AXC or AXE) | 0.35 PU | 169 | Power Window Master Switch Left Rear Down Signal (without AXC or AXE) | ||
12 | 0.5 YE | 5942 | Low Reference (AXC or AXE) | 12 | 0.5 YE | 5942 | Low Reference (AXC or AXE) |
0.35 PU/WH | 1382 | LED Dimming Signal (without AXC or AXE) | 0.35 PU/WH | 1382 | LED Dimming Signal (without AXC or AXE) | ||
13 | 0.35 BN | 6132 | Linear Interconnect Network Bus (AXC or AXE) | 13 | 0.35 BN | 6132 | Linear Interconnect Network Bus (AXC or AXE) |
0.35 PU | 171 | Power Window Master Switch Right Rear Down Signal (without AXC or AXE) | 0.35 PU | 171 | Power Window Master Switch Right Rear Down Signal (without AXC or AXE) | ||
14 | 0.5 OG/BK | 781 | Driver Door Lock Switch Unlock Signal (without AXC or AXE) | 14 | 0.5 OG/BK | 781 | Driver Door Lock Switch Unlock Signal (without AXC or AXE) |
15 | 0.5 PK/BK | 780 | Driver Door Lock Switch Lock Signal (without AXC or AXE) | 15 | 0.5 PK/BK | 780 | Driver Door Lock Switch Lock Signal (without AXC or AXE) |
0.35 L-BU | 1662 | Driver Heated Seat Low Temperature Indicator Control (A45 with KA1 or KB6) | 0.35 L-BU | 1662 | Driver Heated Seat Low Temperature Indicator Control (A45 with KA1 or KB6) | ||
16 | 0.35 L-GN | 170 | Power Window Master Switch Right Rear Up Signal (without AXC or AXE) | 16 | 0.35 L-GN | 170 | Power Window Master Switch Right Rear Up Signal (without AXC or AXE) |
|
|
Connector Part Information
| Connector Part Information
|
Terminal Part Information
| Terminal Part Information
|
Pin | Wire | Circuit | Function | Pin | Wire | Circuit | Function |
|---|---|---|---|---|---|---|---|
1-3 | -- | -- | Not Used | 1-3 | -- | -- | Not Used |
4 | 0.5 TN/WH | 746 | Right Front Door Ajar Switch Signal (without AXC or AXE) | 4 | 0.5 TN/WH | 746 | Right Front Door Ajar Switch Signal (without AXC or AXE) |
5 | 0.35 BN | 6179 | Passenger Heated Seat Switch Back Cushion LED (A45 with KA1 or KB6) | 5 | 0.35 BN | 6179 | Passenger Heated Seat Switch Back Cushion LED (A45 with KA1 or KB6) |
6 | 0.35 PU | 6181 | Passenger Heated Seat Switch Back LED (A45 with KA1 or KB6) | 6 | 0.35 PU | 6181 | Passenger Heated Seat Switch Back LED (A45 with KA1 or KB6) |
7 | 0.5 D-BU/WH | 1315 | Right Turn Signal Indicator Lamp Voltage (DNP or DNT or or DS3) | 7 | 0.5 D-BU/WH | 1315 | Right Turn Signal Indicator Lamp Voltage (DNP or DNT or DS3) |
8 | 0.5 OG | 2267 | Mirror Heating Element Voltage (DS3) | 8 | 0.5 OG | 2267 | Mirror Heating Element Voltage (DS3) |
9 | -- | -- | Not Used | 9 | -- | -- | Not Used |
10 | 0.35 PU/WH | 889 | Passenger Mirror Motor Down Control (DL6 or DS3) | 10 | 0.35 PU/WH | 889 | Passenger Mirror Motor Down Control (DL6 or DS3) |
11 | 0.35 GY | 6182 | Passenger Heated Seat Switch Back Signal (A45 with KA1 or KB6) | 11 | 0.35 GY | 6182 | Passenger Heated Seat Switch Back Signal (A45 with KA1 or KB6) |
12 | 0.35 OG/WH | 881 | Passenger Mirror Motor Right Control (DL6 or DS3) | 12 | 0.35 OG/WH | 881 | Passenger Mirror Motor Right Control (DL6 or DS3) |
13 | 0.35 WH/BK | 6185 | Passenger Heated Seat Medium Indicator Control (A45 with KA1 or KB6) | 13 | 0.35 WH/BK | 6185 | Passenger Heated Seat Medium Indicator Control (A45 with KA1 or KB6) |
14 | 0.35 TN/WH | 330 | Passenger Mirror Motor Voltage (DL6 or DS3) | 14 | 0.35 TN/WH | 330 | Passenger Mirror Motor Voltage (DL6 or DS3) |
15 | 2 BK | 750 | Ground | 15 | 2 BK | 750 | Ground |
16 | 0.35 D-BU | 6180 | Passenger Heated Seat Switch Back Cushion Signal (A45 with KA1 or KB6) | 16 | 0.35 D-BU | 6180 | Passenger Heated Seat Switch Back Cushion Signal (A45 with KA1 or KB6) |
17 | 2 RD/WH | 3340 | Battery Positive Voltage | 17 | 2 RD/WH | 3340 | Battery Positive Voltage |
18 | -- | -- | Not Used | 18 | -- | -- | Not Used |
19 | 0.8 D-GN | 117 | Right Front Speaker Output (-) | 19 | 0.8 D-GN | 117 | Right Front Speaker Output (-) |
20 | -- | -- | Not Used | 20 | -- | -- | Not Used |
21 | 0.8 RD/WH | 840 | Battery Positive Voltage (AXC or AXE) | 21 | 0.8 RD/WH | 840 | Battery Positive Voltage (AXC or AXE) |
22 | 0.8 L-GN | 200 | Right Front Speaker Output (+) | 22 | 0.8 L-GN | 200 | Right Front Speaker Output (+) |
23 | -- | -- | Not Used | 23 | -- | -- | Not Used |
24 | 0.8 TN | 294 | Door Lock Actuator Unlock Control (without AXC or AXE) | 24 | 1 TN | 294 | Door Lock Actuator Unlock Control (without AXC or AXE) |
25 | 0.35 TN | 1686 | Passenger Heated Seat Low Temperature Indicator Control (A45 with KA1 or KB6) | 25 | 0.35 TN | 1686 | Passenger Heated Seat Low Temperature Indicator Control (A45 with KA1 or KB6) |
26 | 0.8 GY | 295 | Door Lock Actuator Lock Control (without AXC or AXE) | 26 | 1 GY | 295 | Door Lock Actuator Lock Control (without AXC or AXE) |
27 | 0.35 GY | 8 | Instrument Panel Lamp Voltage (without AXC or AXE) | 27 | 0.5 GY | 8 | Instrument Panel Lamp Voltage (without AXC or AXE) |
0.35 YE | 1685 | Passenger Heated Seat High Temperature Indicator Control (A45 with KA1 or KB6) | 0.35 YE | 1685 | Passenger Heated Seat High Temperature Indicator Control (A45 with KA1 or KB6) | ||
28 | 0.35 L-BU | 166 | Power Window Master Switch Right Front Up Signal (without AXC or AXE) | 28 | 0.35 L-BU | 166 | Power Window Master Switch Right Front Up Signal (without AXC or AXE) |
29 | 0.35 TN | 167 | Power Window Master Switch Right Front Down Signal (without AXC or AXE) | 29 | 0.35 TN | 167 | Power Window Master Switch Right Front Down Signal (without AXC or AXE) |
30-31 | -- | -- | Not Used | 30-31 | -- | -- | Not Used |
32 | 0.35 D-GN | 2134 | Side Impact Sensing Module - Right - Signal | 32 | 0.35 D-GN | 2134 | Side Impact Sensing Module - Right - Signal |
33 | 0.35 WH/BK | 6629 | Low Reference | 33 | 0.35 WH/BK | 6629 | Low Reference |
34 | 0.5 D-BU | 245 | Passenger Door Lock Switch Unlock (without AXC or AXE) | 34 | 0.35 D-BU | 245 | Passenger Door Lock Switch Unlock (without AXC or AXE) |
35 | 0.5 L-BU | 244 | Passenger Door Lock Switch Lock (without AXC or AXE) | 35 | 0.35 L-BU | 244 | Passenger Door Lock Switch Lock (without AXC or AXE) |
36 | 0.35 D-GN | 5060 | Low Speed GMLAN Serial Data (AXC or AXE) | 36 | 0.35 D-GN | 5060 | Low Speed GMLAN Serial Data (AXC or AXE) |
37 | -- | -- | Not Used | 37 | -- | -- | Not Used |
38 | 0.35 YE | 43 | Ignition Voltage (without AXC or AXE) | 38 | 0.35 YE | 43 | Ignition Voltage (without AXC or AXE) |
39-40 | -- | -- | Not Used | 39-40 | -- | -- | Not Used |
|
|
Connector Part Information
| Connector Part Information
|
Terminal Part Information
| Terminal Part Information
|
Pin | Wire | Circuit | Function | Pin | Wire | Circuit | Function |
|---|---|---|---|---|---|---|---|
1 | 2 RD/WH | 3340 | Battery Positive Voltage (without AXC) | 1 | 2 RD/WH | 3340 | Battery Positive Voltage (without AXC) |
2 | 0.35 BN | 6179 | Passenger Heated Seat Switch Back Cushion LED (A45 with KA1 or KB6) | 2 | 0.35 BN | 6179 | Passenger Heated Seat Switch Back Cushion LED (A45 with KA1 or KB6) |
3 | 0.35 GY | 8 | Instrument Panel Lamp Voltage (without AXC or AXE) | 3 | 0.35 GY | 8 | Instrument Panel Lamp Voltage (without AXC or AXE) |
0.5 GY | 295 | Door Lock Actuator Lock Control (AXC or AXE) | 0.5 GY | 295 | Door Lock Actuator Lock Control (AXC or AXE) | ||
4 | 0.35 PU | 6181 | Passenger Heated Seat Switch Back LED (A45 with KA1 or KB6) | 4 | 0.35 PU | 6181 | Passenger Heated Seat Switch Back LED (A45 with KA1 or KB6) |
5 | 2 BK | 750 | Ground | 5 | 2 BK | 750 | Ground |
6 | 0.35 GY | 6182 | Passenger Heated Seat Switch Back Signal (A45 with KA1 or KB6) | 6 | 0.35 GY | 6182 | Passenger Heated Seat Switch Back Signal (A45 with KA1 or KB6) |
7 | 2 BN | 667 | Power Window Motor Right Front Down Control (without AXC) | 7 | 2 BN | 667 | Power Window Motor Right Front Down Control (without AXC) |
8 | 0.5 TN | 294 | Door Lock Actuator Unlock Control (AXC or AXE) | 8 | 0.5 TN | 294 | Door Lock Actuator Unlock Control (AXC or AXE) |
9 | 2 D-BU | 666 | Power Window Motor Right Front Up Control (without AXC) | 9 | 2 D-BU | 666 | Power Window Motor Right Front Up Control (without AXC) |
10 | 0.35 WH/BK | 6185 | Passenger Heated Seat Medium Indicator Control (A45 with KA1 or KB6) | 10 | 0.35 WH/BK | 6185 | Passenger Heated Seat Medium Indicator Control (A45 with KA1 or KB6) |
|
|
Connector Part Information
| Connector Part Information
|
Terminal Part Information
| Terminal Part Information
|
Pin | Wire | Circuit | Function | Pin | Wire | Circuit | Function |
|---|---|---|---|---|---|---|---|
1 | 0.35 YE | 43 | Ignition Voltage (without AXC or AXE) | 1 | 0.35 YE | 43 | Ignition Voltage (without AXC or AXE) |
2 | -- | -- | Not Used | 2 | -- | -- | Not Used |
3 | 0.5 TN/WH | 746 | Right Front Door Ajar Switch Signal (AXC or AXE) | 3 | 0.5 TN/WH | 746 | Right Front Door Ajar Switch Signal (AXC or AXE) |
4 | -- | -- | Not Used | 4 | -- | -- | Not Used |
5 | 0.5 D-BU/WH | 1315 | Right Turn Signal Indicator Lamp Voltage (DNP or DNT or DS3) | 5 | 0.5 D-BU/WH | 1315 | Right Turn Signal Indicator Lamp Voltage (DNP or DNT or DS3) |
6 | 0.35 D-BU | 6180 | Passenger Heated Seat Switch Back Cushion Signal (A45 with KA1 or KB6) | 6 | 0.35 D-BU | 6180 | Passenger Heated Seat Switch Back Cushion Signal (A45 with KA1 or KB6) |
7 | 0.35 YE | 1685 | Passenger Heated Seat High Temperature Indicator Control (A45 with KA1 or KB6) | 7 | 0.35 YE | 1685 | Passenger Heated Seat High Temperature Indicator Control (A45 with KA1 or KB6) |
8 | 0.35 L-BU | 166 | Power Window Master Switch Right Front Up Signal (without AXC or AXE) | 8 | 0.35 L-BU | 166 | Power Window Master Switch Right Front Up Signal (without AXC or AXE) |
9 | -- | -- | Not Used | 9 | -- | -- | Not Used |
10 | 0.8 RD/WH | 840 | Battery Positive Voltage (AXC or AXE) | 10 | 0.8 RD/WH | 840 | Battery Positive Voltage (AXC or AXE) |
11 | 0.35 D-GN | 5060 | Low Speed GMLAN Serial Data (AXC or AXE) | 11 | 0.35 D-GN | 5060 | Low Speed GMLAN Serial Data (AXC or AXE) |
12 | 0.5 YE | 5943 | Low Reference (AXC or AXE) | 12 | 0.5 YE | 5943 | Low Reference (AXC or AXE) |
0.35 TN | 167 | Power Window Master Switch Right Front Down Signal (without AXC or AXE) | 0.35 TN | 167 | Power Window Master Switch Right Front Down Signal (without AXC or AXE) | ||
13 | 0.35 D-BU | 6133 | Linear Interconnect Network Bus (AXC) | 13 | 0.35 D-BU | 6133 | Linear Interconnect Network Bus (AXC) |
14 | 0.5 L-BU | 244 | Passenger Door Lock Switch Lock (without AXC or AXE) | 14 | 0.5 L-BU | 244 | Passenger Door Lock Switch Lock (without AXC or AXE) |
15 | 0.35 TN | 1686 | Passenger Heated Seat Low Temperature Indicator Control (A45 with KA1 or KB6) | 15 | 0.35 TN | 1686 | Passenger Heated Seat Low Temperature Indicator Control (A45 with KA1 or KB6) |
16 | 0.5 D-BU | 245 | Passenger Door Lock Switch Unlock (without AXC or AXE) | 16 | 0.5 D-BU | 245 | Passenger Door Lock Switch Unlock (without AXC or AXE) |
|
|
Connector Part Information
| Connector Part Information
|
Terminal Part Information
| Terminal Part Information
|
Pin | Wire | Circuit | Function | Pin | Wire | Circuit | Function |
|---|---|---|---|---|---|---|---|
1 | 2 RD/WH | 3340 | Battery Positive Voltage | 1 | 2 RD/WH | 3340 | Battery Positive Voltage |
2-3 | -- | -- | Not Used | 2-3 | -- | -- | Not Used |
4 | 0.8 GY | 295 | Door Lock Actuator Lock Control | 4 | 1 GY | 295 | Door Lock Actuator Lock Control |
5 | 0.8 TN | 294 | Door Lock Actuator Unlock Control | 5 | 1 TN | 294 | Door Lock Actuator Unlock Control |
6-7 | -- | -- | Not Used | 6-7 | -- | -- | Not Used |
8 | 2 BK | 550 | Ground | 8 | 2 BK | 550 | Ground |
9 | 0.5 L-BU/BK | 747 | Left Rear Door Ajar Switch Signal | 9 | 0.35 L-BU/BK | 747 | Left Rear Door Ajar Switch Signal |
10 | -- | -- | Not Used | 10 | -- | -- | Not Used |
11 | 0.35 PU | 169 | Power Window Master Switch Left Rear Down Signal | 11 | 0.35 PU | 169 | Power Window Master Switch Left Rear Down Signal |
12 | 0.35 D-GN | 168 | Power Window Master Switch Left Rear Up Signal | 12 | 0.35 D-GN | 168 | Power Window Master Switch Left Rear Up Signal |
13 | 0.35 D-BU | 1307 | Power Window Master Switch Lockout Signal | 13 | 0.35 D-BU | 1307 | Power Window Master Switch Lockout Signal |
14 | 0.35 L-BU | 6622 | Left Rear Side Impact Sensing Module Signal | 14 | 0.35 L-BU | 6622 | Left Rear Side Impact Sensing Module Signal |
15 | 0.35 L-GN/BK | 6623 | Low Reference | 15 | 0.35 L-GN/BK | 6623 | Low Reference |
16 | -- | -- | Not Used | 16 | -- | -- | Not Used |
17 | 0.8 YE | 116 | Left Rear Speaker Output (-) | 17 | 0.8 YE | 116 | Left Rear Speaker Output (-) (UQA or UQS) |
0.5 YE | 116 | Left Rear Speaker Output (-) (UQF) | |||||
18 | 0.8 BN | 199 | Left Rear Speaker Output (+) | 18 | 0.8 BN | 199 | Left Rear Speaker Output (+) (UQA or UQS) |
0.5 BN | 199 | Left Rear Speaker Output (+) (UQF) | |||||
19 | -- | -- | Not Used | 19 | -- | -- | Not Used |
|
|
Connector Part Information
| Connector Part Information
|
Terminal Part Information
| Terminal Part Information
|
Pin | Wire | Circuit | Function | Pin | Wire | Circuit | Function |
|---|---|---|---|---|---|---|---|
1 | 2 RD/WH | 3340 | Battery Positive Voltage | 1 | 2 RD/WH | 3340 | Battery Positive Voltage |
2-3 | -- | -- | Not Used | 2-3 | -- | -- | Not Used |
4 | 0.8 GY | 295 | Door Lock Actuator Lock Control | 4 | 1 GY | 295 | Door Lock Actuator Lock Control |
5 | 0.8 TN | 294 | Door Lock Actuator Unlock Control | 5 | 1 TN | 294 | Door Lock Actuator Unlock Control |
6-7 | -- | -- | Not Used | 6-7 | -- | -- | Not Used |
8 | 2 BK | 750 | Ground | 8 | 2 BK | 750 | Ground |
9 | 0.5 L-GN/BK | 748 | Right Rear Door Ajar Switch Signal | 9 | 0.35 L-GN/BK | 748 | Right Rear Door Ajar Switch Signal |
10 | -- | -- | Not Used | 10 | -- | -- | Not Used |
11 | 0.35 PU | 171 | Power Window Master Switch Right Rear Down Signal | 11 | 0.35 PU | 171 | Power Window Master Switch Right Rear Down Signal |
12 | 0.35 L-BU/WH | 280 | Power Window Master Switch Lockout Right Rear Signal | 12 | 0.35 L-BU/WH | 280 | Power Window Master Switch Lockout Right Rear Signal |
13 | 0.35 L-GN | 170 | Power Window Master Switch Right Rear Up Signal | 13 | 0.35 L-GN | 170 | Power Window Master Switch Right Rear Up Signal |
14 | 0.35 L-BU/WH | 6626 | Right Rear Side Impact Sensing Module Signal | 14 | 0.35 L-BU/WH | 6626 | Right Rear Side Impact Sensing Module Signal |
15 | 0.35 PK/BK | 6627 | Low Reference | 15 | 0.35 PK/BK | 6627 | Low Reference |
16 | -- | -- | Not Used | 16 | -- | -- | Not Used |
17 | 0.8 L-BU | 115 | Right Rear Speaker Output (-) | 17 | 0.8 L-BU | 115 | Right Rear Speaker Output (-) (UQA or UQS) |
0.5 L-BU | 115 | Right Rear Speaker Output (-) (UQF) | |||||
18 | 0.8 D-BU | 46 | Right Rear Speaker Output (+) | 18 | 0.8 D-BU | 46 | Right Rear Speaker Output (+) (UQA or UQS) |
0.5 D-BU | 46 | Right Rear Speaker Output (+) (UQF) | |||||
19 | -- | -- | Not Used | 19 | -- | -- | Not Used |
|
|
Connector Part Information
| Connector Part Information
|
Terminal Part Information
| Terminal Part Information
|
Pin | Wire | Circuit | Function | Pin | Wire | Circuit | Function |
|---|---|---|---|---|---|---|---|
1 | 3 BK | 650 | Ground | 1 | 3 BK | 650 | Ground |
2 | 2 BN | 5790 | Liftgate Cinch Latch Motor Open Control (TB5) | 2 | 2 BN | 5790 | Liftgate Cinch Latch Motor Open Control (TB5) |
3 | 5 PU | 293 | Rear Defog Element Voltage | 3 | 5 PU | 293 | Rear Defog Element Voltage |
4 | 2 L-BU | 5791 | Liftgate Cinch Latch Motor Close Control (TB5) | 4 | 2 L-BU | 5791 | Liftgate Cinch Latch Motor Close Control (TB5) |
5 | 1 BK | 650 | Ground | 5 | 1 BK | 650 | Ground |
6 | 1 RD/WH | 3840 | Battery Positive Voltage | 6 | 1 RD/WH | 3840 | Battery Positive Voltage |
|
|
Connector Part Information
| Connector Part Information
|
Terminal Part Information
| Terminal Part Information
|
Pin | Wire | Circuit | Function | Pin | Wire | Circuit | Function |
|---|---|---|---|---|---|---|---|
1 | 0.35 PK | 239 | Ignition Voltage | 1 | 0.35 PK | 239 | Ignition Voltage |
2 | 0.35 BARE | 6974 | Shield Wire | 2 | 0.35 BARE | 6974 | Shield Wire |
3 | 0.35 PK | 6972 | Camera Video Signal (+) | 3 | 0.35 PK | 6972 | Camera Video Signal (+) |
4 | 0.35 L-BU | 6973 | Camera Video Signal (-) | 4 | 0.35 L-BU | 6973 | Camera Video Signal (-) |
|
|
Connector Part Information
| Connector Part Information
|
Terminal Part Information
| Terminal Part Information
|
Pin | Wire | Circuit | Function | Pin | Wire | Circuit | Function |
|---|---|---|---|---|---|---|---|
1 | 0.5 GY/BK | 690 | Courtesy Lamp High Control | 1 | 0.5 GY/BK | 690 | Courtesy Lamp High Control |
2 | 0.5 L-BU | 1320 | Stop Lamp Voltage | 2 | 0.5 L-BU | 1320 | Stop Lamp Voltage |
3 | 0.35 PK/BK | 1303 | Liftgate Ajar Switch Signal (TB4) | 3 | 0.5 PK/BK | 1303 | Liftgate Ajar Switch Signal (TB4) |
4 | 0.5 L-GN | 2270 | Rear Window Washer Relay Control | 4 | 0.5 L-GN | 2270 | Rear Window Washer Relay Control |
5 | 0.35 WH | 2283 | Rear Wiper/Washer Switch Voltage (without X88) | 5 | 0.35 WH | 2283 | Rear Wiper/Washer Switch Voltage (without X88) |
6 | 0.5 D-BU | 38 | Backup Lamp Relay Control (UVC) | 6 | 0.5 D-BU | 38 | Backup Lamp Relay Control (UVC) |
7 | 0.5 GY | 391 | Rear Window Wiper Switch Signal | 7 | 0.5 GY | 391 | Rear Window Wiper Switch Signal |
8 | -- | -- | Not Used | 8 | -- | -- | Not Used |
9 | 0.8 L-GN | 24 | Backup Lamp Voltage | 9 | 0.5 L-GN | 24 | Backup Lamp Voltage |
10 | 0.35 PU/WH | 5801 | Low Reference (TB5) | 10 | 0.35 PU/WH | 5801 | Low Reference (TB5) |
0.35 GY | 5797 | Rear Closure Handle Switch Open Signal (TB4) | 0.35 GY | 5797 | Rear Closure Handle Switch Open Signal (TB4) | ||
11 | 0.35 PK/BK | 6000 | Latch Ratchet Switch Signal (TB5) | 11 | 0.35 PK/BK | 6000 | Latch Ratchet Switch Signal (TB5) |
12 | 0.35 GY/BK | 6113 | Rear Liftgate Open/Close Switch Signal (TB5) | 12 | 0.35 GY/BK | 6113 | Rear Liftgate Open/Close Switch Signal (TB5) |
0.5 L-BU | 6128 | Ground (TB4) | 0.5 L-BU | 6128 | Ground (TB4) | ||
13 | 0.35 D-GN | 5512 | Latch Sector Switch Signal (TB5) | 13 | 0.35 D-GN | 5512 | Latch Sector Switch Signal (TB5) |
14 | 0.35 WH/BK | 6126 | Liftgate Object Sensor 2 Signal (TB5) | 14 | 0.35 WH/BK | 6126 | Liftgate Object Sensor 2 Signal (TB5) |
15 | 0.5 PU | 709 | Left Park Lamp Voltage | 15 | 0.5 PU | 709 | Left Park Lamp Voltage |
16 | 0.35 GY | 7000 | Latch Pawl Switch Signal (TB5) | 16 | 0.35 GY | 7000 | Latch Pawl Switch Signal (TB5) |
|
|
Connector Part Information
| Connector Part Information
|
Terminal Part Information
| Terminal Part Information
|
Pin | Wire | Circuit | Function | Pin | Wire | Circuit | Function |
|---|---|---|---|---|---|---|---|
1 | 0.5 BK | 650 | Ground | 1 | 0.5 BK | 650 | Ground |
2 | 0.5 L-BU | 1320 | Stop Lamp Voltage | 2 | 0.5 L-BU | 1320 | Stop Lamp Voltage |
|
|
Connector Part Information
| Connector Part Information
|
Terminal Part Information
| Terminal Part Information
|
Pin | Wire | Circuit | Function | Pin | Wire | Circuit | Function |
|---|---|---|---|---|---|---|---|
A | 0.5 L-GN | 24 | Backup Lamp Voltage | A | 0.5 BK | -- | Backup Lamp Voltage (Z88) |
0.5 WH | -- | Backup Lamp Voltage (W49) | |||||
B | 0.5 PU | 709 | Left Park Lamp Voltage | B | 0.5 BK | -- | Left Park Lamp Voltage (Z88) |
0.5 BN | -- | Left Park Lamp Voltage (W49) | |||||
C | 0.5 BK | 650 | Ground | C | 0.5 BK | -- | Ground |
|
|
Connector Part Information
| Connector Part Information
|
Terminal Part Information
| Terminal Part Information
|
Pin | Wire | Circuit | Function | Pin | Wire | Circuit | Function |
|---|---|---|---|---|---|---|---|
A | 0.5 L-GN | 24 | Backup Lamp Voltage | A | 0.5 BK | -- | Backup Lamp Voltage (Z88) |
0.5 WH | -- | Backup Lamp Voltage (W49) | |||||
B | 0.5 PU | 709 | Left Park Lamp Voltage | B | 0.5 BK | -- | Left Park Lamp Voltage (Z88) |
0.5 BN | -- | Left Park Lamp Voltage (W49) | |||||
C | 0.5 BK | 650 | Ground | C | 0.5 BK | -- | Ground |
|
|
Connector Part Information
| Connector Part Information
|
Terminal Part Information
| Terminal Part Information
|
Pin | Wire | Circuit | Function | Pin | Wire | Circuit | Function |
|---|---|---|---|---|---|---|---|
1 | 0.35 PK | 6972 | Camera Video Signal (+) (UVC) | 1 | 0.35 PK | 6972 | Camera Video Signal (+) (UVC) |
2 | 0.35 BARE | 6974 | Camera Shield (UVC) | 2 | 0.35 BARE | 6974 | Camera Shield (UVC) |
3 | 0.35 GY | 5797 | Liftgate Open/Close Switch Signal Rear (TB4) | 3 | 0.35 GY | 5797 | Liftgate Open/Close Switch Signal Rear (TB4) |
0.35 GY/BK | 6113 | Rear Liftgate Open/Close Switch Signal (TB5) | 0.35 GY/BK | 6113 | Rear Liftgate Open/Close Switch Signal (TB5) | ||
4 | 0.5 BK | 709 | Left Park Lamp Voltage | 4 | 0.5 PU | 709 | Left Park Lamp Voltage |
5 | 0.5 WH | 650 | Ground | 5 | 0.5 BK | 650 | Ground |
6 | 0.35 L-BU | 6973 | Camera Video Signal (-) (UVC) | 6 | 0.35 L-BU | 6973 | Camera Video Signal (-) (UVC) |
7 | 0.35 BK | 650 | Ground (TB4) | 7 | 0.35 BK | 650 | Ground (TB4) |
0.35 PU/WH | 5801 | Low Reference (TB5) | 0.35 PU/WH | 5801 | Low Reference (TB5) | ||
8 | 0.35 PK | 239 | Ignition Voltage (UVC) | 8 | 0.35 PK | 239 | Ignition Voltage (UVC) |
9 | 0.35 BK | 650 | Ground (UVC) | 9 | 0.35 BK | 650 | Ground (UVC) |
10 | 0.35 D-BU | 38 | Backup Lamp Relay Control (UVC) | 10 | 0.35 D-BU | 38 | Backup Lamp Relay Control (UVC) |
11-12 | -- | -- | Not Used | 11-12 | -- | -- | Not Used |
|
|
Connector Part Information
| Connector Part Information
|
Terminal Part Information
| Terminal Part Information
|
Pin | Wire | Circuit | Function | Pin | Wire | Circuit | Function |
|---|---|---|---|---|---|---|---|
1 | 1 GY/BK | 690 | Courtesy Lamp High Control | 1 | 0.5 GY/BK | 690 | Courtesy Lamp High Control |
1 GY/BK | 690 | Courtesy Lamp High Control | |||||
2 | 1 BK | 650 | Ground | 2 | 0.5 BK | 650 | Ground |
1 BK | 650 | Ground | |||||
3 | -- | -- | Not Used | 3 | -- | -- | Not Used |