GM Service Manual Online
For 1990-2009 cars only

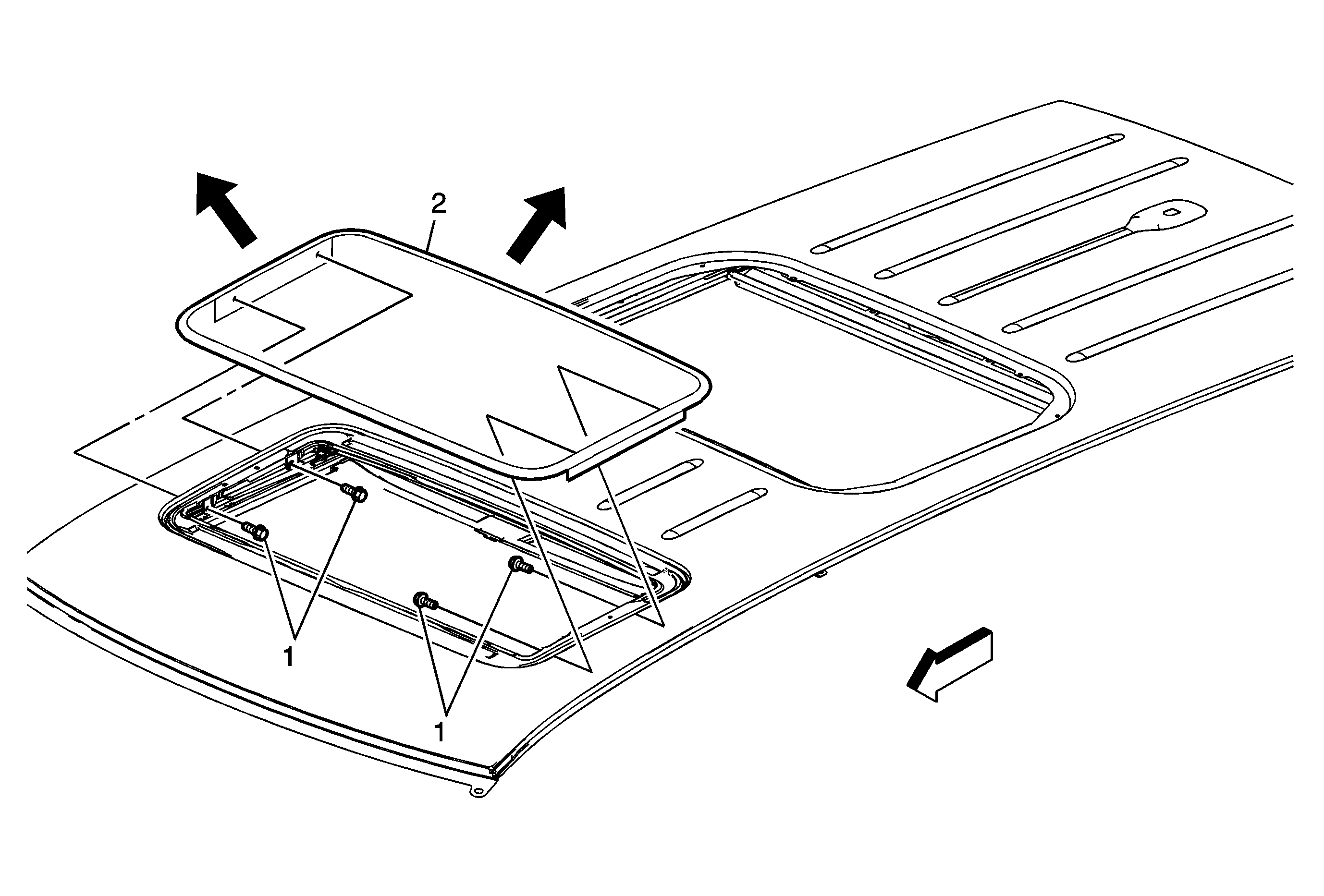
Object Number: 1848801  Size: MF

Callout

Component Name

1

Sunroof Window Screw (Qty: 4)

Caution: Refer to Fastener Caution in the Preface section.

Tip
Open the window.

Tighten
6 N·m (53 lb in)

2

Sunroof Window

Procedure

  1. Close the sunroof window to the access the screws.
  2. Adjust the sunroof window as necessary. Refer to Sunroof Window Height and Opening Fit Adjustment