GM Service Manual Online
For 1990-2009 cars only

Instrument Panel Center Air Outlet Replacement Enclave


Object Number: 1858363  Size: MF

Callout

Component Name

1

Instrument Panel Trim Panel - Center

Refer to Instrument Panel Center Trim Panel Replacement.

2

Instrument Panel Center Air Outlet

Procedure

Unsnap the air outlet from the trim panel.

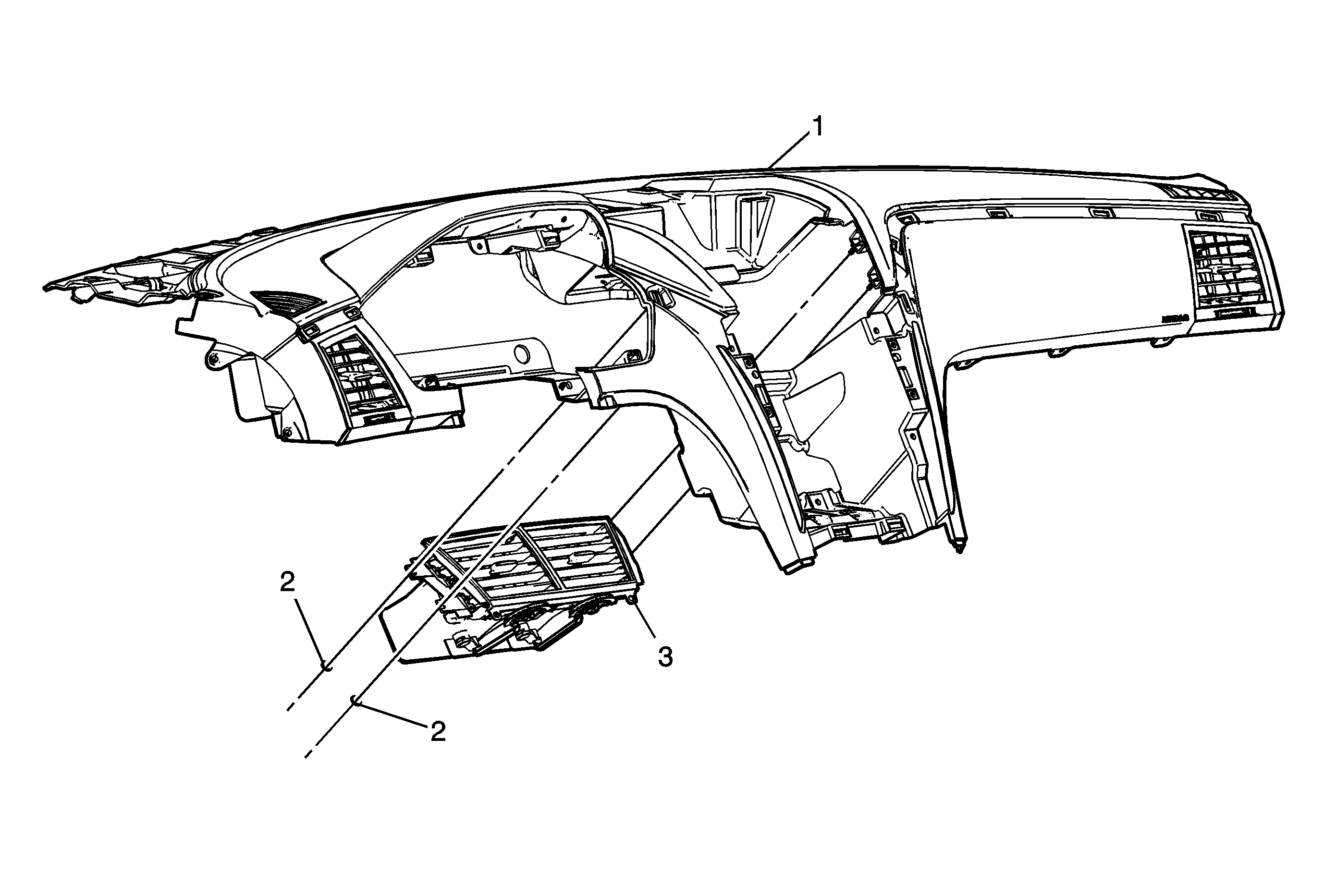
Instrument Panel Center Air Outlet Replacement Traverse


Object Number: 2074958  Size: MF

Callout

Component Name

1

Instrument Panel Trim Pad.

Refer to Instrument Panel Trim Pad Replacement.

2

Pal Nuts (Qty: 4)

Procedure

Tighten the pal nuts until fully seated but not stripped

3

Instrument Panel Center Air Outlet Assembly

Instrument Panel Center Air Outlet Replacement Acadia


Object Number: 1853508  Size: MF

Callout

Component Name

1

Instrument Panel Accessory Trim Plate

Refer to Instrument Panel Accessory Trim Plate Replacement.

2

Instrument Panel Center Air Outlet Screw (Qty: 5)

Caution: Refer to Fastener Caution in the Preface section.

Tighten
2 N·m (18 lb in)

3

Instrument Panel Center Air Outlet Assembly