GM Service Manual Online
For 1990-2009 cars only

Object Number: 1846779  Size: SF
Master Electrical Component List
Manual Transmission Schematics
OBD II Symbol Description Notice
Control Module References

Circuit Description

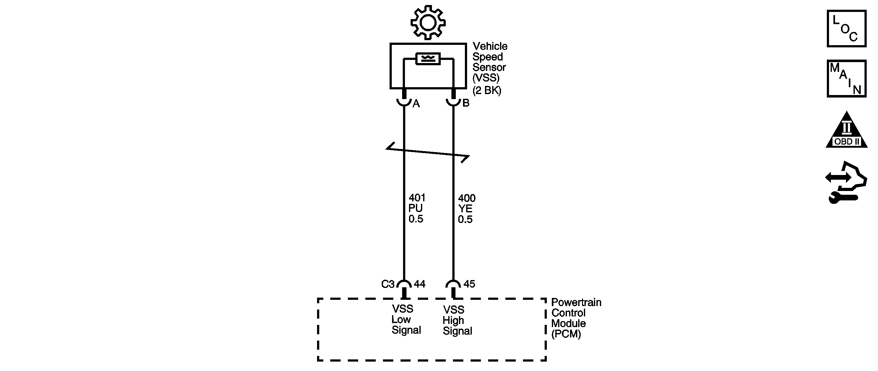
The vehicle speed sensor (VSS) assembly provides vehicle speed information to the powertrain control module (PCM). The VSS assembly is a permanent magnet generator. The VSS produces alternating current (AC) as the rotor teeth on the output shaft of the transmission, 2WD, or transfer case, 4WD, pass through the magnetic field of the sensor. The frequency and amplitude of the AC waveform increase as vehicle speed increases.

If the PCM detects no vehicle speed for a specified length of time, while other sensors indicate that the vehicle is moving, DTC P0502 sets. DTC P0502 is a type B DTC.

DTC Descriptor

This diagnostic procedure supports the following DTC:

DTC P0502 Vehicle Speed Sensor (VSS) Circuit Low Voltage

Conditions for Running the DTC

    • No VSS DTC P0503.
    • No TP sensor DTC P0120 or P0121.
    • The TP sensor angle is 12 percent or greater.
    • The engine speed is 1,000-6,800 RPM for 8 seconds.

Conditions for Setting the DTC

The transmission output speed is 100 RPM or less for 3 seconds.

Action Taken When the DTC Sets

    • The PCM illuminates the malfunction indicator lamp (MIL) during the second consecutive trip in which the Conditions for Setting the DTC are met.
    • The PCM disables Cruise Control.
    • The PCM records the operating conditions when the Conditions for Setting the DTC are met. The PCM stores this information as Freeze Frame and Failure Records.
    • The PCM stores DTC P0502 in PCM history during the second consecutive trip in which the Conditions for Setting the DTC are met.

Conditions for Clearing the MIL/DTC

    • The PCM turns OFF the MIL during the third consecutive ignition cycles in which the diagnostic test runs and passes.
    • A scan tool can clear the MIL/DTC.
    • The PCM clears the DTC from PCM history if the vehicle completes 40 warm-up cycles without an emission-related diagnostic fault occurring.
    • The PCM cancels the DTC default actions when the fault no longer exists and the DTC passes.

Diagnostic Aids

Ensure the VSS is correctly torqued to the transmission housing.

Test Description

The numbers below refer to the step numbers on the diagnostic table.

  1. This step tests the ability of the VSS to produce an AC voltage. This step also verifies the integrity of the wiring to the PCM.

  2. This step tests the VSS circuit for correct resistance.

Step

Action

Value(s)

Yes

No

1

Did you perform the Diagnostic System Check - Vehicle?

--

Go to Step 2

Go to Diagnostic System Check - Vehicle

2

  1. Install a scan tool.
  2. Turn ON the ignition, with the engine OFF.
  3. Important: Before clearing the DTC, use the scan tool in order to record the Freeze Frame and Failure Records. Using the Clear Info function erases the Freeze Frame and Failure Records from the PCM.

  4. Record the DTC Freeze Frame and Failure Records.
  5. Clear the DTC.
  6. Raise and support the drive wheels.
  7. Start and idle the engine.
  8. Engage the transmission in 2nd gear.
  9. Select Vehicle Speed Sensor on the scan tool.

With the drive wheels rotating, does the VSS increase when the wheel speed increases?

--

Go to Testing for Intermittent Conditions and Poor Connections

Go to Step 3

3

  1. Turn OFF the ignition.
  2. Disconnect the PCM connector C3.
  3. Using the J 35616 GM terminal test kit, connect the DMM between the VSS high signal circuit and the VSS low signal circuit at the PCM connector.
  4. Select AC volts on the DMM.
  5. Turn ON the ignition, with the engine OFF.
  6. Rotate the right front drive wheel by hand.
  7. Observe the DMM display.

Can a voltage greater than the specified value be obtained?

0.5 V AC

Go to Step 14

Go to Step 4

4

  1. Leave the DMM test leads connected.
  2. Measure circuit resistance.

Is the circuit resistance within the specified range?

1,300-3,160 ohms

Go to Step 8

Go to Step 5

5

Is the circuit resistance greater than the specified value?

3,160 ohms

Go to Step 11

Go to Step 6

6

  1. Leave the DMM test leads connected.
  2. Disconnect the VSS connector at the transmission.

Is the circuit resistance less than the specified value?

1,300 ohms

Go to Step 7

Go to Step 13

7

Test the high signal circuit and the low signal circuit of the VSS for being shorted together. Refer to Circuit Testing and Wiring Repairs .

Did you find and correct the condition?

--

Go to Step 15

--

8

Test the high signal circuit of the VSS for a short to ground. Refer to Testing for Short to Ground and Wiring Repairs .

Did you find and correct the condition?

--

Go to Step 15

Go to Step 9

9

  1. Connect PCM connector C3.
  2. Disconnect the VSS.
  3. Select DC volts on the DMM.
  4. Using the J 35616 , connect the DMM test leads to the VSS high signal circuit and the VSS low signal circuit of the VSS wiring harness connector.
  5. Turn ON the ignition, with the engine OFF.

Does the DMM display system voltage?

--

Go to Step 10

Go to Step 12

10

Test the high signal circuit of the VSS for a short to voltage. Refer to Testing for a Short to Voltage and Wiring Repairs .

Did you find and correct the condition?

--

Go to Step 15

--

11

  1. Test the high signal circuit of the VSS for an open.
  2. Test the low signal circuit of the VSS for an open.

Refer to Testing for Continuity and Wiring Repairs .

Did you find and correct a condition?

--

Go to Step 15

Go to Step 13

12

  1. Remove the VSS. Refer to Vehicle Speed Sensor (VSS) Replacement.
  2. Inspect the VSS and the transmission for the following conditions:
  3. • Incorrect VSS
    • VSS damage
    • Excessive VSS to speed sensor rotor gap
    • Incorrect speed sensor rotor alignment
    • Speed sensor rotor damage
  4. Repair any of the above conditions as necessary.

Did you complete the repair?

--

Go to Step 15

--

13

Replace the VSS. Refer to Vehicle Speed Sensor Replacement .

Did you complete the replacement?

--

Go to Step 15

--

14

Replace the PCM. Refer to Control Module References for replacement, setup, and programming.

Did you complete the replacement?

--

Go to Step 15

--

15

Perform the following procedure in order to verify the repair:

  1. Select DTC.
  2. Select Clear Info.
  3. Test drive the vehicle.
  4. Select Specific DTC.
  5. Enter DTC P0502.

Has the test run and passed?

--

Go to Step 16

Go to Step 2

16

With the scan tool, observe the stored information, capture info and DTC info.

Does the scan tool display any DTCs that you have not diagnosed?

--

Go to Diagnostic Trouble Code (DTC) List - Vehicle

System OK