GM Service Manual Online
For 1990-2009 cars only

The jacking equipment you will need is stored under the rear seat on the passenger's side of the vehicle. See Rear Seat Operation for more information on accessing the jacking equipment.


Object Number: 1285730  Size: B3
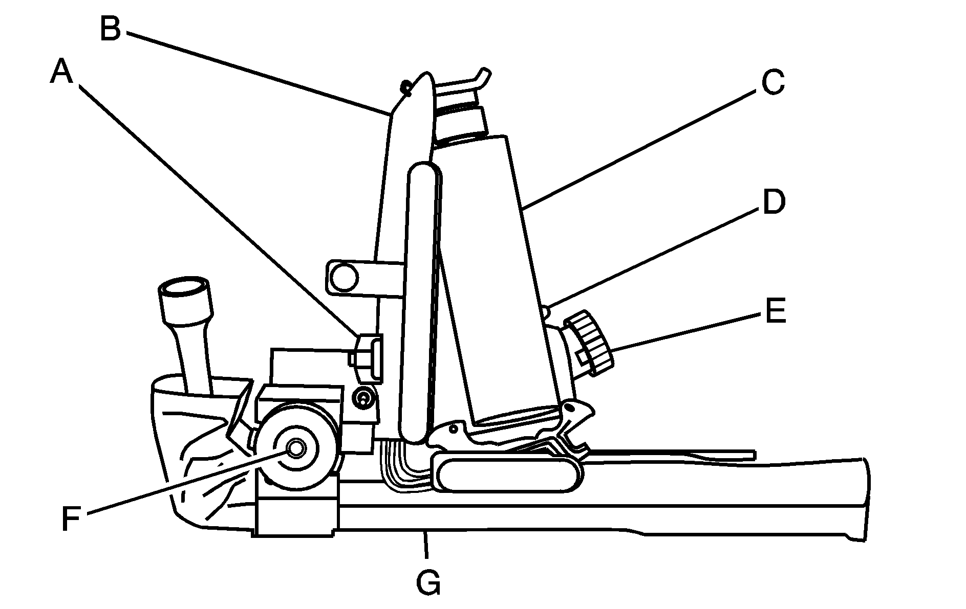
  1. Wing Nut

  2. Jack Bracket

  3. Jack and Wheel Blocks

  4. Retainer

  5. Thumbwheel

  6. Tool Kit Wing Nut

  7. Tool Kit

To access the tools, do the following:

  1. Remove the jack cover.
  2. Remove the tool kit (G) by turning the tool kit wing nut (F) counterclockwise and remove the jack bracket (B).
  3. Release the jack (C) from the bracket by removing wing nut (A).
  4. Turn the thumbwheel counterclockwise to lower the jack head.
  5. Remove the retainer (D) and wheel blocks (C).

Object Number: 896390  Size: B2

The tools you will be using include the wheel wrench (A), wheel blocks (B), extensions (socket end) (C), handle (jack end) (D), and jack (E).

The following instructions explain how to remove the underbody-mounted spare tire from underneath your vehicle.

Notice: If you remove or restow a tire from/to the storage position under the vehicle while it is supported by a jack, you could damage the tire and/or your vehicle. Always remove or restow a tire when the vehicle is on the ground.

  1. Open the liftgate/endgate.

  2. Object Number: 806084  Size: B3
  3. Insert the socket end of the extension on a 45 degree angle downward into the hoist drive shaft hole. It is exposed when the rear gate is open and is just above the rear bumper. Be sure the socket end of the extension connects to the hoist shaft.
  4. Turn the wheel wrench counterclockwise to lower the spare tire. Keep turning the wheel wrench until the spare tire can be pulled out from under the vehicle.
  5. If the spare tire does not lower to the ground, the secondary latch is engaged causing the tire not to lower. See Secondary Latch System for more information.


    Object Number: 1306942  Size: B3
  6. Tilt the retainer at the end of the cable when the tire has been completely lowered, and pull it through the wheel opening.
  7. Pull the tire out from under the vehicle.
  8. Notice: If you drive away before the spare tire or secondary latch system cable has been reinstalled, you could damage your vehicle. Always reinstall this cable before driving your vehicle.

  9. Put the spare tire near the flat tire.