GM Service Manual Online
For 1990-2009 cars only

CAMPAIGN: BRAKE DRUM WEIGHT CONTACTS ALUMINUM WHEELS

MODELS: 1982 C15 LIGHT DUTY PICK UP TRUCKS & JIMMY EQUIPPED WITH RPO PH7 (ALUMINUM WHEELS) AND RPO JB5 OR JD5 (REAR DRUM BRAKES)

The National Traffic and Motor Vehicle Safety Act, as amended, provides that each vehicle which is subject to a recall campaign of this type must be adequately repaired within a reasonable time after the owner has tendered it for repair. A failure to adequately repair within 60 days after tender of a vehicle is prima facie evidence of failure to repair within a reasonable time.

If the condition is not adequately repaired within a reasonable time, the owner may be entitled to an identical or reasonably equivalent vehicle at no charge, or to a refund of the purchase price less a reasonable allowance for depreciation.

To avoid having to provide these burdensome solutions, every effort must be made to promptly schedule a service date with each owner and to repair their vehicle as soon as possible. As you will see in reading the attached copy of the letter which is being sent to owners, the owner is being instructed to contact the nearest GMC Zone Office if their dealer does not remedy the condition within five days of the mutually agreed upon service date. If the condition is not remedied within a reasonable time they are instructed how to contact the National Highway Traffic Safety Administration.

DEFECT INVOLVED

General Motors has determined that a defect which relates to motor vehicle safety exists in some 1982 C15 Pickup Truck and Jimmy models equipped with RPO PH7 (Aluminum Wheels) and RPO JB5 or JD5 (Rear Drum Brakes). The rear brake drum balance weights may interfere with the aluminum wheel. Should this condition exist, the wheel lug nuts may loosen and cause wheel stud failure. This could allow the tire and wheel to separate from the vehicle. If this were to occur while the vehicle is in motion, it could result in a loss of control and a vehicle crash could occur without prior warning.

To prevent the possibility of this condition occurring, GMC Truck Dealers are to inspect and correct all involved vehicles in accordance with the Service Procedure in on involves modification of the rear brake drum balance weights.

VEHICLES INVOLVED

Involved are certain 1982 C15 Light Duty Pickup Trucks and Jimmys equipped with RPO PH7 (Aluminum Wheels) and RPO JB5 or JD5 (Rear Drum Brakes) and identified within the following vehicle breakpoints:

Plant From Through ----- ---- ------- Flint Line #1 CF704214 CF720834 Line #2 CF507751 CF525780 Janesville CJ505659 CJ520028 St. Louis CS507808 CS531933 Oshawa C1517490 C1543122

The specific vehicles involved in this campaign have been identified by Vehicle Identification Number Computer Listings. These listings are furnished to all involved dealers with the campaign bulletin.

DEALER CAMPAIGN RESPONSIBILITY

Dealers are to service all vehicles subject to this campaign at no charge to owners, regardless of mileage, age of vehicle, or ownership from this time forward.

Whenever a vehicle subject to this campaign is taken into your new or used vehicle inventory or is in your dealership for service in the future, you should take the steps necessary to be sure the campaign correction has been made before reselling the vehicle.

On vehicles involved in this campaign that have been recently sold to a retail owner, where no owner's name and address were available to GMC Truck at the time of campaign initiation, the dealer will determine the owner's name and address from the dealership sales records. Please provide this information directly on the second copy of the listing next to the applicable VIN, so that our records may be updated and the appropriate notification mailed to the owner. This second copy should then be submitted to the address listed below in the previously supplied yellow campaign envelopes.

GMC Truck General Motors Corporation 101 Union Street Plymouth, Michigan 48170

OWNER NOTIFICATION

Owners will be notified of this campaign on their vehicles by GMC Truck (see copy of Owner Letter included with this bulletin). A listing of owner names and addresses has been furnished to the involved dealers to enable dealers to follow up with owners involved in this campaign. This listing may contain owner names and addresses obtained from state motor vehicle registration records. The use of such motor vehicle registration data for any other purpose is a violation of law in several states. Accordingly, you are urged to limit the use of this listing to this campaign.

REAR BRAKE DRUM BALANCE WEIGHT TEMPLATE INFORMATION

Involved dealers will receive a small quantity of templates with their Campaign Bulletin. Templates have been printed two to a sheet and must be cut-out prior to using. Additional templates when required may be obtained from the GMC Zone Service Department.

SERVICE PROCEDURE

1. Raise vehicle on hoist.

2. Remove rear wheels and tires.

3. Remove rear brake drums.

4. Cut-out template provided with this bulletin.

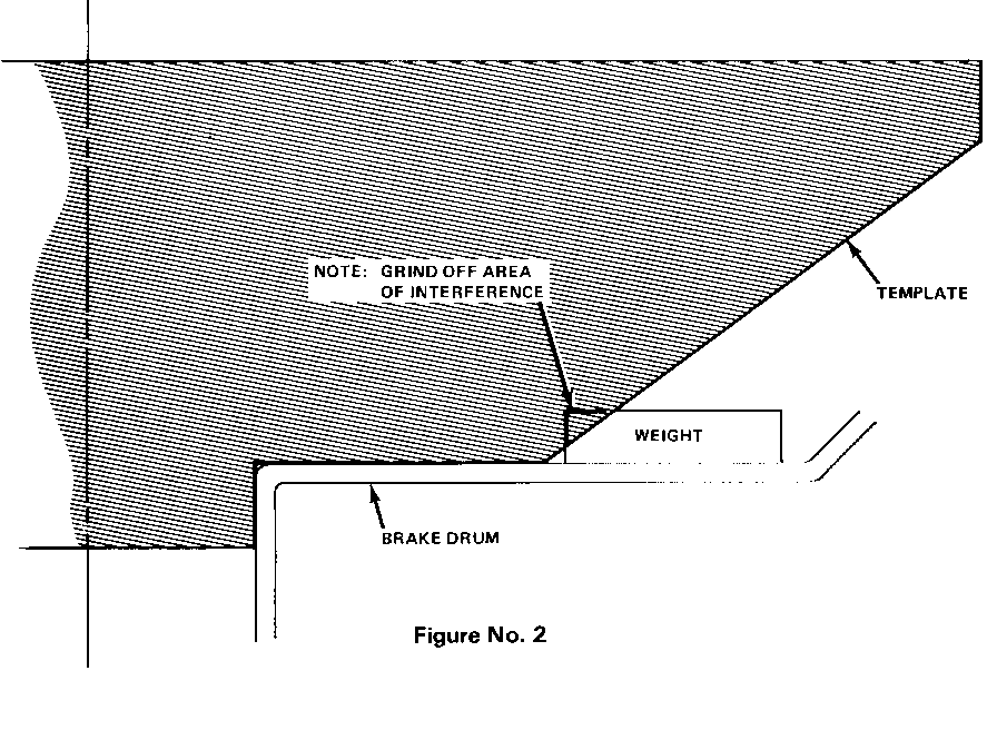
5. With drum positioned and rectangular section of template inserted in drum pilot hole as illustrated in Figure No. 1, rotate template. On drums where interference between template and drum balance weight or weights is noted, grind off the corner of the weight or weights, as shown in Figure No. 2 to insure clearance.

6. Reinstall drums, wheel and tire assemblies torquing attachments to 80 ft. lbs.

7. Lower vehicle.

WARRANTY INFORMATION

Dealers should submit an accurately filled out Warranty Repair Order on each vehicle completed under this campaign.

Labor Operation *Time Trouble Number Description Allowance Code ------ ----------- --------- ---- V1490 Inspect both rear brake drums in .4 HR 96 accordance with the specific instructions outlined in the Service Procedure of this bulletin. If no interference condition exists, no further action required.

V1491 Inspect both rear brake drums in accordance .6 HR 96 with the specific instructions outlined in the Service Procedure of this bulletin. Grind wheel weights on one drum.

V1492 Inspect both rear brake drums in accordance .7 HR 96 with the specific instructions outlined in the Service Procedure of this bulletin. Grind wheel weights on both drums.

*For dealer to receive Administration Time Allowance associated with this campaign, add 0. 1 hour to the Labor Operation Time Allowance.

CAMPAIGN IDENTIFICATION LABEL

Each vehicle modified in accordance with the instructions outlined in this product campaign bulletin will require a "Campaign Identification Label". Each label provides a space to include the five (5) digit Dealer Code of the dealer performing the campaign service. This information may be inserted with a typewriter or ballpoint pen.

Each "Campaign Identification Label" is to be located on the radiator core support in an area which will be visible when the vehicle is brought in for periodic servicing by the owner.

Apply "Campaign Identification Label" only on a clean dry surface.

ADMINISTRATIVE PROCEDURE

Procedures covering this campaign are outlined in Section V of your dealership's "GMC Truck Claims Processing Manual" issued October, 1981.

Dear GMC Truck Owner:

This notice is sent to you in accordance with the requirements of the National Traffic and Motor Vehicle Safety Act.

General Motors has determined that a defect which relates to motor vehicle safety exists in some 1982 C15 Pickup Truck and Jimmy models equipped with RPO PH7 (Aluminum Wheels) and RPO JB5 or JD5 (Rear Drum Brakes). The rear brake drum balance weights may interfere with the aluminum wheel. Should this condition exist, the wheel lug nuts may loosen and cause wheel stud failure. This could allow the tire and wheel to separate from the vehicle. If this were to occur while the vehicle is in motion, it could result in a loss of control and a vehicle crash could occur without prior warning.

To prevent the possibility of this condition occurring on your vehicle, please contact your GMC Truck Dealer to arrange a service date to have your vehicle inspected and if required, corrected. Instructions for making this inspection and correction have been sent to your GMC Truck Dealer. Correction involves the modification of the rear brake drum balance weights. The service will be performed at no charge to you.

The labor time necessary to perform this correction ranges from approximately 25 minutes to inspect, to 45 minutes to modify the rear brake drum balance weights. Please allow additional time for the dealer to process your vehicle.

Your GMC Truck Dealer is best equipped to provide service to ensure your vehicle is corrected as promptly as possible. However, if you take your vehicle to your dealer on the agreed service date and they do not remedy this condition on that date or within five days, we recommend you contact the nearest GMC Truck Zone Office, either in person or by telephone. The zone office will assist you and the dealer in getting your vehicle corrected. The locations and telephone numbers of the zone offices are listed in your Owner's Manual.

After contacting your dealer and the zone office, if you are still not satisfied that we have done our best to remedy this condition without charge within a reasonable time, you may wish to write the Administrator, National Highway Traffic Safety Administration, 400 Seventh Street, S.W., Washington, D. C. 20590, or call 800-424-9393 (Washington, D. C. residents use 426-0123).

The enclosed owner reply card identifies your vehicle. Presentation of this card to your dealer will assist them in making the necessary correction to your vehicle in the shortest possible time. If you have sold or traded your vehicle, please let us know by completing the postage paid owner reply card and returning it to us.

We are sorry to cause you this inconvenience; however, we have take this action in the interest of your safety and continued satisfaction with our products.


Object Number: 90401  Size: LF


Object Number: 88386  Size: MF

General Motors bulletins are intended for use by professional technicians, not a "do-it-yourselfer". They are written to inform those technicians of conditions that may occur on some vehicles, or to provide information that could assist in the proper service of a vehicle. Properly trained technicians have the equipment, tools, safety instructions and know-how to do a job properly and safely. If a condition is described, do not assume that the bulletin applies to your vehicle, or that your vehicle will have that condition. See a General Motors dealer servicing your brand of General Motors vehicle for information on whether your vehicle may benefit from the information.