GM Service Manual Online
For 1990-2009 cars only

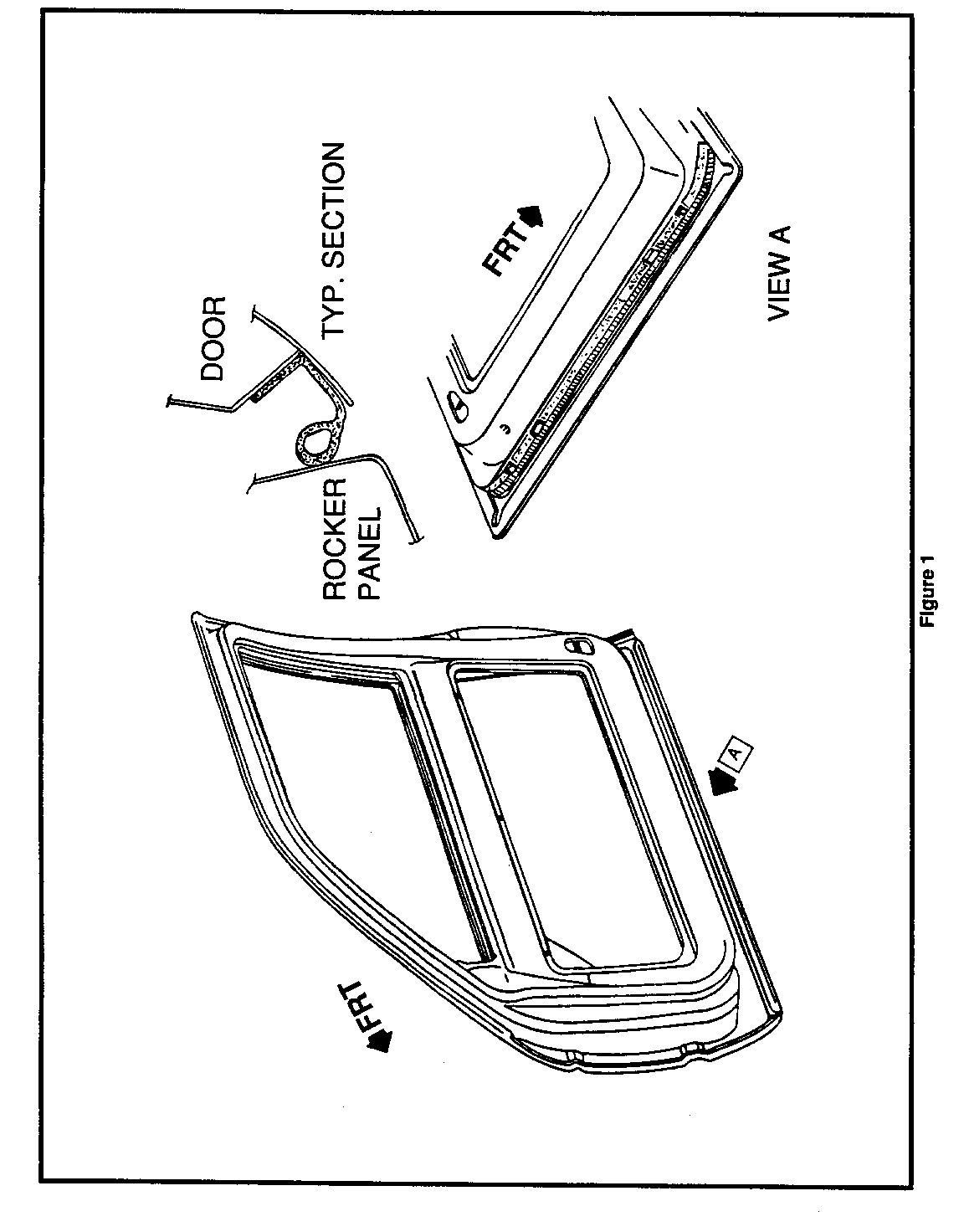
DOOR SILL DUST BUILD-UP (INSTALL 2ND SEALING STRIP)

MODELS: 1988-89 C/K TRUCKS

A secondary sealing strip is now available to reduce dirt and mud buildup in the door sill area, and assist in eliminating the entrance of mud, sand and dirt into the cab area. Additionally, this seal may be used against dust intrusion when used with door filters described in GMC Service Bulletin num- ber 88-T-124/Corporate number 861604. The secondary door sealing strips are available in kit P/N 12340815.

The following are the instructions for installing the secondary sealing strips:

1. Raise vehicle.

2. Wash and thoroughly dry door bottoms.

3. Wipe door bottom in the area of the drain slots front to rear with a suitable wax and grease film remover.

4. Test fit and align cut-outs on seal with drain slot depressions in door bottoms, and roll the leading edge of the seal around the curve at the door front stopping against the return flange (View A).

5. With a heat gun, heat attaching area sheet metal.

6. On the seal, remove backing strip, apply heat, and firmly press tape flat against the door bottom between drain slots.

Parts are currently available from GMSPO.

For vehicles repaired under warranty, use:

Labor Operation: T8055 L

abor Time: .4 Hr


Object Number: 75318  Size: FS

General Motors bulletins are intended for use by professional technicians, not a "do-it-yourselfer". They are written to inform those technicians of conditions that may occur on some vehicles, or to provide information that could assist in the proper service of a vehicle. Properly trained technicians have the equipment, tools, safety instructions and know-how to do a job properly and safely. If a condition is described, do not assume that the bulletin applies to your vehicle, or that your vehicle will have that condition. See a General Motors dealer servicing your brand of General Motors vehicle for information on whether your vehicle may benefit from the information.