GM Service Manual Online
For 1990-2009 cars only
Figure 1:

Power Feeds and Ground


Object Number: 30912  Size: FS
Handling ESD Sensitive Parts Notice
Handling ESD Sensitive Parts Notice
Handling ESD Sensitive Parts Notice
Engine Controls Components
Information Sensors
Glow Plug System
OBD II Symbol Description Notice
Figure 2:

Glow Plug System


Object Number: 30918  Size: FS
Handling ESD Sensitive Parts Notice
Handling ESD Sensitive Parts Notice
Engine Controls Components
Information Sensors
Fuel Pump System
Power Feeds and Ground
OBD II Symbol Description Notice
Figure 3:

Fuel Pump System


Object Number: 30922  Size: FS
Handling ESD Sensitive Parts Notice
Engine Controls Components
Information Sensors
Water in Fuel, Fuel Heater and Fuel Solenoid Driver
Glow Plug System
OBD II Symbol Description Notice
Figure 4:
Object Number: 30923  Size: FS
Handling ESD Sensitive Parts Notice
Handling ESD Sensitive Parts Notice
Engine Controls Components
Information Sensors
Fuel Pump System
Power Feeds and Ground
OBD II Symbol Description Notice
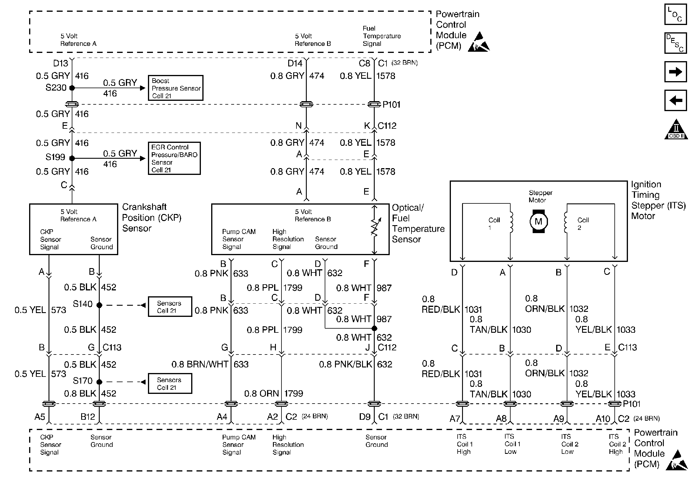
Figure 5:

Crankshaft Position, Optical/Fuel Temperature Sensor, and Injection Timing Stepper Motor


Object Number: 30925  Size: FS
Handling ESD Sensitive Parts Notice
Handling ESD Sensitive Parts Notice
Engine Controls Components
Information Sensors
EGR Control Pressure/BARO, IAT, ECT, and Boost Pressure Sensors
Water in Fuel, Fuel Heater and Fuel Solenoid Driver
OBD II Symbol Description Notice
Figure 6:

EGR Control Pressure/BARO, IAT, ECT, and Boost Pressure Sensors


Object Number: 30933  Size: FS
Handling ESD Sensitive Parts Notice
Handling ESD Sensitive Parts Notice
Engine Controls Components
Information Sensors
APP Module, Wastegte, EGR, and EGR Vent
Crankshaft Position, Optical/Fuel Temperature Sensor, and Injection Timing Stepper Motor
OBD II Symbol Description Notice
Figure 7:

APP Module, Wastegte, EGR, and EGR Vent


Object Number: 30942  Size: FS
Handling ESD Sensitive Parts Notice
Handling ESD Sensitive Parts Notice
Engine Controls Components
Information Sensors
Cruise Control and 4-Wheel Drive
EGR Control Pressure/BARO, IAT, ECT, and Boost Pressure Sensors
OBD II Symbol Description Notice
Figure 8:

Cruise Control and 4-Wheel Drive


Object Number: 30946  Size: FS
Handling ESD Sensitive Parts Notice
Engine Controls Components
Information Sensors
Transmission Vehicle Speed Sensor and Buffer
APP Module, Wastegte, EGR, and EGR Vent
OBD II Symbol Description Notice
Figure 9:

Transmission Vehicle Speed Sensor and Buffer


Object Number: 30953  Size: FS
Handling ESD Sensitive Parts Notice
Handling ESD Sensitive Parts Notice
Handling ESD Sensitive Parts Notice
Handling ESD Sensitive Parts Notice
Handling ESD Sensitive Parts Notice
Engine Controls Components
Information Sensors
Transmission Shift Solenoids, Brake, and Clutch Switch
Cruise Control and 4-Wheel Drive
OBD II Symbol Description Notice
Figure 10:

Transmission Shift Solenoids, Brake, and Clutch Switch


Object Number: 30960  Size: FS
Handling ESD Sensitive Parts Notice
Engine Controls Components
Information Sensors
Transmission Range Switch, TFT, Pressure Control Solenoid, and ISS
Transmission Vehicle Speed Sensor and Buffer
OBD II Symbol Description Notice
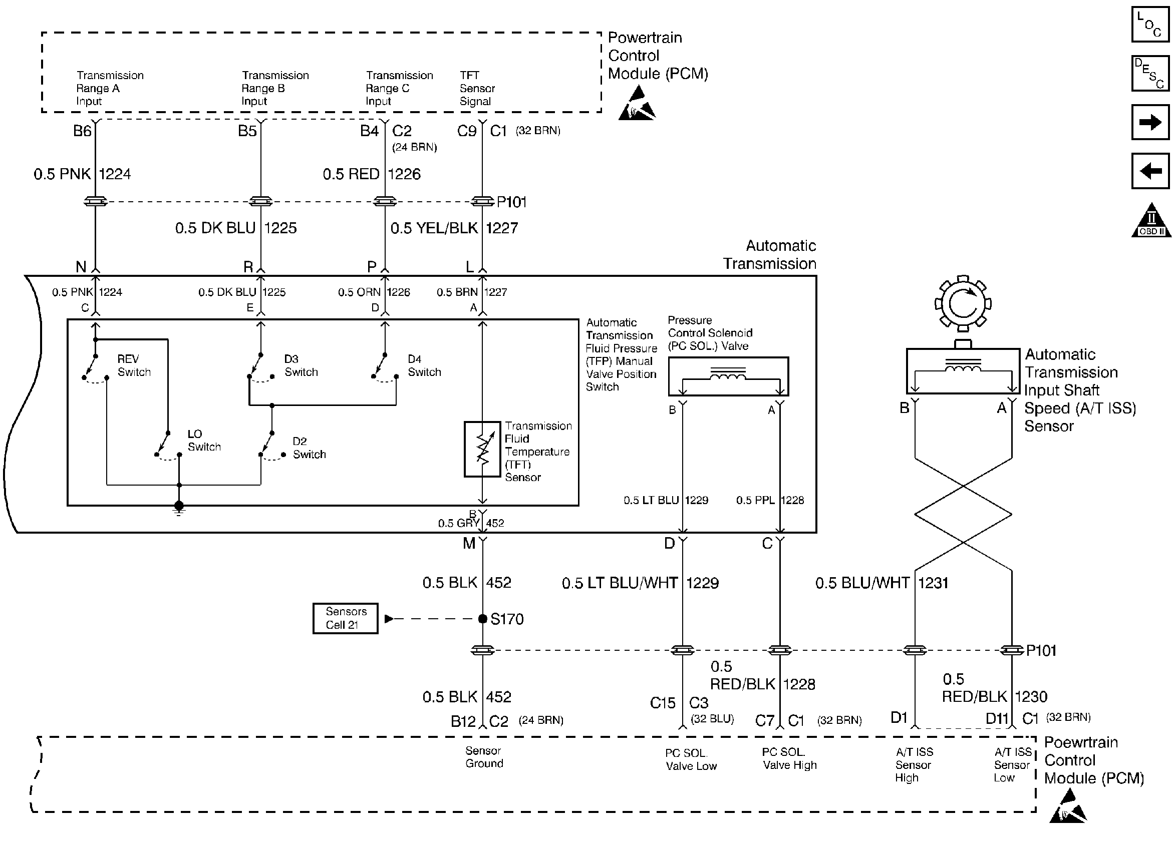
Figure 11:

Transmission Range Switch, TFT, Pressure Control Solenoid, and ISS


Object Number: 30963  Size: FS
Handling ESD Sensitive Parts Notice
Handling ESD Sensitive Parts Notice
Engine Controls Components
Information Sensors
HAVOC System
Transmission Shift Solenoids, Brake, and Clutch Switch
OBD II Symbol Description Notice
Figure 12:

HVAC System


Object Number: 30969  Size: FS
Handling ESD Sensitive Parts Notice
Engine Controls Components
Information Sensors
Transmission Range Switch, TFT, Pressure Control Solenoid, and ISS
OBD II Symbol Description Notice