GM Service Manual Online
For 1990-2009 cars only
Makes
🢒
GMC_Truck
🢒
2000
🢒
GMC C Pickup - 2WD (CNG)
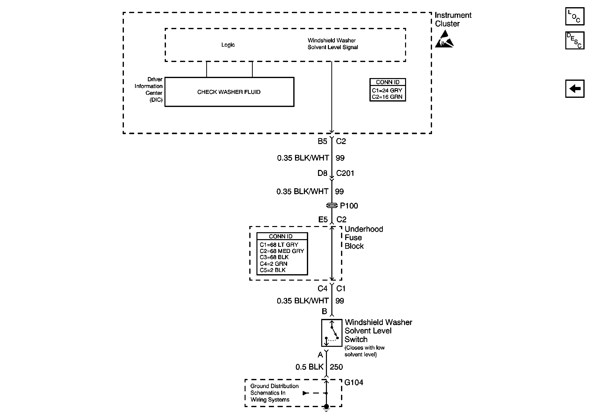
🢒 Washer Solvent Level Switch
Washer Solvent Level Switch
Washer Solvent Level Switch
Wiper/Washer System Components
Wiper/Washer System Circuit Description
Outside Moisture Sensor
Instrument Panel, Gages, and Console Connector End Views
Power and Grounding Connector End Views Fuse Blocks and Ignition Switch
G104 - Relays, Horns and Other Items