GM Service Manual Online
For 1990-2009 cars only
Makes
🢒
GMC_Truck
🢒
1999
🢒
GMC C-Series Medium Duty Truck B7
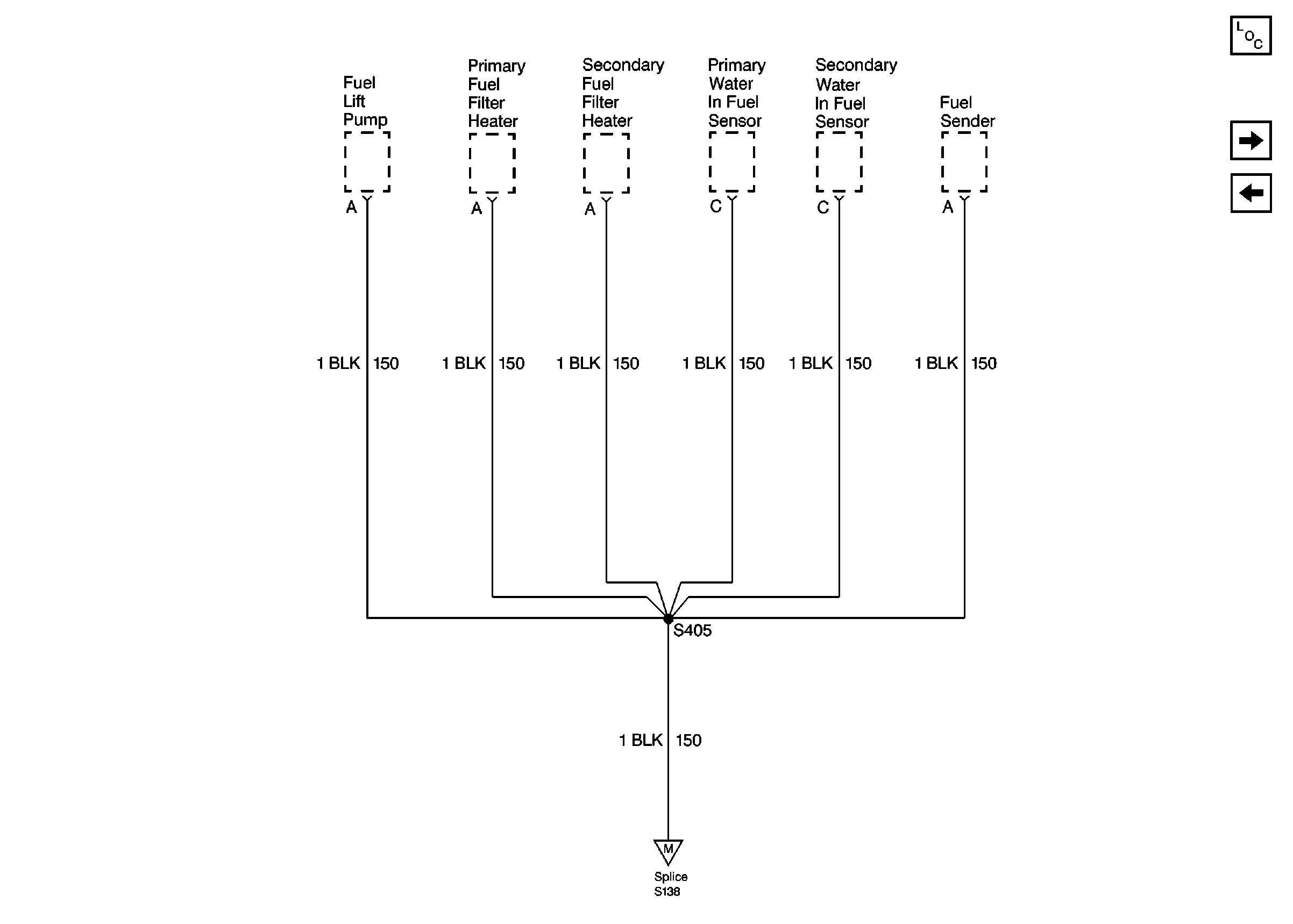
🢒 Cell 14: GM Diesel, S405
Cell 14: GM Diesel, S405
Cell 14: GM Diesel, S405
Power and Grounding Components Ground Distribution
Cell 14: GM Diesel, G117, S141, S210
Cell 14: GM Diesel Engine, S221
Cell 14: GM Diesel G102, S138 and S142