GM Service Manual Online
For 1990-2009 cars only

Tech - Steering or Front End Induced Vibration (Inst/Reinforce Strng/Susp Comp)

Subject:Steering or Front End Road Induced Vibration (Install and Reinforce Revised Steering and Suspension Components)

Models:1999-2000 Chevrolet and GMC C1500 Pickup Trucks (Silverado and Sierra)



Built Prior to the Following VINs

Plant

Body Series

VIN

Fort Wayne, IN

C15703

1GCEC14V7YZ243861

C15753

1GTEC19T8YZ244020

C15903

1GCEC14T4YZ245211

Pontiac, MI

C15903

1GCEC14V4YE279931

C15953

1GCEC19V1YE277451

Oshawa, ON

C15753

2GCEC19VXY1264957

Important: Canadian dealers require PRIOR District Service Manager approval to apply this bulletin.

Condition

Some customers may comment on a steering wheel or front end vibration.

Cause

Several components in the front end steering and suspension work in unison to isolate the driver from road irregularities and from road/tire induced vibration. If any of these components are not working effectively, it will affect the other components of the suspension and steering system. Tire and road vibrations may be transmitted to the passenger compartment and steering through the rack and pinion unit. Additionally, the mounting points of the steering rack on the front frame crossmember may be amplifying any road vibrations.

Correction

In order to dampen unwanted vibration from the steering wheel, the following revisions must be performed:

    • The tires must be in accordance with Corporate Bulletin Number 99-03-09-002 published August, 1999.
    • The steering rack must be replaced with a revised rack.
    • The left front steering rack mounting point must be reinforced.
    • The lower control arms must be replaced with units incorporating a revised bushing.
    • The power steering (PS) pump metering valve must be replaced with a revised fitting.

Use the following procedure to replace the required components. Use the part numbers listed below.

Notice: All components listed above must be replaced in order to correct the customer concern. Incremental replacements will adversely affect the handling and ride qualities of the vehicle. All components of the repair must be in place before the vehicle is returned to the customer.

  1. Raise the vehicle. Refer to the General Information subsection of the Service Manual for information on lifting and jacking the vehicle.
  2. Remove the tire and wheel assemblies.
  3. Remove the front skid plate.
  4. Remove the rear skid plate.
  5. Remove the high and low pressure power steering lines from the rack and pinion unit.
  6. Remove the steering intermediate shaft pinch bolt.
  7. Remove the right and left outer tie rod end nuts.
  8. Remove the tie rod ends nuts from the steering knuckles.
  9. Remove the two nuts retaining the rack and pinion unit. Remove and rack and pinion unit from the vehicle.
  10. Remove and transfer the outer tie rod ends to the revised steering gear.
  11. Tighten
    Tighten the tie rod end jam nuts to 68 N·m (50 lb ft).

  12. Remove the two long bolts that retain the rack using a pry bar to slightly move the position of the anti-sway bar. This will allow removal of the steering rack retaining bolts through the crossmember.
  13. Remove the undercoating from around the left side rack and pinion mount with solvent.
  14. Left Front Frame Crossmember Steering Rack Attachment Point


    Object Number: 694193  Size: SH
  15. Lightly grind the area around the left mount.
  16. • Extend the grinding area to at least a 101 mm (4 in) area around the left side rack mounting point.
    • Remove all underbody coating around the reinforcement plate in order to obtain the strongest weld possible. In addition, some area around the reinforcement must be cleared of undercoating in order to prevent the possibility of the coating "flashing".

    Caution: The underbody coating on the frame will burn if exposed to the extreme heat of welding. The coating may ignite and/or flash suddenly. Avoid direct contact of the welding torch to the underbody coating. Always remove the coating so that sufficient area is free of coating for the welding operation to be performed without risk of igniting the coating. Avoid inhalation of fumes from any over-heated or burning underbody coating

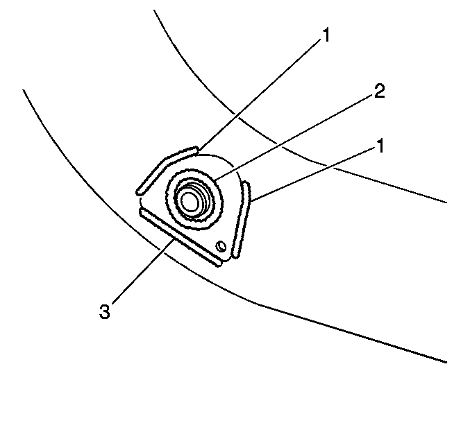
  17. In order to obtain an effective weld for this repair, you must follow the welding pattern diagram. The most effective way of welding this reinforcement is to quickly tack the three sides of the reinforcement first. This method will keep all sides of the reinforcement in contact with the frame crossmember throughout the welding operation. If one whole side of the reinforcement is welded without first tacking the edges, the patch may warp. If the reinforcement plate warps, it will be difficult to obtain as accurate a weld. A warped reinforcement plate will also increase the size of the gap that must be sealed later in this procedure.
  18. Crossmember Reinforcement Plate Welding Pattern


    Object Number: 694191  Size: SH
  19. The finished weld must consist of four welded beads. Two beads along the side of the reinforcement (1) must be 80 mm (3.20 in). The bead along the lower edge (3) must be at least 90 mm (3.60 in). The final weld (2) should be a continuous bead around the center of the reinforcement to the mounting post on the crossmember. A correct weld bead should measure 120 mm (4.80 in) around the post. Let the weld area cool.
  20. Coat the reinforcement plate and the bare portion of the frame crossmember with a self-etching primer. Allow the primer to flash off its solvent.
  21. Important: It is essential that a primer coating and effective seal be created around the reinforcement. This creates a corrosion barrier for the mating surface of the plate and frame crossmember.

  22. Apply a heavy-bodied seam sealer, such as 3M Ultrapro Autobody Sealant (P/N 08302) or equivalent, to all edges of the reinforcement. The P/N for the 3M Sealer is for a clear style. Any color is acceptable for this repair. Create a seal along the edges and around the center mount coming through the plate. A good seal will prevent moisture from accumulating between the frame crossmember and the back side of the welded reinforcement.
  23. As soon as the sealer skins-over, you can apply an undercoating. Apply a spray-on black, rubberized undercoating to the reinforcement and the crossmember. Overlap the original coating in order to provide an effective corrosion protection.
  24. Remove the high-pressure PS fluid line from the rear of the PS pump.
  25. Power Steering Pump Metering Valve


    Object Number: 694207  Size: SH
  26. Remove the brass PS pump-metering valve.
  27. Install the revised metering valve to the PS pump.
  28. Tighten
    Tighten the valve to 33 N·m (24 lb ft).

  29. Install the PS fluid high-pressure line to the pump.
  30. Tighten
    Tighten the line fitting to 28 N·m (20 lb ft).

  31. Remove the front upper shock mounts.
  32. Front Suspension Components


    Object Number: 694189  Size: SH
    (1)Stabilizer Bar
    (2)Stabilizer Link
    (3)Front Lower Control Arm
    (4)Lower Shock Mounting Bolt
    (5)Ball Joint
  33. Remove the lower shock absorber nuts and bolts.
  34. Remove the stabilizer link bolts.
  35. Remove the right and left lower control arms.
  36. Install the right and left revised lower control arms and nuts.
  37. Tighten
    Tighten the nuts to 145 N·m (107 lb ft).

  38. Install the long steering rack attachment bolts through the crossmember. Reposition the stabilizer bar in order to allow insertion of the bolts.
  39. Install the right and left stabilizer links and bolts.
  40. Tighten
    Tighten the stabilizer link nuts to 10 N·m (89 lb in).

  41. Install the right and left lower shock absorber nuts and bolts.
  42. Tighten
    Tighten the nuts to 80 N·m (59 lb ft).

  43. Install the right and left upper shock absorber nuts and bolts.
  44. Tighten
    Tighten the nuts to 20 N·m (15 lb ft).

  45. Install the revised steering rack to the vehicle.
  46. Tighten
    Tighten the steering rack attachment bolts to 185 N·m (135 lb ft).

  47. Install the tie rod ends to the steering knuckles.
  48. Tighten
    Tighten the tie rod end nuts to 50 N·m (37 lb ft).

  49. Install the steering intermediate shaft pinch bolt.
  50. Tighten
    Tighten the pinch bolt to 47 N·m (35 lb ft).

  51. Install the high and low pressure lines to the steering gear.
  52. Tighten
    Tighten the line fittings to 33 N·m (24 lb ft).

  53. Install the tire and wheel assemblies to the vehicle.
  54. Lower the vehicle.
  55. Bleed the PS system. Refer to the Power Steering System subsection of the Service Manual for PS system bleeding procedures.
  56. Align the front suspension. Refer to the Front Suspension subsection of the Service Manual for alignment specifications.

Parts Information

Part Number

Description

26087761

Gear Kit - Steering (Reman)

26089167

Fitting, Power Steering Pump

15764194

Reinforcement, Front C/Member

12477633

Bushing Assembly - Frt Lwr Cont Arm (LH)

12477634

Bushing Assembly - Frt Lwr Cont Arm (RH)

11516073

Nut, Tie Rod

(2 per vehicle)

11516133

Nut, Frt Lwr Cont Arm

(4 per vehicle)

11517861

Bolt/Nut, Steering Rack Mounting

(2 per vehicle)

15709061

Bolt/Screw - M8 X 1.25 X 16

15017021

Washer, S/Gear Rack Mounting

(2 per vehicle)

11501869

Washer - M8

Parts are currently available from GMSPO.

Warranty Information

For vehicles repaired under warranty, use:

Labor Operation

Description

Labor Time

E9850

Steering Wheel Vibration Correction

3.8 hrs

This is a unique labor operation for use only with this bulletin. This number will not be published in the Labor Time Guide.