GM Service Manual Online
For 1990-2009 cars only
Makes
🢒
GMC_Truck
🢒
2003
🢒
GMC C Sierra - 2WD
🢒
Body and Accessories
🢒
Keyless Entry
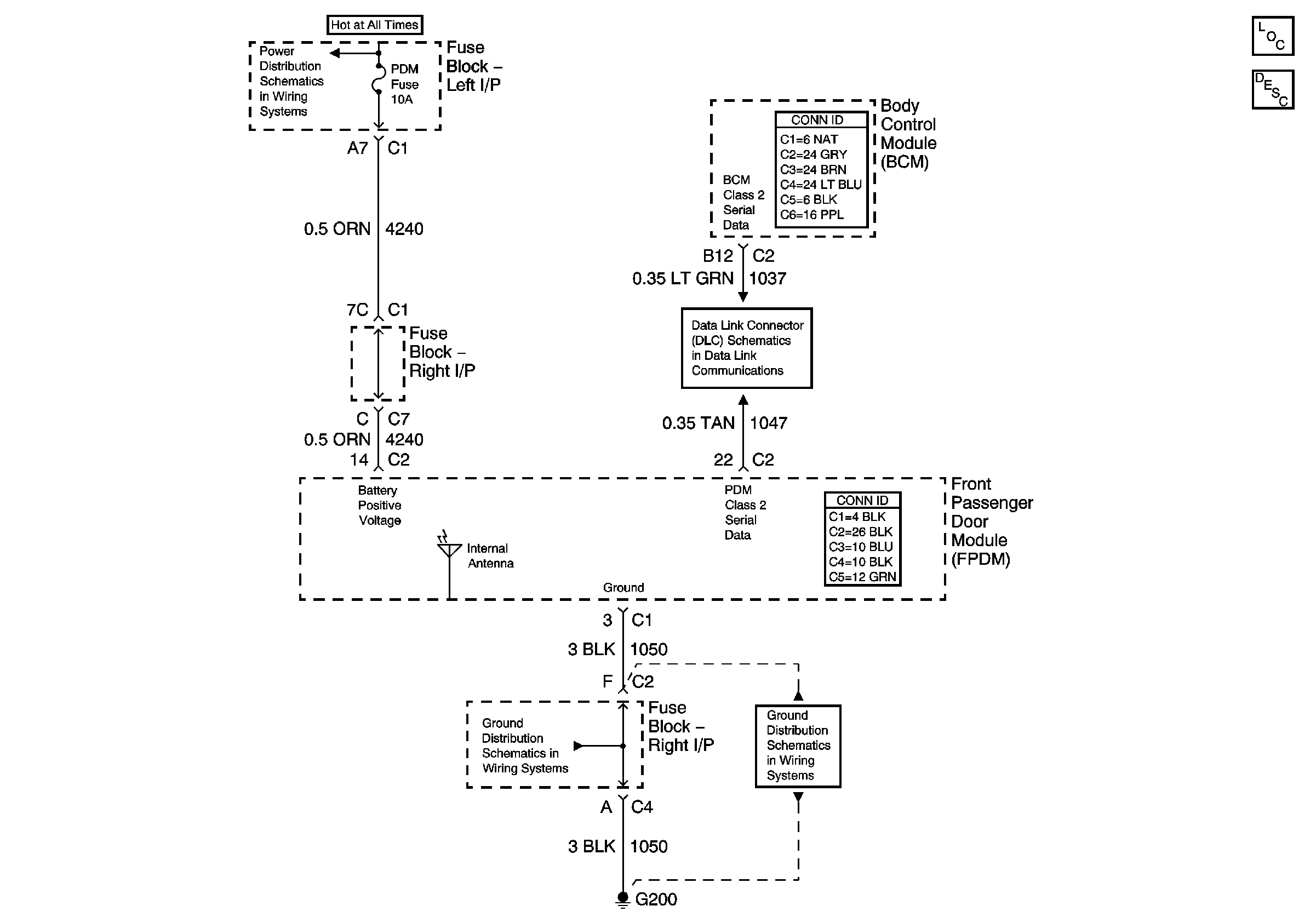
🢒 Keyless Entry Schematics
Master Electrical Component List
Keyless Entry System Description and Operation
DDM, PDM, RR ECC, AUX PWR 2, AUX PWR
SP205 - 1 of 2
G200-1 of 3
G200-1 of 3