GM Service Manual Online
For 1990-2009 cars only
Makes
🢒
GMC_Truck
🢒
2003
🢒
GMC C Sierra - 2WD
🢒
Body and Accessories
🢒
Retained Accessory Power
🢒 Retained Accessory Power (RAP) Schematics
Master Electrical Component List
Retained Accessory Power (RAP) Description and Operation
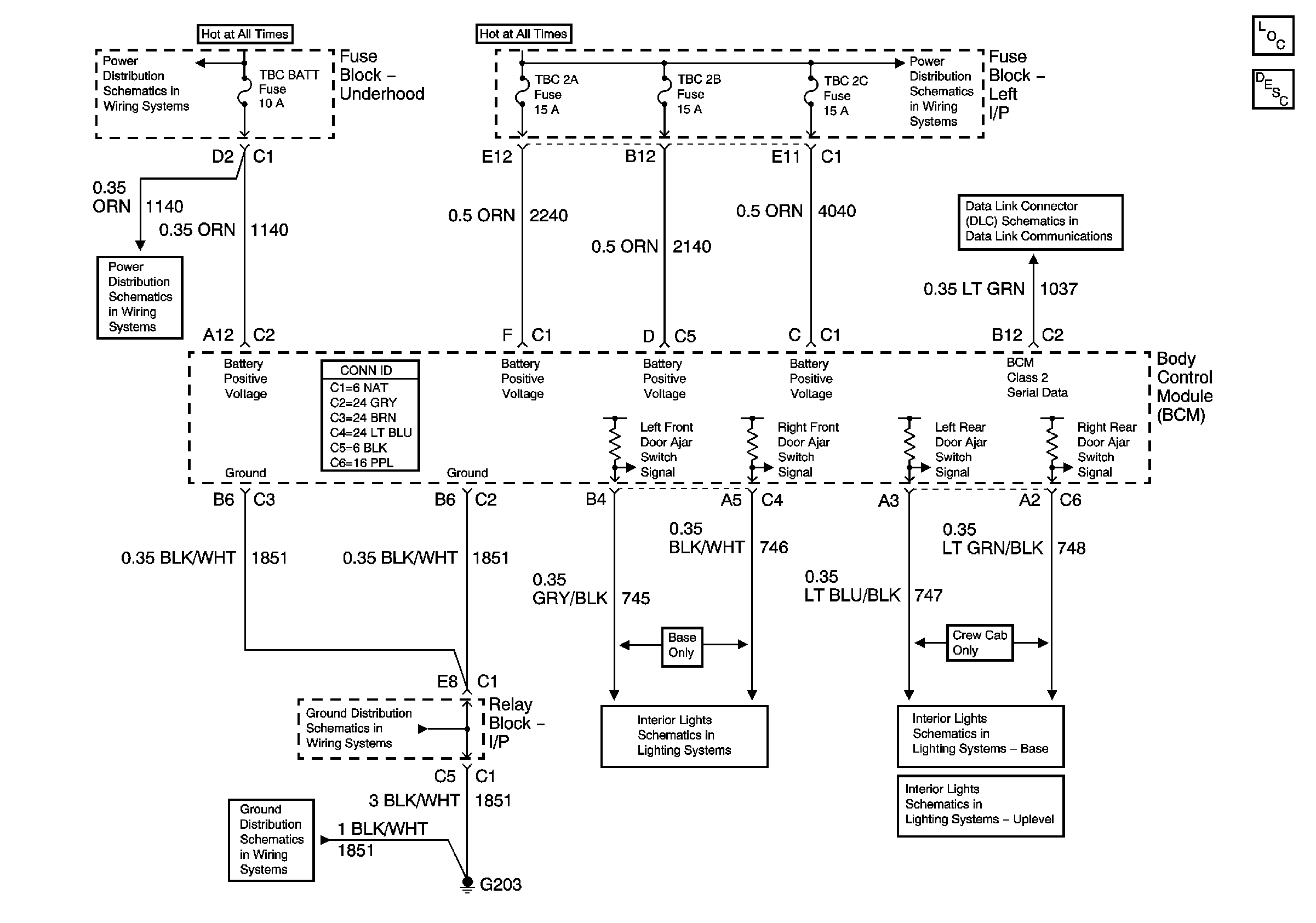
ABS, VSES, STUD #1, STUD #2, TBC
TBC 2A, TBC 2B, TBC 2C, LT DOORS, RT DOORS, SEATS
ABS, VSES, STUD #1, STUD #2, TBC
SP205 - 1 of 2
G203-1 of 3
G203-1 of 3
Door Jamb Switches - w/o YE9
Door Jamb Switches - w/o YE9
Door Jamb Switches - w/YE9 or Y91