GM Service Manual Online
For 1990-2009 cars only
Figure 1:

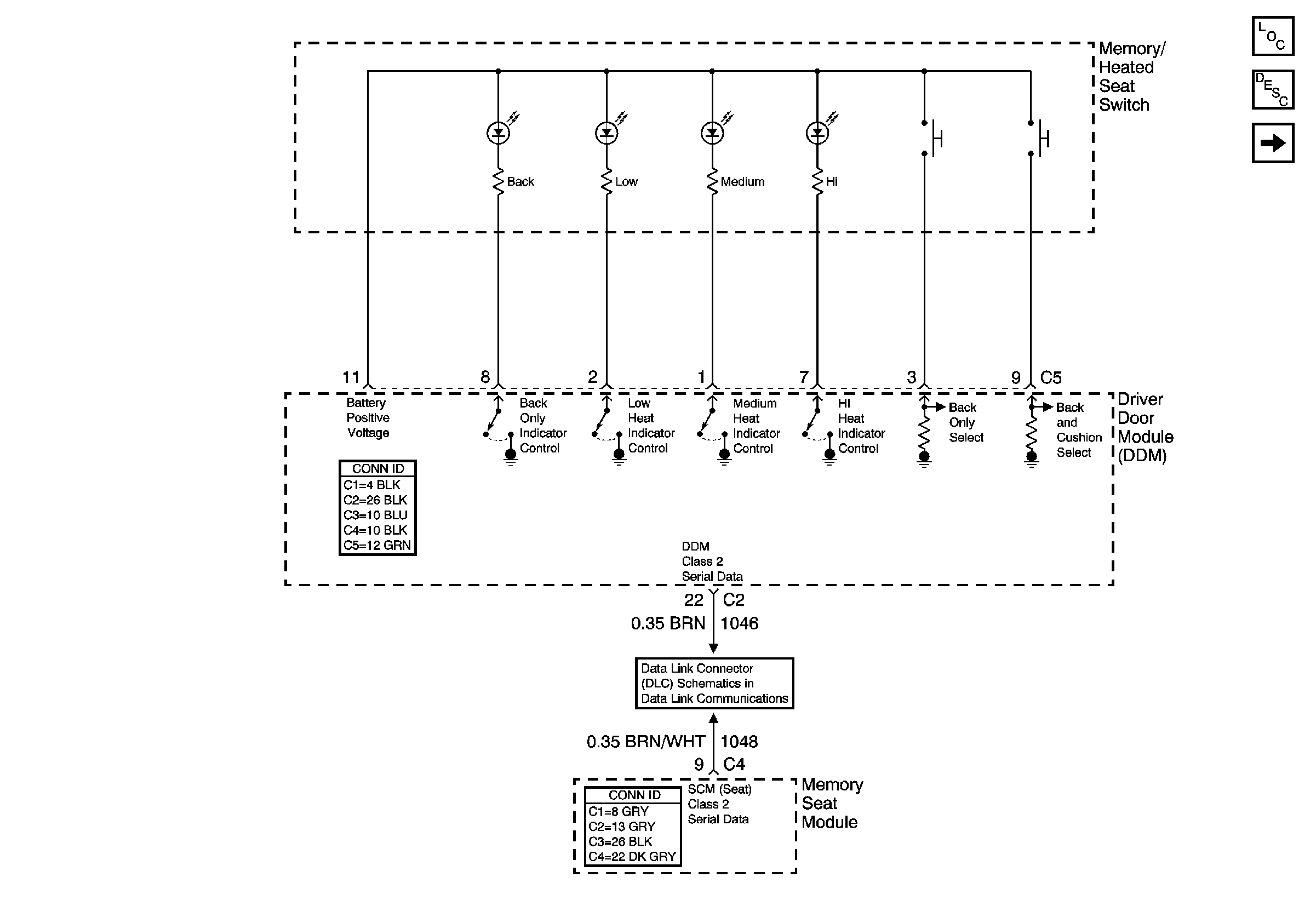
Heated Seat Controls - Driver


Object Number: 875486  Size: FS
Master Electrical Component List
Heated Seats Description and Operation
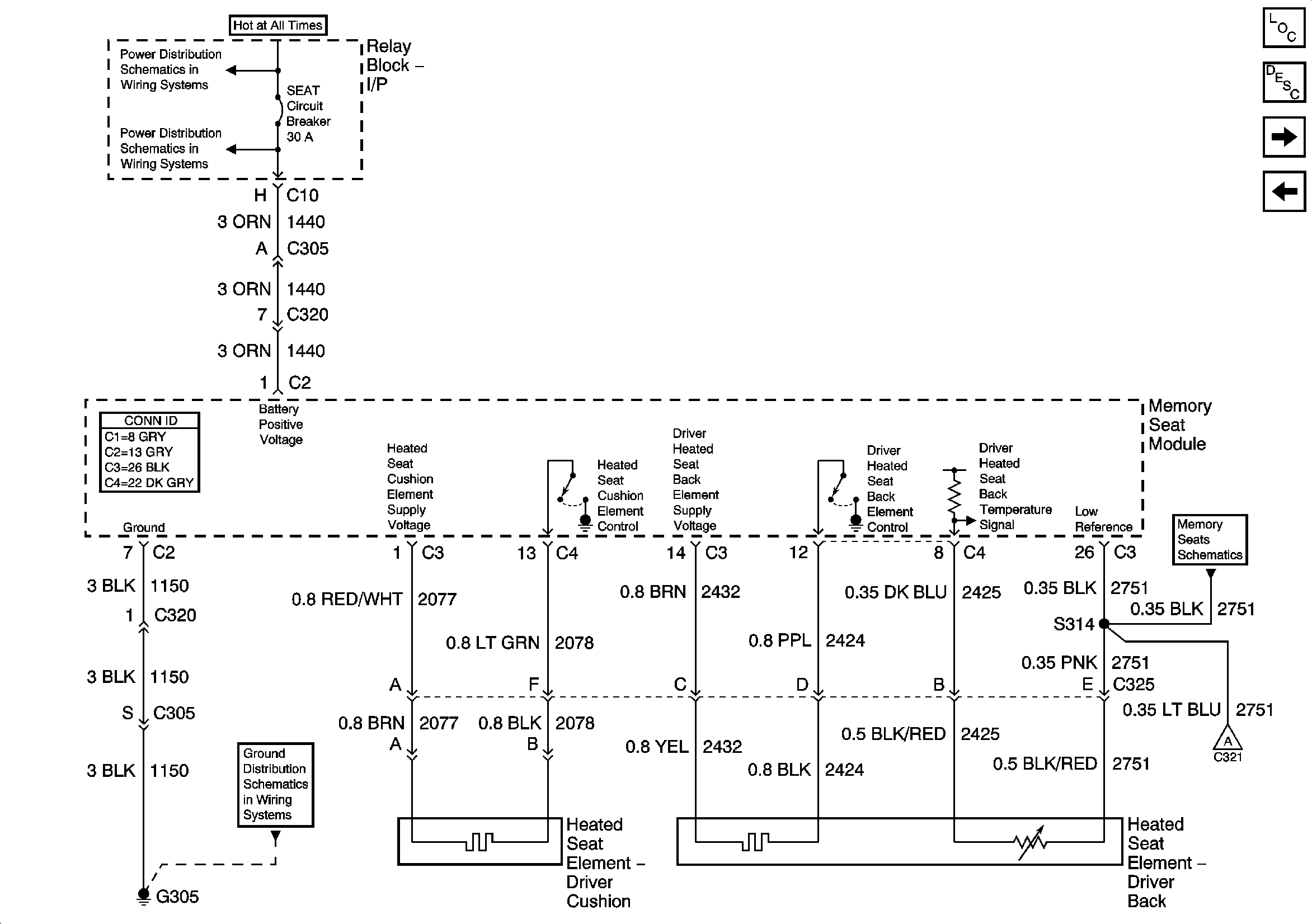
Power, Ground, and Driver Heated Seat Elements
SP205 - 1 of 2
Figure 2:

Power, Ground, and Driver Heated Seat Elements


Object Number: 875489  Size: FS
Master Electrical Component List
Heated Seats Description and Operation
Heated Seat Controls - Front Passenger
Heats Seat Controls - Driver
LBEC 1, LBEC 2, MBEC 1
TBC 2A, TBC 2B, TBC 2C, LT DOORS, RT DOORS, SEATS
G304, G305
Seat Position Sensors - 2 of 2
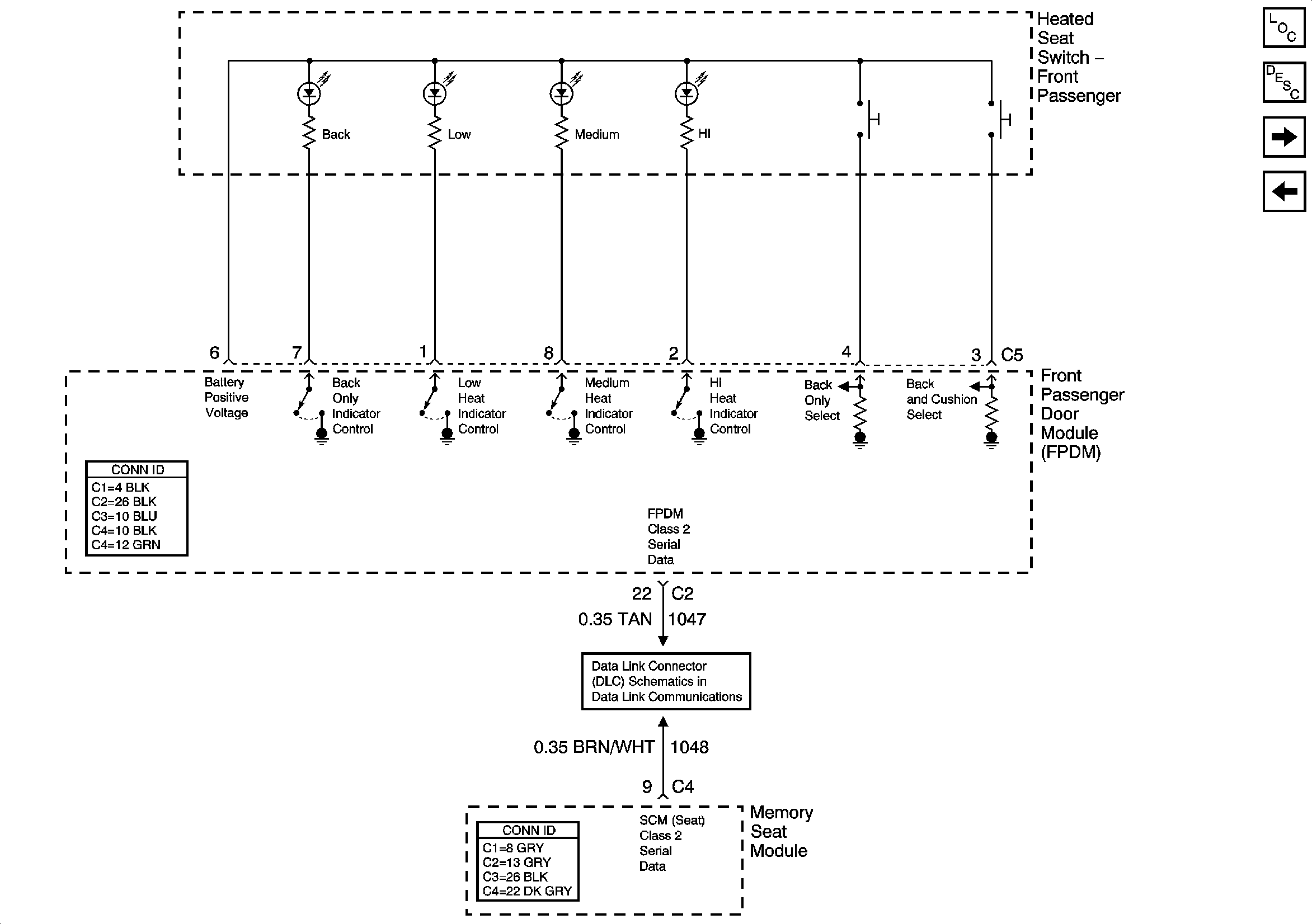
Figure 3:

Heated Seat Controls - Front Passenger


Object Number: 875491  Size: FS
Master Electrical Component List
Heated Seats Description and Operation
Front Passenger Heated Seat Elements)
Power, Ground, and Driver Heated Seat Elements
SP205 - 1 of 2
Figure 4:

Front Passenger Heated Seat Elements


Object Number: 875493  Size: FS
Master Electrical Component List
Heated Seats Description and Operation
Rear Heated Seats - 1 of 3
Heated Seat Controls - Front Passenger
Power, Ground, and Driver Heated Seat Elements