GM Service Manual Online
For 1990-2009 cars only
Figure 1:

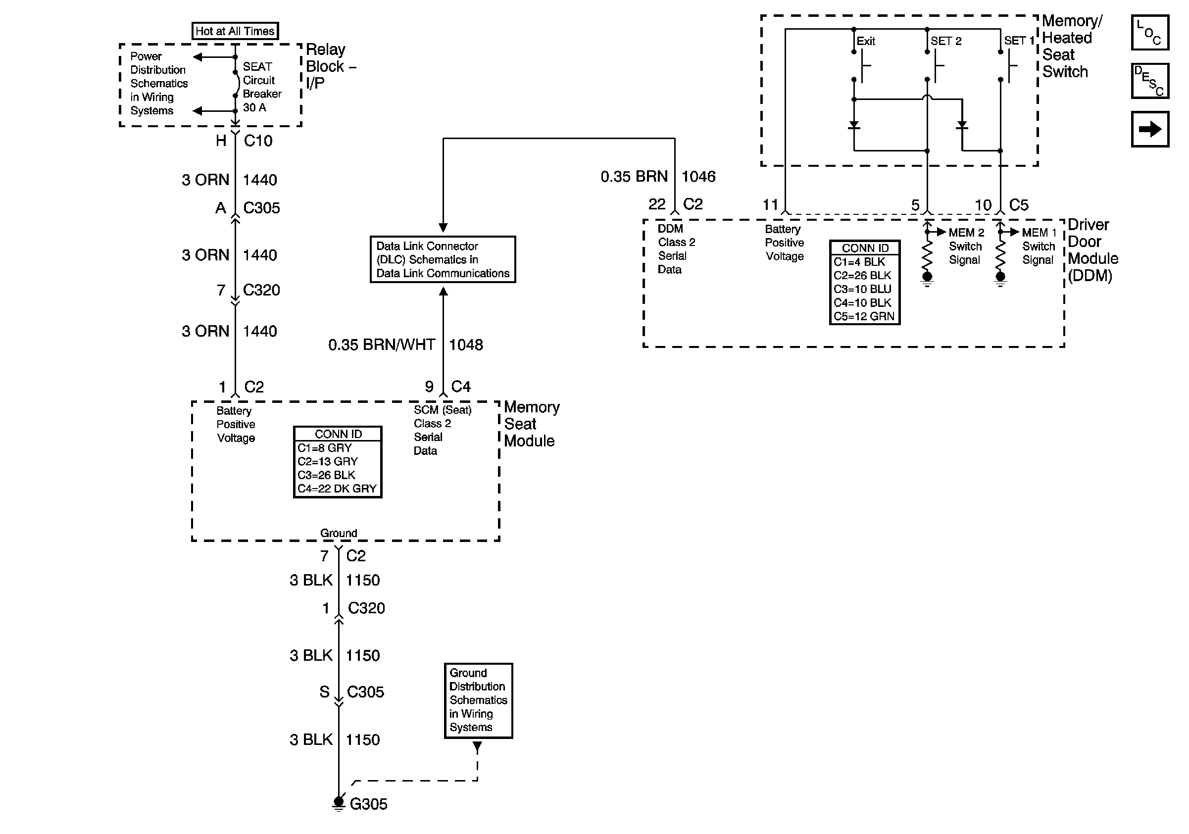
Power, Ground, Class 2, and Memory Seat Controls


Object Number: 875308  Size: FS
Master Electrical Component List
Memory Seats Description and Operation
Seat Adjuster Switch
LBEC 1, LBEC 2, MBEC 1
SP205 - 1 of 2
G304, G305
Figure 2:

Seat Adjuster Switch


Object Number: 875369  Size: FS
Master Electrical Component List
Memory Seats Description and Operation
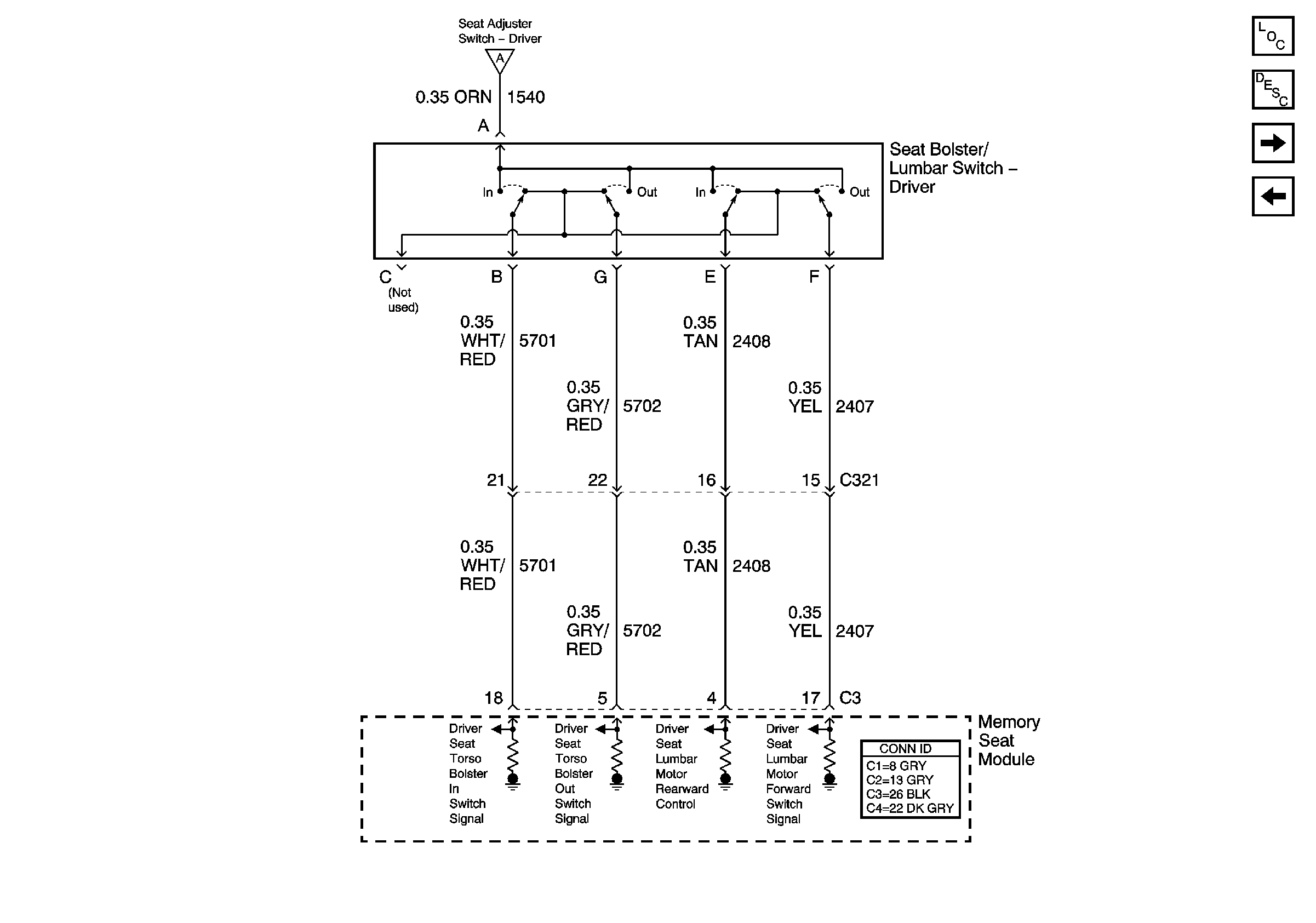
Seat Bolster/Lumbar Switch
Power, Ground, CLass2, and Memory Set Controls
Seat Bolster/Lumbar Switch
Figure 3:

Seat Bolster/Lumbar Switch


Object Number: 875371  Size: FS
Master Electrical Component List
Memory Seats Description and Operation
Seat Motors - 1 of 2
Seat Adjuster Switch
Seat Adjuster Switch
Figure 4:

Seat Motors - 1 of 2


Object Number: 875375  Size: FS
Master Electrical Component List
Memory Seats Description and Operation
Seat Motors - 2 of 2
Seat Bolster/Lumbar Switch
Figure 5:

Seat Motors - 2 of 2


Object Number: 875377  Size: FS
Master Electrical Component List
Memory Seats Description and Operation
Seat Position Sensors - 1 of 2
Seat Motors - 1 of 2
Figure 6:

Seat Position Sensors - 1 of 2


Object Number: 875382  Size: FS
Master Electrical Component List
Memory Seats Description and Operation
Seat Position Sensors - 2 of 2
Seat Motors - 2 of 2
Seat Position Sensors - 2 of 2
Seat Position Sensors - 2 of 2
Figure 7:

Seat Position Sensors - 2 of 2


Object Number: 875384  Size: FS
Master Electrical Component List
Memory Seats Description and Operation
Seat Position Sensors - 1 of 2
Power, Ground, and Driver Heated Seat Elements
Seat Position Sensors - 1 of 2
Seat Position Sensors - 1 of 2
Front Passenger Heated Seat Elements)