GM Service Manual Online
For 1990-2009 cars only
Makes
🢒
GMC_Truck
🢒
2003
🢒
GMC C Sierra - 2WD
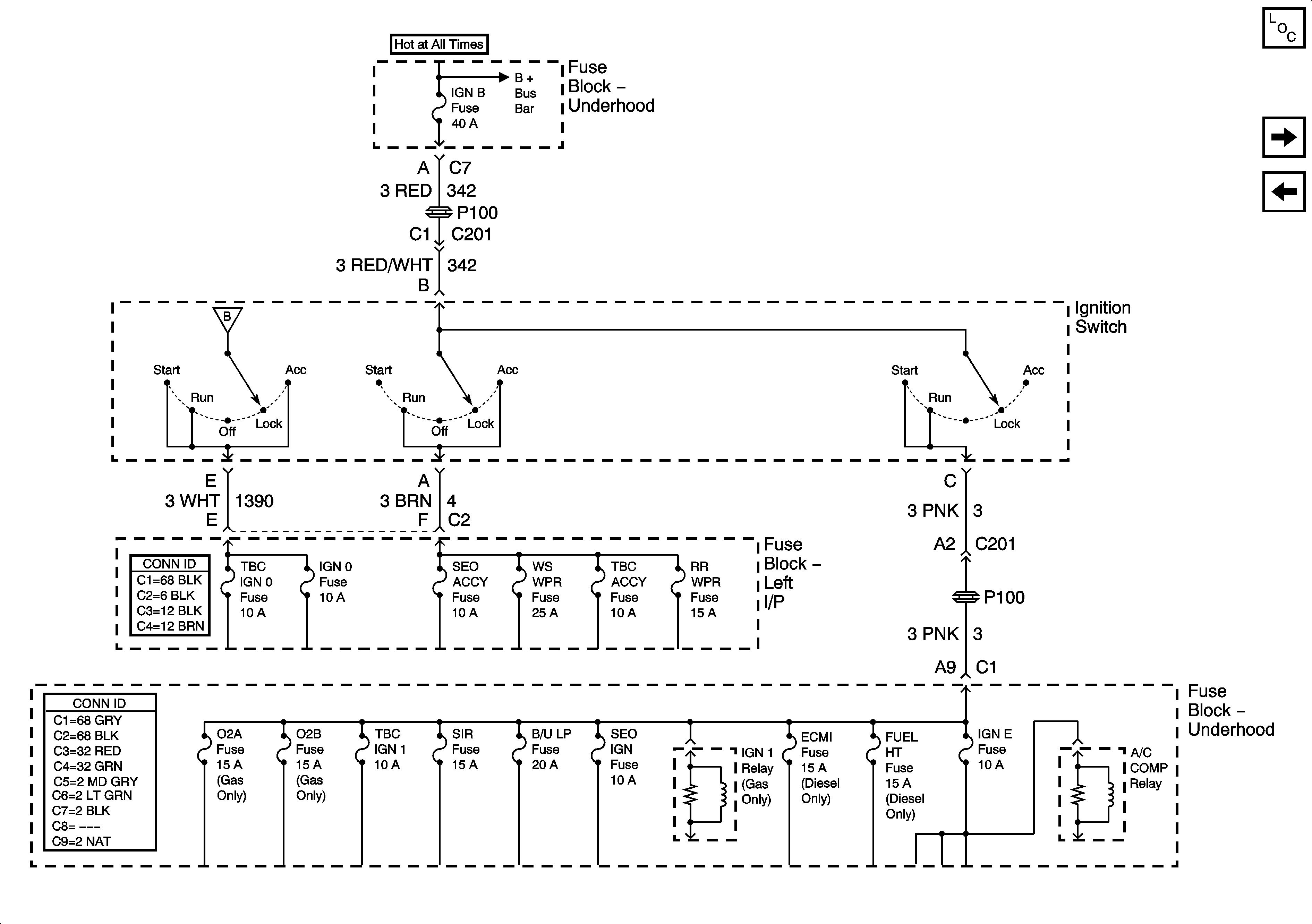
🢒 Ignition, Run, Start, Accy Bus Bar
Ignition, Run, Start, Accy Bus Bar
Ignition, Run, Start, Accy Bus Bar
Master Electrical Component List
LBEC 1, LBEC 2, MBEC 1
Ignition, Run and Start Bus Bar
B+ Bus Bar (Gas) - 1 of 3
Ignition, Run and Start Bus Bar