GM Service Manual Online
For 1990-2009 cars only
Makes
🢒
GMC_Truck
🢒
2003
🢒
GMC C Sierra - 2WD
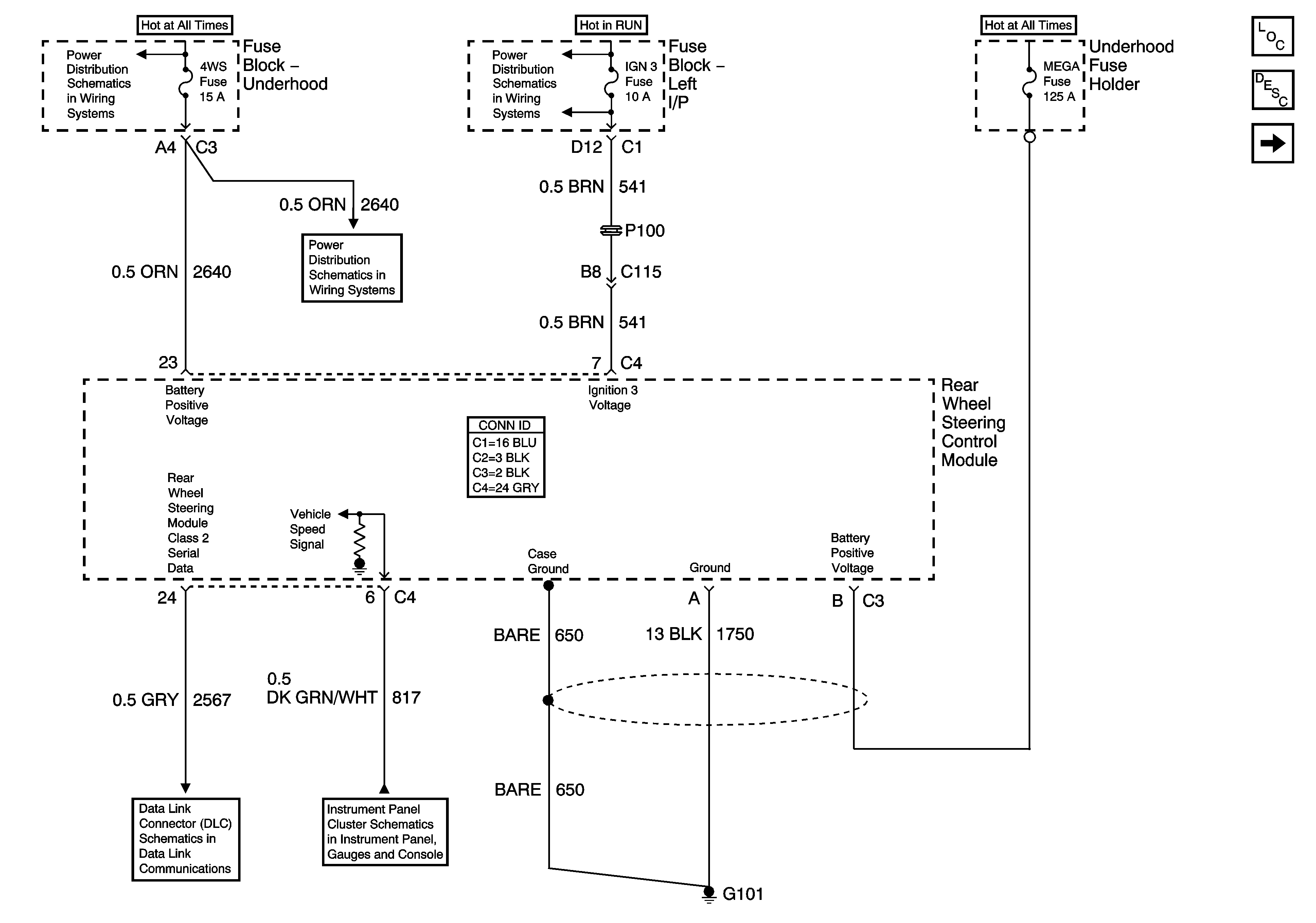
🢒 Power, Ground, DLC, and Vehicle Speed
Power, Ground, DLC, and Vehicle Speed
Power, Ground, DLC, and Vehicle Speed
Master Electrical Component List
Rear Wheel Steering Description and Operation
Rear Wheel Steering Switch
QS4, RADIO, RDO AMP
QS4, RADIO, RDO AMP
IGN 3, CRUISE, 4WD
SP205 - 1 of 2
Vehicle Speed Signal