GM Service Manual Online
For 1990-2009 cars only
Makes
🢒
GMC_Truck
🢒
2003
🢒
GMC C Sierra - 2WD
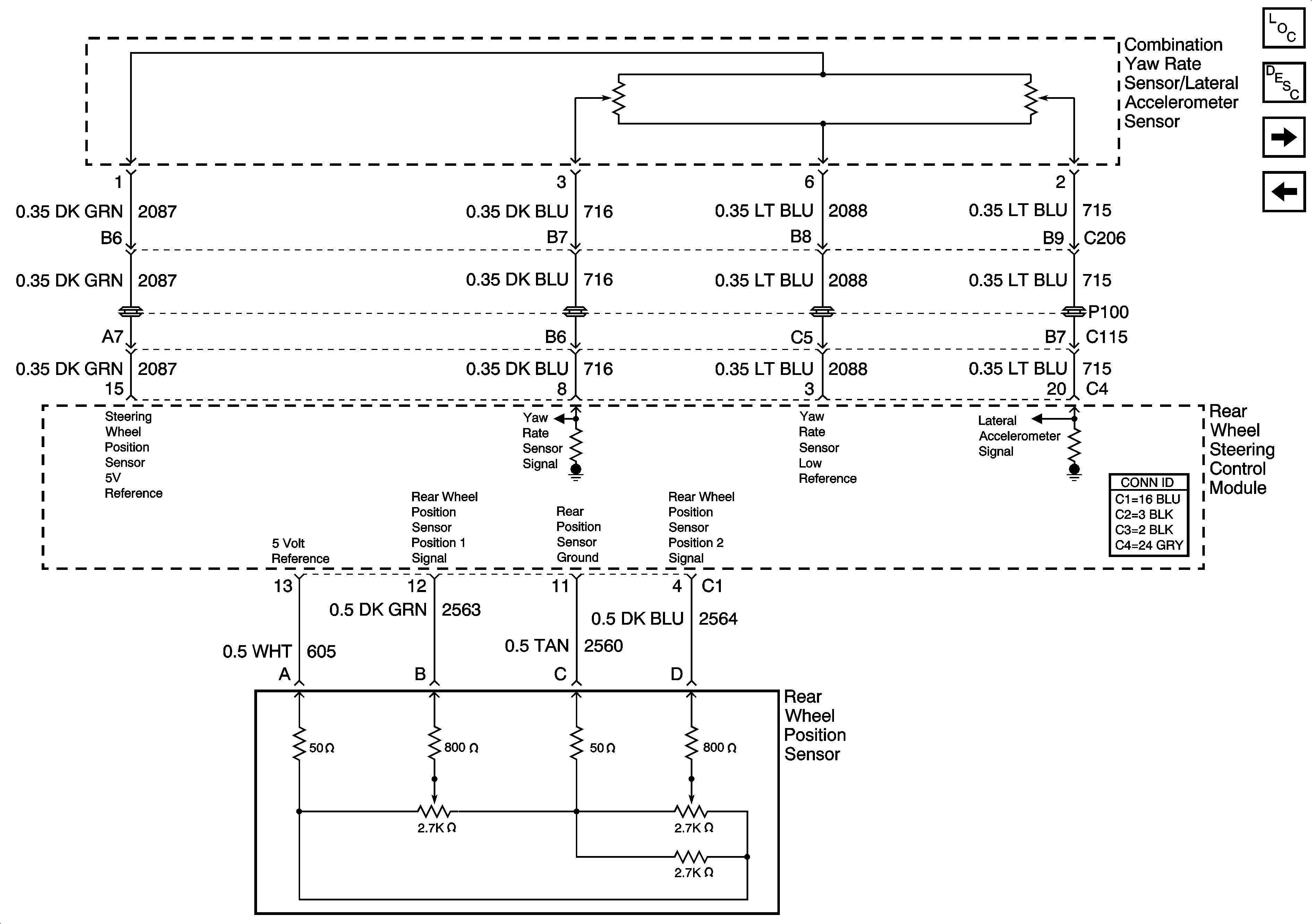
🢒 YAW/LAT and Rear Wheel Position Sensors
YAW/LAT and Rear Wheel Position Sensors
YAW/LAT and Rear Wheel Position Sensors
Master Electrical Component List
Rear Wheel Steering Description and Operation
Steering Gear Motor Assembly
03 GMT800 Rear Wheel Steering SCH (Steering Wheel/Speed Position Sensor)