GM Service Manual Online
For 1990-2009 cars only
Makes
🢒
GMC_Truck
🢒
2003
🢒
GMC C Sierra - 2WD
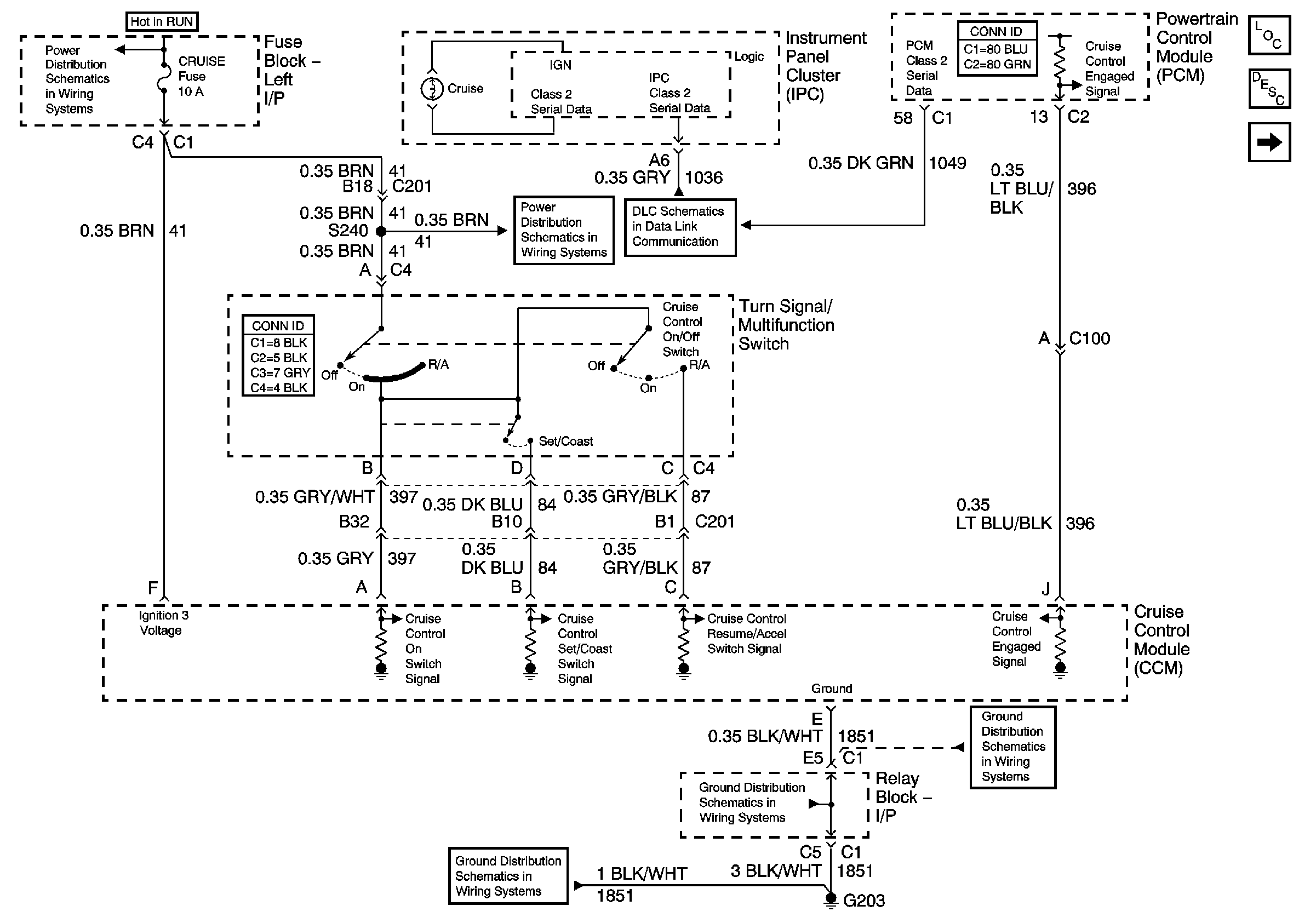
🢒 4.3L Cruise Control Schematics - 1 of 2
4.3L Cruise Control Schematics - 1 of 2
4.3L Cruise Control Schematics - 1 of 2
Master Electrical Component List
Cruise Control Description and Operation 4.3L
4.3L Cruise Control Schematics - 2 of 2
IGN 3, CRUISE, 4WD
IGN 3, CRUISE, 4WD
SP205 - 1 of 2
G203-1 of 3
G203-1 of 3
G203-1 of 3