GM Service Manual Online
For 1990-2009 cars only
Makes
🢒
GMC_Truck
🢒
2003
🢒
GMC C Sierra - 2WD
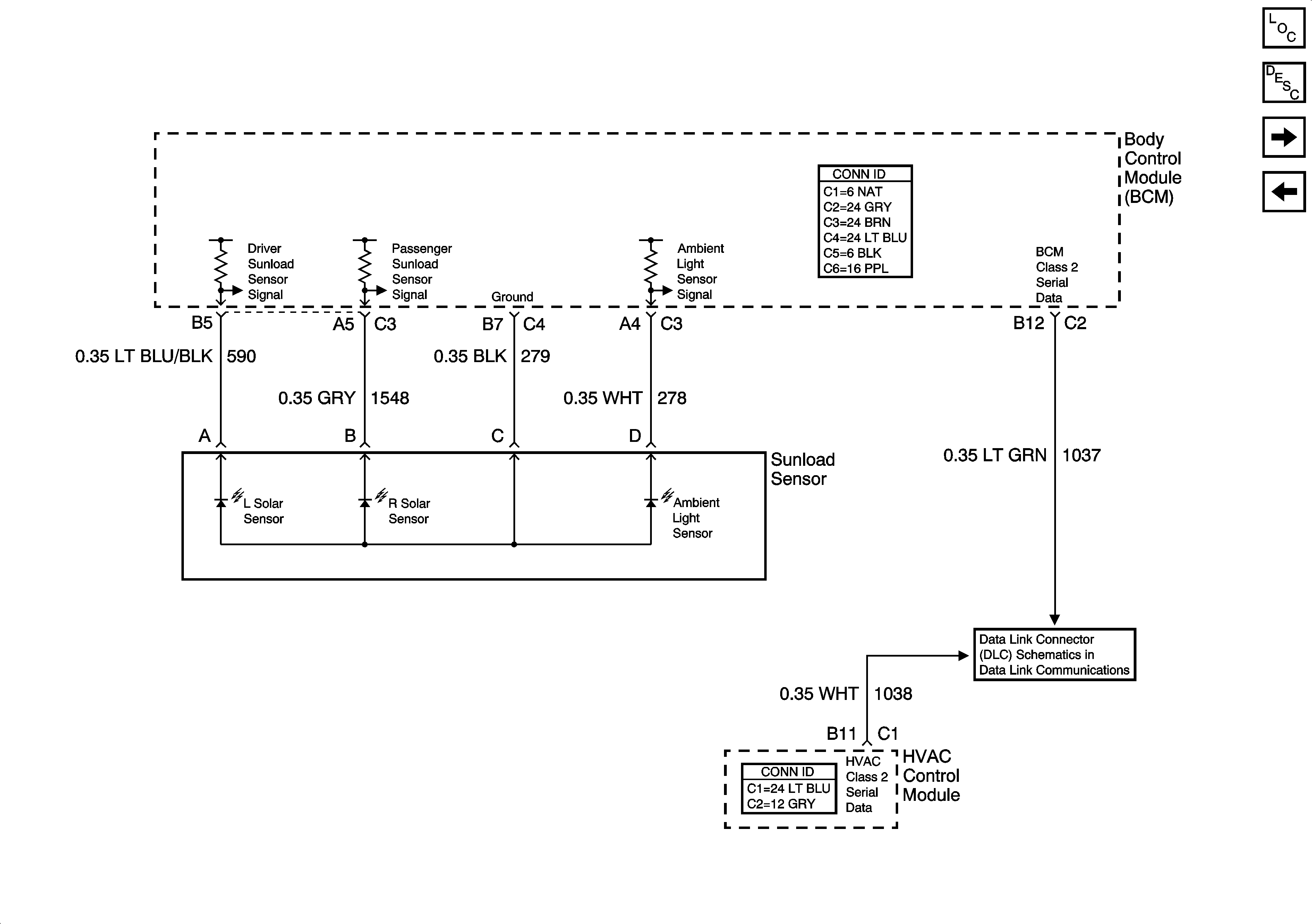
🢒 Sun Load and Ambient Light Sensors
Sun Load and Ambient Light Sensors
Sun Load and Ambient Light Sensors
Master Electrical Component List
Air Delivery Description and Operation
Front Left and Right Temperature Control
Power, Ground, Serial Data, and Front Blower Controls
SP205 - 1 of 2