GM Service Manual Online
For 1990-2009 cars only

Object Number: 848173  Size: MF
Master Electrical Component List
Automatic Transmission Controls Schematics
OBD II Symbol Description Notice

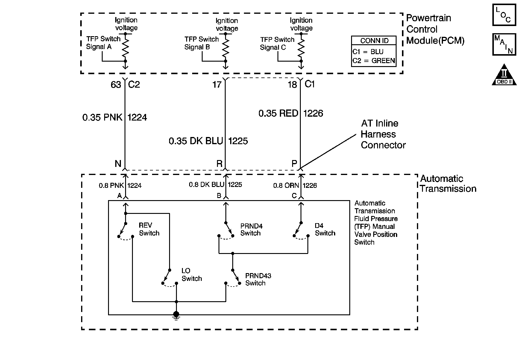
Circuit Description

The automatic transmission fluid pressure (TFP) manual valve position switch consists of five normally-open pressure switches. The powertrain control module (PCM) supplies battery voltage to each range signal. By grounding one or more of these circuits through various combinations of the pressure switches, the PCM detects what manual valve position has been selected, and compares the actual voltage combination of the switches to a TFP manual valve position switch combination table stored in memory.

The TFP manual valve position switch assembly cannot distinguish between PARK and NEUTRAL because the monitored valve body pressures are identical in both cases. With the ignition ON and the engine OFF, D2 is indicated. When the transmission 20-way connector is disconnected, the ground potential for the three range signals to the PCM is removed, and with the ignition ON, D2 is indicated.

If the PCM detects an invalid state of the TFP manual valve position switch circuit by deciphering the TFP manual valve position switch inputs, then DTC P1810 sets. DTC P1810 is a type C DTC. For California emissions vehicles and vehicles under 8,600 GVW, DTC P1810 is a type B DTC.

Conditions for Running the DTC

    • No AT VSS DTCs P0502 or P0503.
    • No AT ISS DTCs P0716 or P0717.
    • No PSA DTC P1810.
    • No MAP DTCs P0106, P0107 or P0108.
    • No MAF sensor DTCs P0101, P0102 or P0103.
    • No 1-2 SS DTCs P0751, P0752 or P0753.
    • No 2-3 SS DTCs P0756, P0757 or P0758.
    • No TP sensor DTCs P0121, P0122 or P0123.
    • The system voltage is 6.5-18 volts.
    • The engine torque must be 108-576 N·m (80-425 lb ft).
    • The engine vacuum is 0-105 kPa (0-15 psi).

Conditions for Setting the DTC

DTC P1810 sets on the first occurrence in which any of the following condition occurs:

Condition 1

The PCM detects the engine speed is greater than 400 RPM for 7 seconds, an illegal TFP manual valve position switch combination for 60 seconds.

Condition 2

    • The engine speed is less than 50 RPM for 0.3 second; then 50-525 RPM for 0.025 second; then the engine speed is greater than 525 RPM.
    • The vehicle speed is less than 8 km/h (5 mph).
    • Engine RPM sequence must occur within 30 seconds of key ON.
    • The PCM detects the gear range D2, D4 or REVERSE before and after start up.
    • All conditions are met for 7 seconds and AT ISS is greater than 200 RPM.

Condition 3

    • The vehicle speed is greater than 8 km/h (5 mph).
    • The throttle angle is greater than 10 percent.
    • The PCM detects an invalid TFP switch combination state.
    • The TFP switch indicates the following:
       - P/N when the ratio indicates third or fourth gear for greater than 15 seconds
       - Reverse when the ratio indicates D4, D3, D2, and D1 for greater than 15 seconds
       - D4, D3, D2, and D1 when the ratio indicates reverse for greater than 7 seconds

Action Taken When the DTC Sets

    • For California emission equipped vehicles, the PCM illuminates the malfunction indicator lamp (MIL) during the second consecutive trip in which the Conditions for Setting the DTC are met. For Federal emission equipped vehicles, the MIL is not illuminated.
    • The PCM commands maximum line pressure.
    • The PCM assumes D4 for the PRNDL shift pattern.
    • The PCM freezes shift adapts.
    • The PCM forces the TCC on in FOURTH gear.
    • The PCM records the operating conditions when the Conditions for Setting the DTC are met. The PCM stores this information as Freeze Frame, California only, and Failure Records, California and Federal.
    • The PCM stores the DTC P1810 in PCM history during the second consecutive trip, California, or the first trip, Federal, in which the Conditions for Setting the DTC are met.

Conditions for Clearing the MIL/DTC

    • For California emissions, the PCM turns OFF the MIL during the third consecutive trip in which the diagnostic test runs and passes.
    • A scan tool can clear the MIL/DTC.
    • For California emissions, the PCM clears the DTC from PCM history if the vehicle completes 40 warm-up cycles without an emission related diagnostic fault occurring.
    • For Federal emissions, the PCM clears the DTC from PCM history if the vehicle completes 40 warm-up cycles without a non-emission related diagnostic fault occurring.
    • The PCM cancels the DTC default actions when the fault no longer exists and the ignition switch is OFF long enough in order to power down the PCM.

Diagnostic Aids

    • Refer to Transmission Fluid Pressure Manual Valve Position Switch Logic for the normal range signals and the illegal or invalid switch combinations.
    • DTC P1810 can set from low pump pressure, a stuck pressure regulator, or unit refill from overhaul and pan removal.
    • DTC P1810 can be set by a slipping forward clutch, allowing a 2.08:1 ratio, reverse, when the manual valve position is indicated as D4.
    • DTC P1810 defaults to an elevated line pressure condition which may result in partial TCC apply. This may produce an idle surge that could stall the engine.

Test Description

The numbers below refer to the step numbers on the diagnostic table.

  1. This step tests the indicated range signal to the manual valve that is actually selected.

  2. This step tests the voltage from the PCM to the transmission 20-way connector.

Step

Action

Value(s)

Yes

No

1

Did you perform the Diagnostic System Check - Engine Controls?

--

Go to Step 2

Go to Diagnostic System Check - Engine Controls in Engine Controls - 6.0L

2

Inspect for correct transmission fluid level.

Refer to Transmission Fluid Check .

Did you perform the Transmission Fluid Checking Procedure?

--

Go to Step 3

Go to Transmission Fluid Check

3

  1. Install a scan tool.
  2. Turn ON the ignition, with the engine OFF.
  3. Important: Before clearing the DTCs, use the scan tool in order to record the Freeze Frame and Failure Records. Using the Clear Info function erases the Freeze Frame and Failure Records from the PCM.

  4. Record the Freeze Frame and Failure Records.
  5. Clear the DTCs.
  6. Start the engine and idle at normal operating temperature.
  7. Apply the brake pedal.
  8. Select each transmission range: D1, D2, D3, D4, N, R, and P.
  9. Refer to Transmission Fluid Pressure Manual Valve Position Switch Logic .

Does each selected transmission range match the scan tool TFP switch A/B/C display?

--

Go to Intermittent Conditions in Engine Controls - 6.0L

Go to Step 4

4

  1. Inspect the transmission linkage, from the gear select lever to the manual valve, for proper adjustment.
  2. Adjust the linkage as necessary.
  3. Refer to Range Selector Lever Cable Adjustment .

Did the linkage require adjustment?

--

Go to Step 17

Go to Step 5

5

  1. Turn OFF the ignition.
  2. Disconnect the AT inline 20-way connector. Additional DTCs may set.
  3. Turn ON the ignition, with the engine OFF.

Does the scan tool TFP Switch A/B/C parameter indicate HI for all range signal states?

--

Go to Step 6

Go to Step 10

6

  1. Turn OFF the ignition.
  2. Install the J 44152 jumper harness (20 pins) on the engine side of the AT inline 20-way connector.
  3. Turn ON the ignition, with the engine OFF.
  4. Using the DMM and the J 35616 GM-approved terminal test kit, measure the voltage from terminal N of the J 44152 to ground.
  5. Refer to Automatic Transmission Inline 20-Way Connector End View .

  6. Measure the voltage from terminal R of the J 44152 to ground.
  7. Measure the voltage from terminal P of the J 44152 to ground.

Is ignition voltage measured at all three terminals?

--

Go to Step 7

Go to Step 11

7

Connect a fused jumper wire from terminal N of the J 44152 , signal circuit A, to ground, while monitoring the scan tool TFP Switch A/B/C parameter.

When Transmission Fluid Pressure Switch Signal A circuit (CKT 1224) is grounded, do any other signal circuits indicate Low?

--

Go to Step 12

Go to Step 8

8

Connect a fused jumper wire from terminal R of the J 44152 , signal circuit B, to ground, while monitoring the scan tool TFP Switch A/B/C parameter.

When Transmission Fluid Pressure Switch Signal B circuit (CKT 1225) is grounded, do any other signal circuits indicate Low?

--

Go to Step 12

Go to Step 9

9

Connect a fused jumper wire from terminal P of the J 44152 , signal circuit C, to ground, while monitoring the scan tool TFP Switch A/B/C parameter.

When Transmission Fluid Pressure Switch Signal C circuit (CKT 1226) is grounded, do any other signal circuits indicate Low?

--

Go to Step 12

Go to Step 13

10

Test the Transmission Fluid Pressure Switch Signal A, Signal B and Signal C circuits (CKTs 1224, 1225 and 1226) of the TFP manual valve position switch that did not indicate HI for a short to ground between the PCM connectors and the AT inline 20-way connector.

Refer to Testing for Short to Ground and Wiring Repairs in Wiring Systems.

Did you find and correct the condition?

--

Go to Step 17

Go to Step 16

11

Test the Transmission Fluid Pressure Switch Signal A, Signal B and Signal C circuits (CKTs 1224, 1225 and 1226) of the TFP manual valve position switch that did not indicate ignition voltage for an open between the PCM connectors and the AT inline 20-way connector.

Refer to Testing for Continuity and Wiring Repairs in Wiring Systems.

Did you find and correct the condition?

--

Go to Step 17

Go to Step 16

12

Test the affected signal circuits of the TFP manual valve position switch for a shorted together condition between the PCM connectors C1, C2 and the AT inline 20-way connector.

Refer to Circuit Testing and Wiring Repairs in Wiring Systems.

Did you find and correct the condition?

--

Go to Step 17

Go to Step 16

13

Test the Transmission Fluid Pressure Switch Signal A, Signal B and Signal C circuits (CKTs 1224, 1225 and 1226) of the TFP manual valve position switch for an open or shorted condition between the TFP manual valve position switch and the AT inline 20-way connector.

Refer to Circuit Testing and Wiring Repairs in Wiring Systems.

Did you find a condition?

--

Go to Step 14

Go to Step 15

14

Replace the AT wiring harness assembly.

Refer to Valve Body and Pressure Switch Replacement .

Did you complete the replacement?

--

Go to Step 17

--

15

Replace the TFP manual valve position switch.

Refer to Valve Body and Pressure Switch Replacement .

Did you complete the replacement?

--

Go to Step 17

--

16

Replace the PCM.

Refer to Powertrain Control Module Replacement in Engine Controls - 6.0L.

Did you complete the replacement?

--

Go to Step 17

--

17

Perform the following procedure in order to verify the repair:

  1. Select DTC.
  2. Select Clear Info.
  3. Operate the vehicle under the following conditions:
  4. • Turn ON the ignition, with the engine OFF for at least 2 seconds.
    • Start the vehicle.
    • Idle the vehicle in PARK above 600 RPM for 7 seconds.
    • Drive the vehicle in D4 with the throttle at least 10 percent and the TCC locked for 60 seconds.
  5. Select Specific DTC.
  6. Enter DTC P1810.

Has the test run and passed?

--

Go to Step 18

Go to Step 2

18

With the scan tool, observe the stored information, capture info and DTC info.

Does the scan tool display any DTCs that you have not diagnosed?

--

Go to Diagnostic Trouble Code (DTC) List in Engine Controls - 6.0L

System OK