GM Service Manual Online
For 1990-2009 cars only

BENT OR BROKEN POWER ANTENNA MAST

SUBJECT: BENT OR BROKEN POWER ANTENNA MAST (REPLACE MAST SECTION)

MODELS: 1992-95 CHEVROLET AND GMC TRUCK G VANS WITH POWER ANTENNA (RPO U75)

CONDITION:

SOME OWNERS MAY COMMENT THAT THE POWER ANTENNA MAST DOES NOT RETRACT OR EXTEND PROPERLY, THEY MAY ALSO COMMENT THAT THE ANTENNA IS BENT OR BROKEN THUS PREVENTING THE ANTENNA FROM EXTENDING AND RETRACTING PROPERLY.

CAUSE:

THE ANTENNA EXTENDS WHENEVER THE RADIO IS TURNED ON AND IT RETRACTS WHENEVER THE RADIO OR THE IGNITION IS TURNED OFF. FAILURE TO TURN THE RADIO OFF BEFORE ENTERING AN AUTOMATIC CAR WASH, MAY RESULT IN A DAMAGED ANTENNA MAST. THE DAMAGE IS USUALLY CONFINED TO THE 200 OR 300 TUBE ASSEMBLIES OF THE POWER ANTENNA MAST (FIGURE 1). THE DAMAGE CAN ALSO BE THE RESULT OF DIRECT ABUSE TO THE ANTENNA MAST ASSEMBLY.

CORRECTION:

PAST PRACTICE REQUIRED REPLACING THE ENTIRE POWER ANTENNA MOTOR TO CORRECT THIS CONDITION. THE 200/300 TUBE ASSEMBLIES ARE NOW AVAILABLE AS A SERVICE KIT, SO THE ENTIRE MOTOR REPLACEMENT IS NO LONGER NECESSARY TO CORRECT THIS CONDITION. THE 100 ROD MAST SECTION IS NORMALLY NOT DAMAGED, AND CAN BE REUSED.

SERVICE PROCEDURE

MAST SECTION REMOVAL

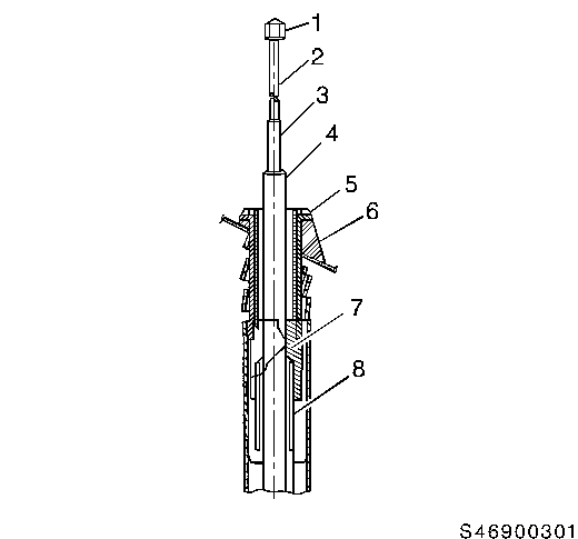
1. PROP HOOD USING HOOD SUPPORT ROD. 2. TURN RADIO ON AND DISCONNECT NEGATIVE BATTERY CABLE SO THAT THE ANTENNA REMAINS IN THE UP POSITION. 3. REMOVE THE MOUNTING NUT FROM THE POWER ANTENNA MAST (FIGURE 1, ITEM 5). 4. REMOVE THE MOUNTING WEDGE FROM THE POWER ANTENNA MAST (FIGURE 1, ITEM 6). 5. REMOVE THE FINIAL FROM THE TOP OF THE 100 ROD OF THE POWER ANTENNA MAST (FIGURE 1, ITEM 1). (KEEP THE 100 ROD FROM TURNING BY GRIPPING THE ROD WITH PLIERS PADDED WITH A CLOTH TO PREVENT DAMAGE TO THE ROD SURFACE, BE CAREFUL NOT TO BEND THE 100 ROD.) 6. REMOVE THE INSULATOR STOP FROM THE POWER ANTENNA MAST BY SLIDING A 14MM DEEP WELL SOCKET OVER THE TUBE ASSEMBLY (FIGURE 1, ITEM 7). 7. REMOVE THE 200/300 TUBE ASSEMBLY FROM THE ANTENNA MAST, BY SLIDING THEM OVER THE 100 ROD.

MAST SECTION INSTALLATION

1. LUBRICATE THE CONTRACTOR FINGERS OF THE NEW 300 TUBE WITH THE SUPPLIED LUBRICANT. 2. SLIDE THE ASSEMBLY TOOL OVER THE TUBE ASSEMBLIES TO COMPRESS THE CONTRACTOR FINGERS (FIGURE 2). 3. SLIDE THE ASSEMBLY TOOL AND MAST ASSEMBLIES OVER THE 100 ROD AND INTO THE STATIONARY TUBE. (MAKE SURE THE FINGERS ARE INSIDE THE STATIONARY TUBE.) 4. REMOVE THE ASSEMBLY TOOL, THEN BOTTOM THE MAST IN THE STATIONARY TUBE. MAKE SURE THE THREADED TOP OF THE 100 ROD IS ABOVE THE TOP OF THE 200 TUBE. 5. INSTALL THE NEW INSULATOR STOP BY SLIDING IT OVER THE TUBE ASSEMBLIES AND SECURE USING A 14MM DEEP WELL SOCKET. 6. INSTALL THE MOUNTING WEDGE. 7. INSTALL THE MOUNTING NUT. 8. INSTALL THE NEW FINIAL. 9. RECONNECT THE NEGATIVE BATTERY CABLE. 10. CHECK CYCLE FOR PROPER OPERATION.

SERVICE PARTS INFORMATION

P/N DESCRIPTION QTY 22109894 MAST TUBE SERVICE KIT 1

PARTS ARE CURRENTLY AVAILABLE FROM GMSPO.

WARRANTY INFORMATION

FOR VEHICLES REPAIRED UNDER WARRANTY, USE:

LABOR OP DESCRIPTION LABOR TIME R0420 POWER ANTENNA MAST REPLACEMENT USE PUBLISHED LABOR OPERATION TIME

FIGURES: 2

CAPTIONS: FIGURE 1 - CROSS SECTION OF FENDER MOUNTED ANTENNA 1. FINIAL 5. MOUNTING NUT 2. 100 ROD ASS'Y 6. MOUNTING WEDGE 3. 200 TUBE ASS'Y 7. INSULATOR STOP 4. 300 TUBE ASS'Y 8. STATIONARY TUBE

FIGURE 2 - ASSEMBLY TOOL AND TUBE ASSEMBLIES 1. 200 TUBE ASS'Y 2. 300 TUBE ASS'Y 3. ASS'Y TOOL


Object Number: 93599  Size: MF


Object Number: 95237  Size: MH

GENERAL MOTORS BULLETINS ARE INTENDED FOR USE BY PROFESSIONAL TECHNICIANS, NOT A "DO-IT-YOURSELFER". THEY ARE WRITTEN TO INFORM THOSE TECHNICIANS OF CONDITIONS THAT MAY OCCUR ON SOME VEHICLES, OR TO PROVIDE INFORMATION THAT COULD ASSIST IN THE PROPER SERVICE OF A VEHICLE. PROPERLY TRAINED TECHNICIANS HAVE THE EQUIPMENT, TOOLS, SAFETY INSTRUCTIONS AND KNOW-HOW TO DO A JOB PROPERLY AND SAFELY. IF A CONDITION IS DESCRIBED, DO NOT ASSUME THAT THE BULLETIN APPLIES TO YOUR VEHICLE, OR THAT YOUR VEHICLE WILL HAVE THAT CONDITION. SEE A GENERAL MOTORS DEALER SERVICING YOUR BRAND OF GENERAL MOTORS VEHICLE FOR INFORMATION ON WHETHER YOUR VEHICLE MAY BENEFIT FROM THE INFORMATION.

COPYRIGHT 1994 GENERAL MOTORS CORPORATION. ALL RIGHTS RESERVED.