GM Service Manual Online
For 1990-2009 cars only
Makes
🢒
GMC_Truck
🢒
1996
🢒
GMC G Van
🢒
Engine
🢒
Engine Electrical
🢒 Transmission Engine Wiring Harness
Figure
1:
4L60E
(1)
Engine Wiring Harness
(2)
Engine Wiring Harness Retainers Clips
(3)
Park/Neutral Switch
(4)
Transmission
(5)
Transmission Connector
(6)
Speed Sensor
(7)
Engine Harness Retainer Bolt
(8)
Engine Wiring Harness Retainer Nut
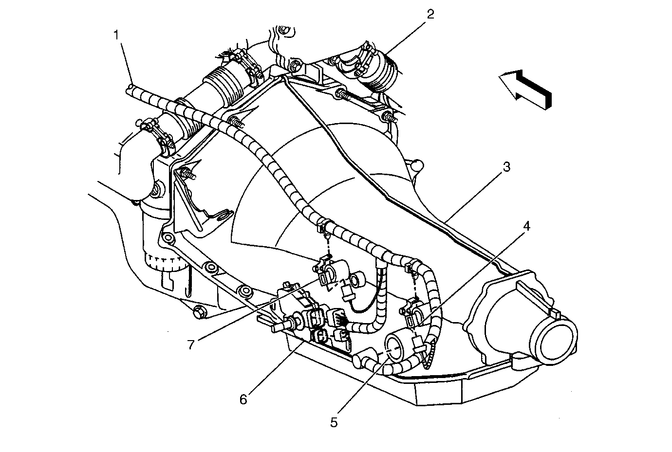
Figure
2:
4L80E
(1)
Engine Wiring Harness
(2)
Engine
(3)
Transmission
(4)
Output Speed Sensor
(5)
Speed Sensor
(6)
Park/Neutral Switch
(7)
Input Speed Sensor