GM Service Manual Online
For 1990-2009 cars only

Removal Procedure

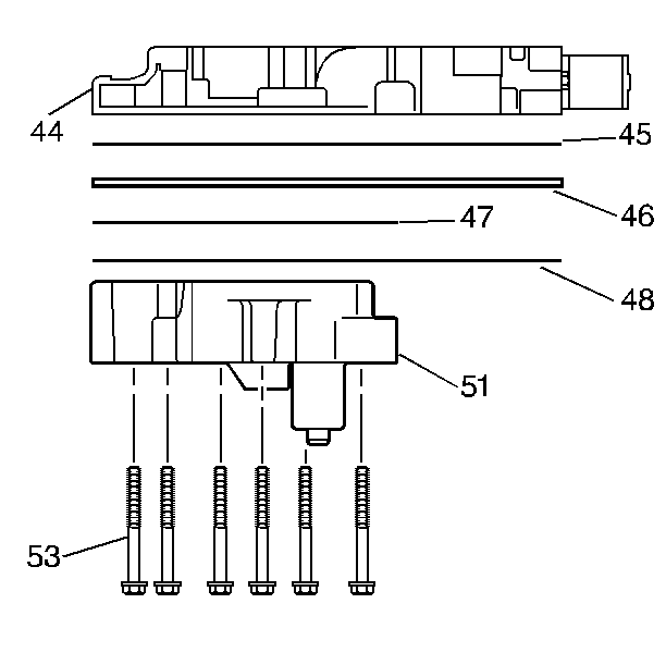
Refer to the following transmission component locator graphic as needed:


Object Number: 102567  Size: SH

(44)Control Valve Body Assembly
(45)Valve Body to Spacer Plate Gasket
(46)Valve Body Spacer Plate
(47)Accumulator Housing to Spacer Plate Gasket
(48)Spacer Plate to Case Gasket
(51)Accumulator Housing
(53)Accumulator Housing to Valve Body Bolt

  1. Remove the bolts using an 8 mm socket.
  2. Remove the accumulator housing assembly.
  3. Remove the gasket accumulator housing.
  4. Remove the spacer plate.
  5. Remove the valve body spacer gasket.
  6. Remove the accumulator housing to spacer plate gasket.