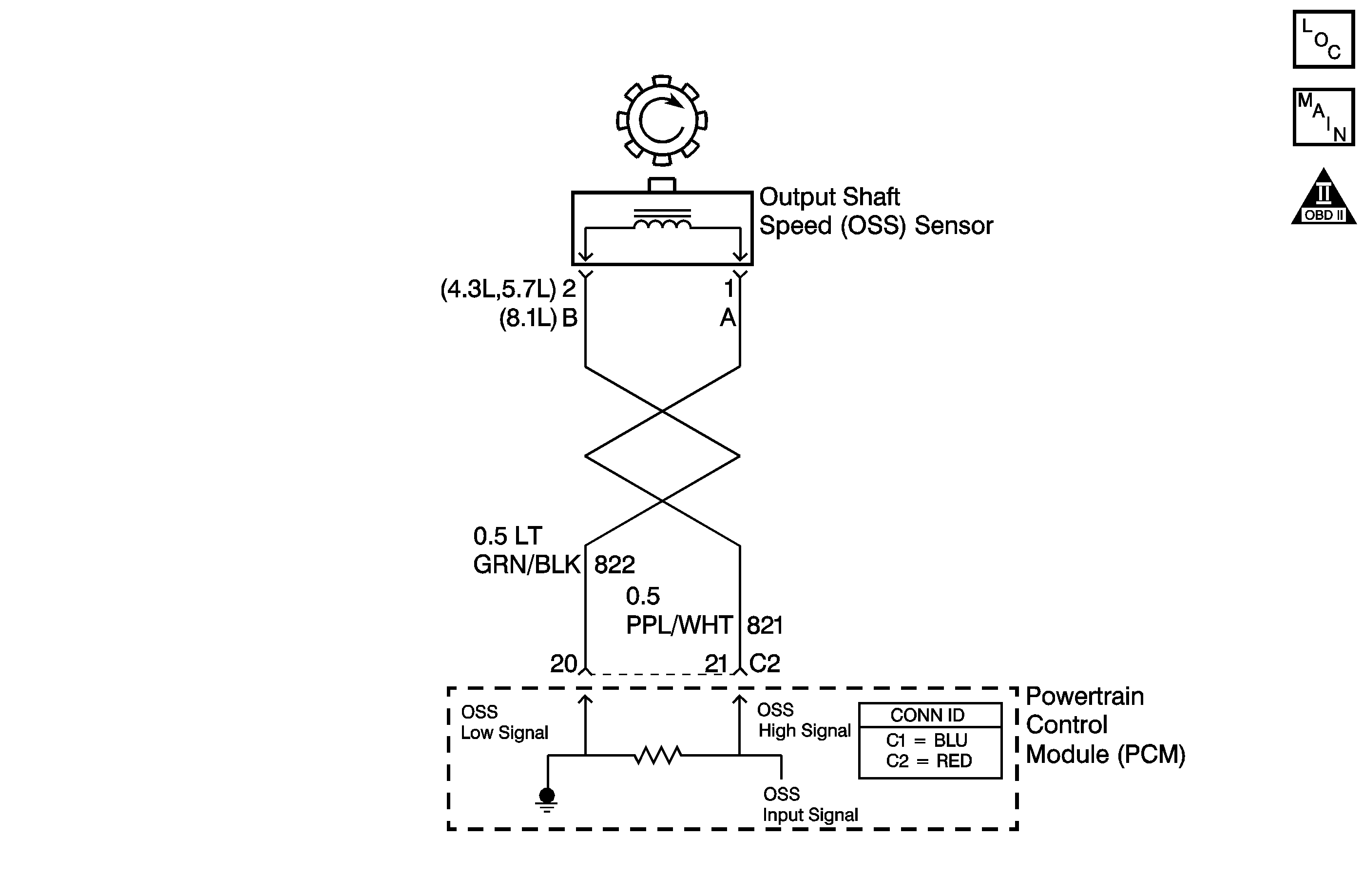
The output shaft speed (OSS) sensor, which is a permanent magnet generator, provides the vehicle speed information to the powertrain control module (PCM). The PM generator produces a pulsing AC voltage as the transmission speed sensors rotor teeth pass through the magnetic field of the sensor. The AC voltage level and the number of pulses increase as the speed of the vehicle increases. The PCM then converts the pulsing voltage to a digital signal for vehicle speed. The vehicle speed is used for engine and transmission calculations.
If the PCM detects a low vehicle speed and there is a high engine speed in a drive gear range, DTC P0502 sets. DTC P0502 is a type C DTC. For California emissions, DTC P0502 is a type B DTC.
| • | No MAF sensor DTCs P0101, P0102 or P0103. |
| • | No MAP sensor DTCs P0106, P0107 or P0108. |
| • | No TP sensor DTCs P0121, P0122, P0123, P1120, P1220 or P1221. |
| • | No TFP manual valve position switch DTC P1810. |
| • | No AT ISS DTCs P0716 or P0717. |
| • | The engine torque must be between 108 N·m (80 lb ft) and: |
| - | 4.3L, 5.7L: 542 N·m (400 lb ft) |
| - | 8.1L: 881 N·m (650 lb ft) |
| • | The AT ISS is greater than 1,400 RPM. |
| • | The gear range is not PARK or NEUTRAL. |
| • | The system voltage is 8-18 volts. |
| • | Throttle angle is greater than 10 percent. |
| • | The engine is running for greater than 7 seconds. |
The AT OSS is less than 50 RPM for at least 4 seconds.
| • | For California emission equipped vehicles, the PCM illuminates the malfunction indicator lamp (MIL) during the second consecutive trip in which the Conditions for Setting the DTC are met. For Federal emission equipped vehicles, the MIL is not illuminated. |
| • | The PCM commands maximum line pressure. |
| • | The PCM freezes the shift adapts. |
| • | The PCM defaults a calculated output speed value by using the AT ISS values. |
| • | The PCM records the operating conditions when the Conditions for Setting the DTC are met. The PCM stores this information as Freeze Frame, California only, and Failure Records, California and Federal. |
| • | The PCM stores the DTC P0502 in PCM history during the second consecutive trip, California, or the first trip, Federal, in which the Conditions for Setting the DTC are met. |
| • | For California emissions, the PCM turns OFF the MIL during the third consecutive trip in which the diagnostic test runs and passes. |
| • | A scan tool can clear the MIL/DTC. |
| • | For California emissions, the PCM clears the DTC from PCM history if the vehicle completes 40 warm-up cycles without an emission related diagnostic fault occurring. |
| • | For Federal emissions, the PCM clears the DTC from PCM history if the vehicle completes 40 warm-up cycles without a non-emission related diagnostic fault occurring. |
| • | The PCM cancels the DTC default actions when the fault no longer exists and the ignition switch is OFF long enough in order to power down the PCM. |
DTC P0502 defaults to an elevated line pressure condition which may result in partial TCC apply. This may produce an idle surge that could stall the engine.
The numbers below refer to the step numbers on the diagnostic table.
Step | Action | Value(s) | Yes | No |
|---|---|---|---|---|
1 | Did you perform the Diagnostic System Check - Engine Controls? | -- | Go to Step 2 | Go to Diagnostic System Check - Engine Controls in Engine Controls - 4.8L, 5.3L, and 6.0L |
2 |
Important: Before clearing the DTC, use the scan tool in order to record the Freeze Frame and Failure Records for reference. The Clear Info function will erase the data. With the drive wheels rotating, does the scan tool Transmission OSS increase with the drive wheel speed? | -- | Go to Intermittent Conditions in Engine Controls - 4.8L, 5.3L, and 6.0L | Go to Step 3 |
3 |
Does the resistance measure within the specified range? | 1,377-3,355 ohms | Go to Step 4 | Go to Step 7 |
Does the voltage measure greater than the specified value? | 0.5 V | Go to Step 5 | Go to Step 12 | |
5 | Measure the resistance from terminal C2-21 to ground. Does the resistance measure greater than the specified value? | 50 K ohms | Go to Step 6 | Go to Step 9 |
6 |
Refer to Circuit Testing and Wiring Repairsin Wiring Systems. Did you find and correct the condition? | -- | Go to Step 15 | Go to Step 14 |
Does the resistance measure within the specified range? | 1,377-3,355 ohms | Go to Step 8 | Go to Step 13 | |
8 | Was the resistance measured in Step 3 greater than the specified value? | 3,355 ohms | Go to Step 10 | Go to Step 11 |
9 | Test the high signal circuit (CKT 821) of the AT OSS assembly for a short to ground. Refer to Testing for Short to Ground and Wiring Repairsin Wiring Systems. Did you find and correct the condition? | -- | Go to Step 15 | -- |
10 |
Refer to Testing for Continuity and Wiring Repairsin Wiring Systems. Did you find and correct the condition? | -- | Go to Step 15 | -- |
11 | Test the high signal circuit (CKT 821) and the low circuit (CKT 822) of the AT OSS assembly for a short together. Refer to Circuit Testing and Wiring Repairsin Wiring Systems. Did you find and correct the condition? | -- | Go to Step 15 | -- |
12 |
Did you find and correct the condition? | -- | Go to Step 15 | Go to Step 13 |
13 |
Important: For vehicles equipped with an active transfer case, identify the AT OSS assembly before replacing. There are two transfer case speed sensors located near the AT OSS assembly. Refer to the wire colors on the schematic to identify the AT OSS assembly. Replace the AT OSS assembly. Refer to Vehicle Speed Sensor Replacement - Input or Vehicle Speed Sensor Replacement - Output. Did you complete the replacement? | -- | Go to Step 15 | -- |
14 | Replace the PCM. Refer to Powertrain Control Module Replacement in Engine Controls - 4.8L, 5.3L, and 6.0L. Did you complete the replacement? | -- | Go to Step 15 | -- |
15 | Perform the following procedure in order to verify the repair:
Has the test run and passed? | -- | Go to Step 16 | Go to Step 2 |
16 | With the scan tool, observe the stored information, capture info. Does the scan tool display any DTCs that you have not diagnosed? | -- | Go to Diagnostic Trouble Code (DTC) List in Engine Controls - 4.8L, 5.3L, and 6.0L | System OK |