GM Service Manual Online
For 1990-2009 cars only

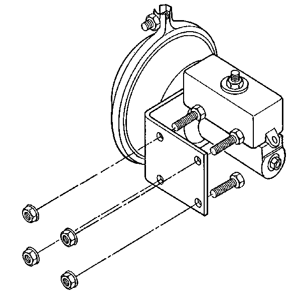
Removal Procedure


    Object Number: 32133  Size: SH
  1. Block the vehicle's wheels.
  2. Set the parking brake.
  3. Drain the air reservoirs. Refer to Draining the Air Reservoirs in this section.
  4. Disconnect the air line from the intensifier.
  5. Disconnect the hydraulic pipe and the hose from the intensifier.
  6. Remove the nuts and the bolts.
  7. Remove the intensifier assembly from the vehicle.

Installation Procedure


    Object Number: 32133  Size: SH
  1. Install the intensifier assembly to the vehicle.
  2. Install the bolts and the nuts.
  3. Tighten
    Tighten the bolts to 61 N·m (45 lb ft).

  4. Connect the hydraulic hose and the pipe to the intensifier.
  5. Connect the air line to the intensifier.
  6. Start the engine. Build up system air pressure.
  7. Check for proper brake operation.
  8. Remove the wheel blocks.