GM Service Manual Online
For 1990-2009 cars only

Air Dryer Midland Grau

Removal Procedure


    Object Number: 32233  Size: SH
  1. Block the vehicle's wheels.
  2. Set the parking brake.
  3. Drain the air reservoirs. Refer to Draining Reservoirs .
  4. Disconnect the air lines.
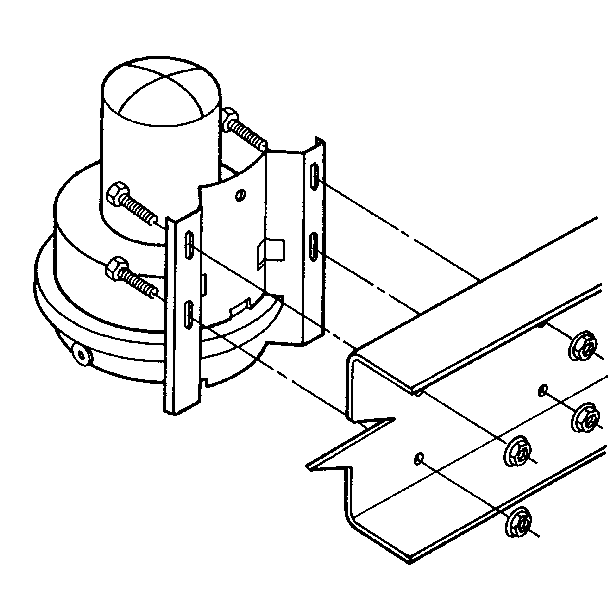
  5. Remove the bolts and the nuts.
  6. Remove the air dryer.

Installation Procedure


    Object Number: 32233  Size: SH
  1. Install the air dryer.
  2. Install the bolts and the nuts.
  3. Tighten
    Tighten the bolts to 122 N·m (90 lb ft).

    Notice: Use the correct fastener in the correct location. Replacement fasteners must be the correct part number for that application. Fasteners requiring replacement or fasteners requiring the use of thread locking compound or sealant are identified in the service procedure. Do not use paints, lubricants, or corrosion inhibitors on fasteners or fastener joint surfaces unless specified. These coatings affect fastener torque and joint clamping force and may damage the fastener. Use the correct tightening sequence and specifications when installing fasteners in order to avoid damage to parts and systems.

  4. Connect the air lines.
  5. Start the engine. Charge the air system to the governor cut-out point.
  6. Check for air leaks with a soap solution. No leakage is allowed.
  7. Check for proper brake operation.
  8. Remove the wheel blocks.