GM Service Manual Online
For 1990-2009 cars only

Removal Procedure


    Object Number: 29089  Size: SH
  1. Move the column shift lever to P (Park).
  2. Disconnect the connector from the end of the switch.
  3. Remove the jam nut from the threaded portion of the switch.
  4. Remove the switch from the bracket assembly.

Installation Procedure


    Object Number: 29089  Size: SH
  1. Install the switch into the bracket assembly.
  2. Install the jam nut. Do not secure the nut.
  3. Connect the connector.

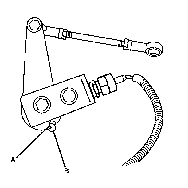
Adjustment Procedure


    Object Number: 29090  Size: SH
  1. Insert a 3/8 inch drill bit through holes A and B.
  2. If the drill bit does not slide through the aligning holes, refer to Hydraulic Auto Apply Control Rod Adjustment before continuing with this procedure.

  3. Adjust the switch so that the plunger makes contact with the clevis pin and the clevis pin makes contact with the cam assembly.
  4. Do not compress the plunger of the switch more than 0.5 mm (0.020 in) in this position.

  5. Secure the jam nut and the lock washer securely to the bracket assembly.
  6. Remove the drill bit.
  7. Lubricate the clevis pin and the plunger face contact points with multi-purpose lubricant.
  8. With the ignition ON, move the shift lever from P (Park) and check the parking brake operation.
  9. Repeat the procedure if necessary.