GM Service Manual Online
For 1990-2009 cars only

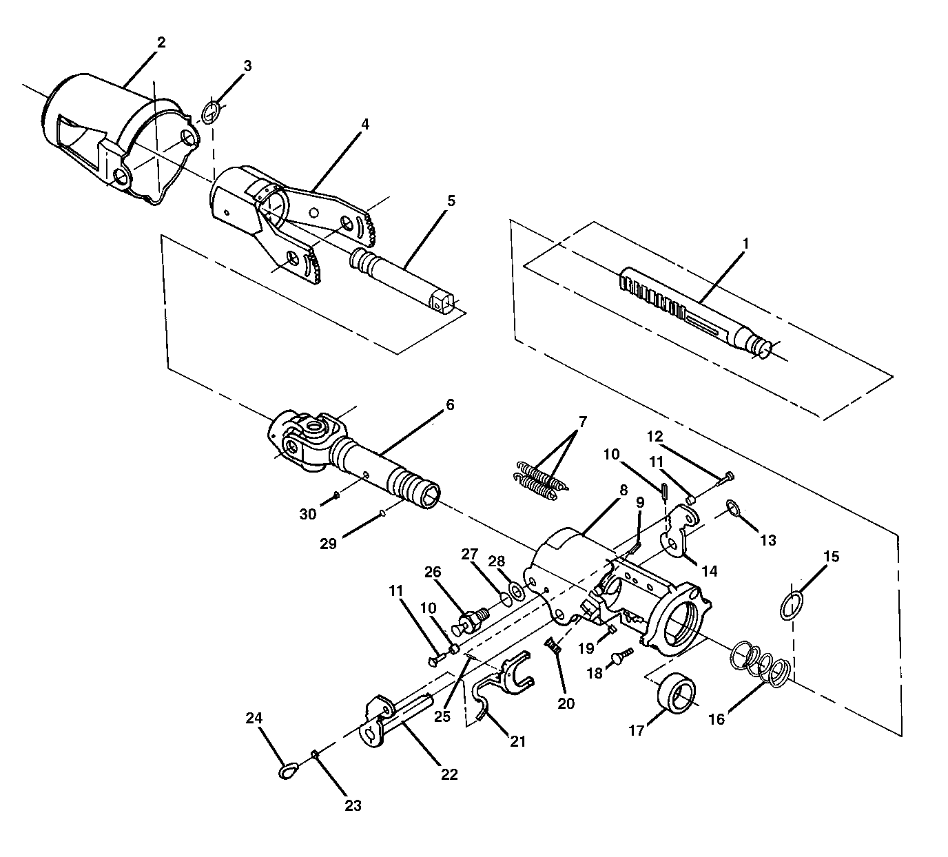
Steering Column Components P92 Standard Steering Col.


Object Number: 30655  Size: LF
(1)Upper Shaft
(2)Shroud
(3)Snap Ring
(4)Outer Tube Assembly
(5)Lower Shaft
(6)Yoke Assembly
(7)Extension Springs
(8)Housing
(9)Spring Pin
(10)Spring Pin
(11)Column Stop Spacer
(12)Self-Tapping Screw
(13)Retaining Ring
(14)Pawl
(15)Retaining Ring
(16)Compression Spring
(17)Bearing Collar
(18)Cover Pin
(19)Slotted Spring Pin
(20)Spring
(21)Locking Actuator
(22)Rod and Plate Assembly
(23)Locknut
(24)Locking Rod Knob
(25)Extension Spring
(26)Tilt Bolt
(27)O-Ring
(28)Flat Washer
(29)Ball
(30)Positioning Ball

Steering Column Components P72 St. Col. Disass. Part 2


Object Number: 27804  Size: LF
(1)Support Screw
(2)Steering Column Housing Support Assembly
(3)Steering Column Housing Support
(4)Screw
(5)Shift Lever Gate
(6)Shift Tube Retaining Ring
(7)Thrust Washer
(8)Lock Plate
(9)Wave Washer
(10)Shift Lever Spring
(11)Transmission Control Indicator Pointer
(12)Pointer Retaining Clip
(13)Pointer Retaining Bracket
(14)Gearshift Lever Bowl Assembly
(15)Gearshift Bowl Shroud
(16)Shift Tube Assembly
(17)Screw
(18)Deflector Plate
(19)Steering Column Jacket Assembly
(20)Cam Retainer
(21)Cable Shift Cam Assembly
(22)Ignition Switch Assembly
(23)Connector Body Bracket
(24)Screw
(25)Dimmer Rod Switch
(26)Nut
(27)Screw
(28)Dimmer Switch Assembly
(29)Dimmer Switch Mounting Stud
(30)Stud and Bracket Assembly
(31)Interlock Solenoid Assembly
(32)Screw
(33)Cable and Actuator Assembly
(34)Solenoid Bracket
(35)Steering Shaft Collapse Clip
(36)Inner Race Seat
(37)Adapter and Bearing Assembly
(38)Screw
(39)Lower Bearing Seat
(40)Lower Bearing Spring
(41)Lower Spring Retainer
(42)Bearing and Seal Retainer

Steering Column Components P72 St. Col. Disass. Part 1


Object Number: 27802  Size: SH
(1)Locknut
(2)Shaft Lock Cover
(3)Retaining Ring
(4)Shaft Lock
(5)Turn Signal Cancel Cam
(6)Upper Bearing Spring
(7)Screw
(8)Screw
(9)Signal Switch Arm
(10)Turn Signal Switch
(11)Hazard Warning Switch Knob
(12)Hazard Warning Spring
(13)Hazard Warning Button
(14)Hazard Warning Switch
(15)Upper Bearing Inner Race Seat
(16)Inner Race
(17)Screw
(18)Buzzer Switch Assembly
(19)Lock Retaining Screw
(20)Bracket and Cover Assembly
(21)Screw
(22)Transmission Indicator Dial and Housing
(23)Screw
(24)Socket and Bracket Assembly
(25)Lock Cylinder Set
(26)Switch Actuator Pivot Pin
(27)Pivot (and Pulse) Switch Assembly
(28)Cover End Cap
(29)Wiring Protector
(30)Dimmer Switch Rod
(31)Steering Column Housing Assembly
(32)Bearing Assembly
(33)Steering Wheel Lock Shoe
(34)Steering Wheel Lock Shoe
(35)Wire Protector Shield
(36)Dowel Pin
(37)Pivot Pin
(38)Shoe Spring
(39)Release Lever Spring
(40)Release Lever Pin
(41)Shoe Release Lever
(42)Switch Actuator Rack
(43)Rack Preload Spring
(44)Steering Column Housing
(45)Guide Spring
(46)Wheel Tilt Spring
(47)Spring Retainer
(48)Steering Shaft Assembly
(49)Race and Upper Shaft Assembly
(50)Centering Sphere
(51)Joint Preload Spring
(52)Lower Steering Shaft Assembly
(0)Service Kits: Spring Service Kit includes #s 15, 16, 37, 45, 46 and 47. The Sphere Service Kit includes #s 50 and 51.