GM Service Manual Online
For 1990-2009 cars only

SMU-SEC. 5F1- HYDRAULIC AUTO APPLY PARK BRAKE - NEW INFO

SUBJECT: SERVICE MANUAL UPDATE- SECTION 5F1- HYDRAULIC AUTO APPLY PARK BRAKE- NEW INFORMATION FOR THE 1990 P32/42 MODELS

MODELS: 1990 CHEVROLET AND GMC P32/42 MODELS

THIS SERVICE MANUAL UPDATE IS PROVIDING NEW INFORMATION THAT WAS NOT COVERED IN THE 1990 P32/42 SERVICE MANUAL.

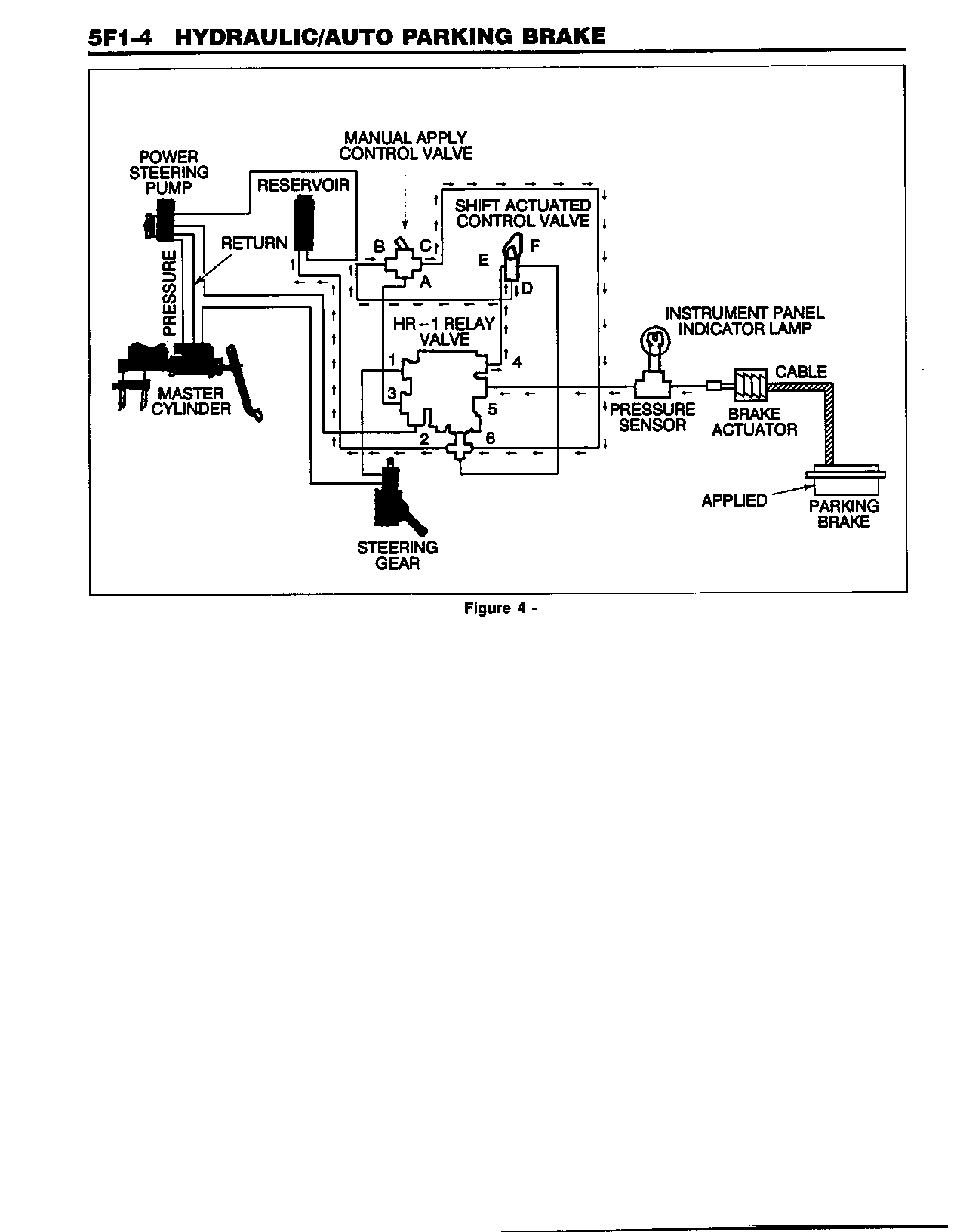
FIGURES: 00 ATTACHMENTS: 04


Object Number: 169821  Size: FS


Object Number: 169822  Size: FS


Object Number: 169823  Size: FS


Object Number: 169824  Size: FS

GENERAL MOTORS BULLETINS ARE INTENDED FOR USE BY PROFESSIONAL TECHNICIANS, NOT A "DO-IT-YOURSELFER". THEY ARE WRITTEN TO INFORM THOSE TECHNICIANS OF CONDITIONS THAT MAY OCCUR ON SOME VEHICLES, OR TO PROVIDE INFORMATION THAT COULD ASSIST IN THE PROPER SERVICE OF A VEHICLE. PROPERLY TRAINED TECHNICIANS HAVE THE EQUIPMENT, TOOLS, SAFETY INSTRUCTIONS AND KNOW-HOW TO DO A JOB PROPERLY AND SAFELY. IF A CONDITION IS DESCRIBED, DO NOT ASSUME THAT THE BULLETIN APPLIES TO YOUR VEHICLE, OR THAT YOUR VEHICLE WILL HAVE THAT CONDITION. SEE A GENERAL MOTORS DEALER SERVICING YOUR BRAND OF GENERAL MOTORS VEHICLE FOR INFORMATION ON WHETHER YOUR VEHICLE MAY BENEFIT FROM THE INFORMATION.

COPYRIGHT 1997 GENERAL MOTORS CORPORATION ALL RIGHTS RESERVED.