GM Service Manual Online
For 1990-2009 cars only

SMU - SECTION 3, 3A, 13 - DRIVEABILITY & EMISSIONS

SUBJECT: SERVICE MANUAL UPDATE-SECTION 3, 3A, 13-DRIVEABILITY AND EMISSIONS-CONTROL MODULE SYSTEMS (93 PCM6) AND SPECIAL TOOLS-REVISED DIAGNOSTIC INFORMATION

MODELS: 1996 CHEVROLET AND GMC TRUCK P3 MODEL WITH 7.4L ENGINE (VIN N - RPO L19)

THIS BULLETIN IS BEING ISSUED TO INFORM TECHNICIANS THAT THE DRIVEABILITY AND EMISSIONS DIAGNOSTICS FOR THE 7.4L L19 (VIN N) TBI ENGINE ARE NOT INCLUDED IN THE 1996 P32/P42 CHASSIS MOTOR HOME AND COMMERCIAL SERVICE MANUAL, BOOK 2 OF 2 GMT/96-P3-2. WHEN DIAGNOSING THE 1996 P32 7.4L L19 (VIN N), TECHNICIANS ARE INSTRUCTED TO REFER TO THE 1995 PG AND P3 DRIVEABILITY, EMISSIONS AND ELECTRICAL DIAGNOSIS MANUAL GMT/95-PG-2 USING THE ATTACHED INFORMATION.

WHEN DIAGNOSING THE 1996 7.4L TBI (VIN N):

* REPLACE THE INFORMATION ON PAGE 3-4 UNDER THE HEADING OF "DATA LINK CONNECTOR (DLC)" WITH THE ATTACHED INFORMATION UNDER THE HEADING OF "DATA LINK CONNECTOR (DLC)".

* ON PAGE 3-5, REPLACE THE EXISTING FIGURE 3-3-DATA LINK CONNECTOR SHOWING THE 12 PIN DLC WITH ATTACHED FIGURE 3-3 DATA LINK CONNECTOR SHOWING THE 16 PIN CONNECTOR AND REPLACE THE EXISTING INFORMATION UNDER "READING DIAGNOSTIC TROUBLE CODES" WITH THE ATTACHED INFORMATION UNDER THE HEADING "READING DIAGNOSTIC TROUBLE CODES".

* REPLACE THE INFORMATION ON PAGE 3-7 UNDER THE HEADING OF "DATA LINK CONNECTOR SCAN TOOLS" WITH THE ATTACHED INFORMATION UNDER THE HEADING OF "DATA LINK CONNECTOR SCAN TOOLS".

* REPLACE THE WIRING DIAGRAMS ON THE DIAGNOSTIC TREE CHART FACING PAGES 3A-6, 3A-14 AND 3A-16 WITH THE ATTACHED FACING PAGE WIRING DIAGRAM.

* INSERT THE ATTACHED PAGES 3A-39A AND 3-A-39B "DTC 16 VSS BUFFER FAULT" TREE CHART AND FACING PAGE AFTER PAGE 3A-39.

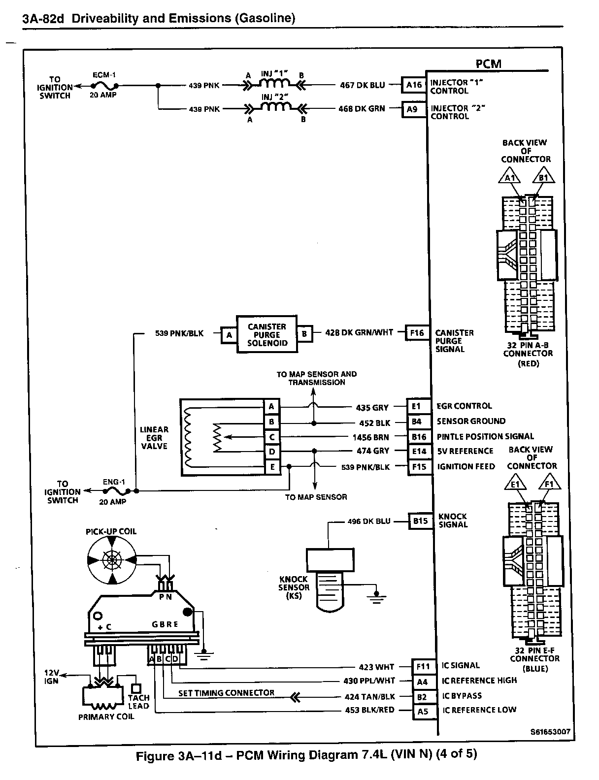
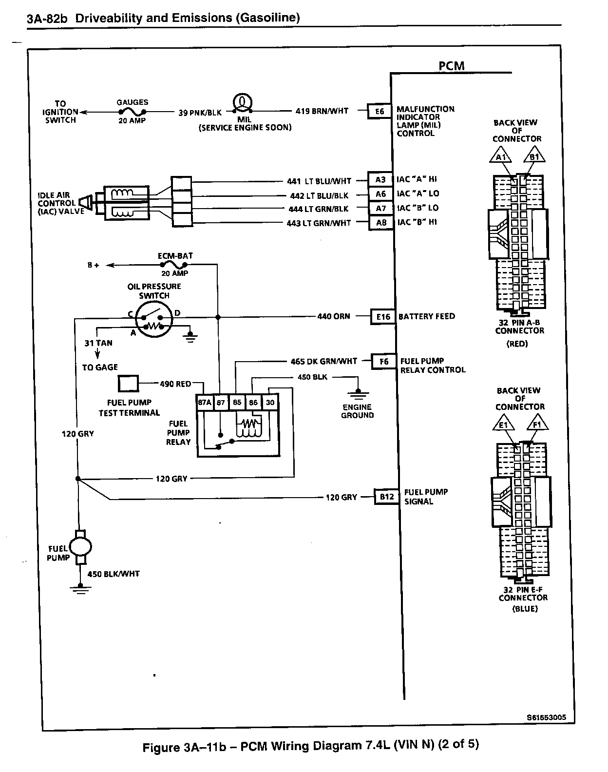
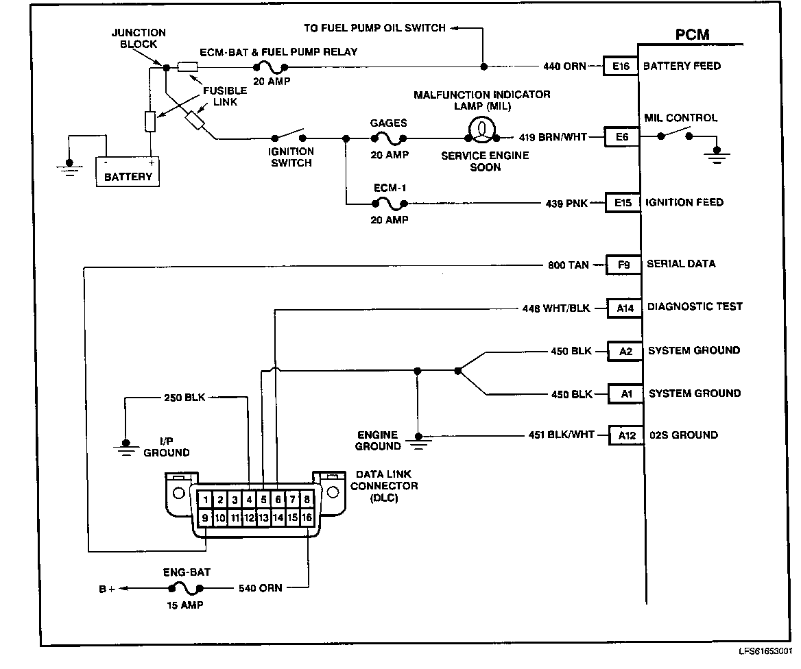
* INSERT THE ATTACHED: - PAGE 3A-82A -FIGURE 3A-7A PCM WIRING DIAGRAM 7.4L (VIN N) (1 OF 5) - PAGE 3A-82B -FIGURE 3A-7B PCM WIRING DIAGRAM 7.4L (VIN N) (2 OF 5) - PAGE 3A-82C -FIGURE 3A-7C PCM WIRING DIAGRAM 7.4L (VIN N) (3 OF 5) - PAGE 3A-82D -FIGURE 3A-7D PCM WIRING DIAGRAM 7.4L (VIN N) (4 OF 5) - PAGE 3A-82E -FIGURE 3A-7E PCM WIRING DIAGRAM 7.4L (VIN N) (5 OF 5)

IN SECTION 13 SPECIAL TOOLS:

* PAGE 13-2 -INSERT THE ATTACHED SPECIAL TOOL INFORMATION.

FIGURES: 00 ATTACHMENTS: 10


Object Number: 108175  Size: FS


Object Number: 108204  Size: FS


Object Number: 108183  Size: FS


Object Number: 108182  Size: FS


Object Number: 108174  Size: FS


Object Number: 108173  Size: FS


Object Number: 108181  Size: FS


Object Number: 108191  Size: FS


Object Number: 108190  Size: FS


Object Number: 108180  Size: FS

GENERAL MOTORS BULLETINS ARE INTENDED FOR USE BY PROFESSIONAL TECHNICIANS, NOT A "DO-IT-YOURSELFER". THEY ARE WRITTEN TO INFORM THOSE TECHNICIANS OF CONDITIONS THAT MAY OCCUR ON SOME VEHICLES, OR TO PROVIDE INFORMATION THAT COULD ASSIST IN THE PROPER SERVICE OF A VEHICLE. PROPERLY TRAINED TECHNICIANS HAVE THE EQUIPMENT, TOOLS, SAFETY INSTRUCTIONS AND KNOW-HOW TO DO A JOB PROPERLY AND SAFELY. IF A CONDITION IS DESCRIBED, DO NOT ASSUME THAT THE BULLETIN APPLIES TO YOUR VEHICLE, OR THAT YOUR VEHICLE WILL HAVE THAT CONDITION. SEE A GENERAL MOTORS DEALER SERVICING YOUR BRAND OF GENERAL MOTORS VEHICLE FOR INFORMATION ON WHETHER YOUR VEHICLE MAY BENEFIT FROM THE INFORMATION.

COPYRIGHT 1996 GENERAL MOTORS CORPORATION. ALL RIGHTS RESERVED.