GM Service Manual Online
For 1990-2009 cars only

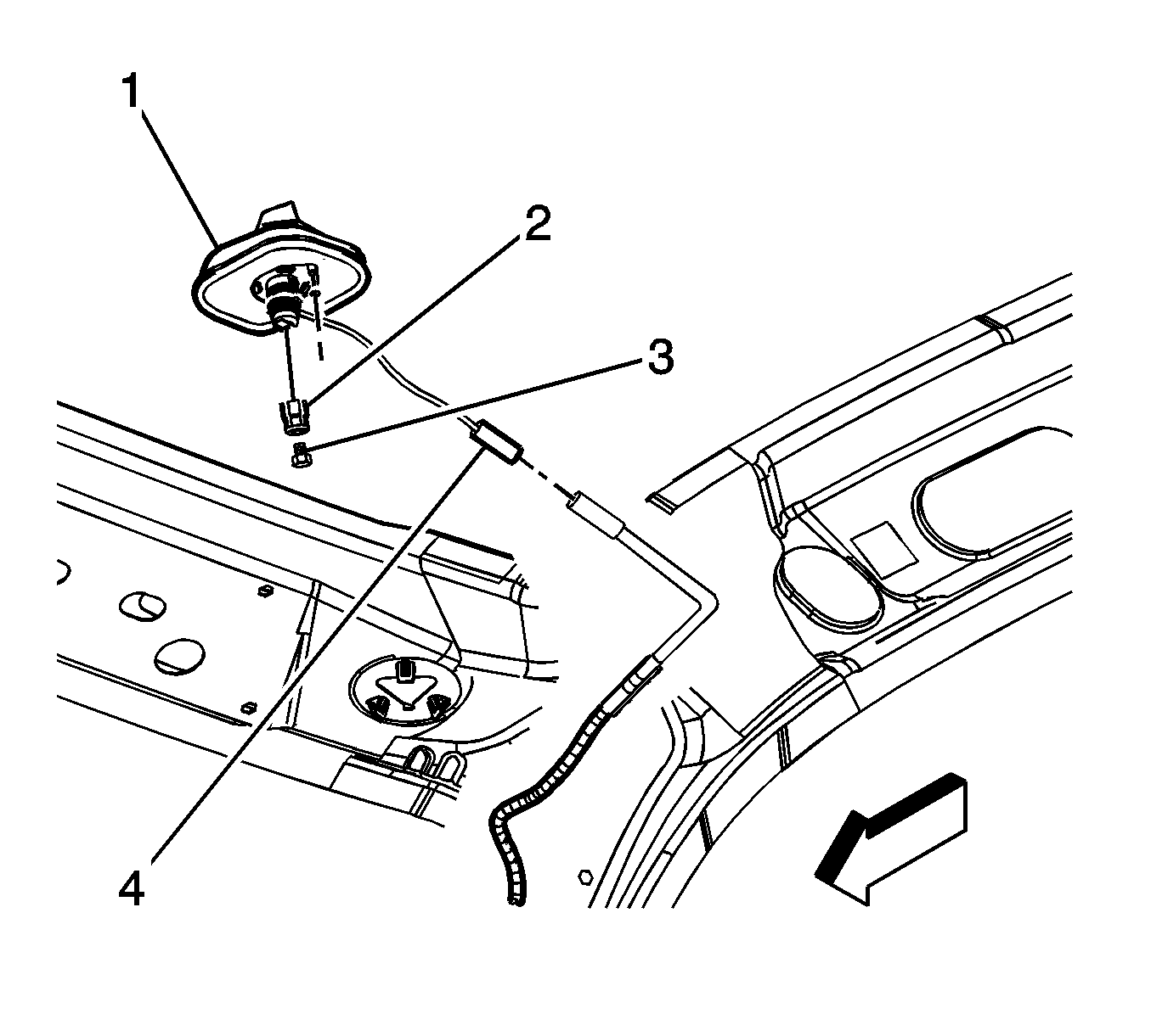
Removal Procedure

    Notice: DO NOT apply paint or clear coat to the antenna. This will damage the function of the antenna, causing poor reception or loss of signal reception.

    Notice: Use care when removing and installing the headliner. If reusing the headliner lay the headliner down flat on a clean surface. Excessive bending will damage the headliner.

  1. Lower the front part of the headliner. Refer to Headlining Trim Panel Replacement in Interior Trim.

  2. Object Number: 1465220  Size: SH
  3. Disconnect the cable (4) from the antenna base (1).
  4. Remove the bolt (3) and expansion sleeve (2).
  5. Remove the antenna base (1) from the roof.

Installation Procedure


    Object Number: 1465220  Size: SH
  1. Place the antenna base to the roof opening.
  2. Notice: Refer to Fastener Notice in the Preface section.

  3. Install the expansion sleeve (2) and the bolt (3).
  4. Tighten
    Tighten the nut to 6 N·m (53 lb in).

  5. Connect the antenna cable (4).
  6. Install the headliner. Refer to Headlining Trim Panel Replacement in Interior Trim.