GM Service Manual Online
For 1990-2009 cars only

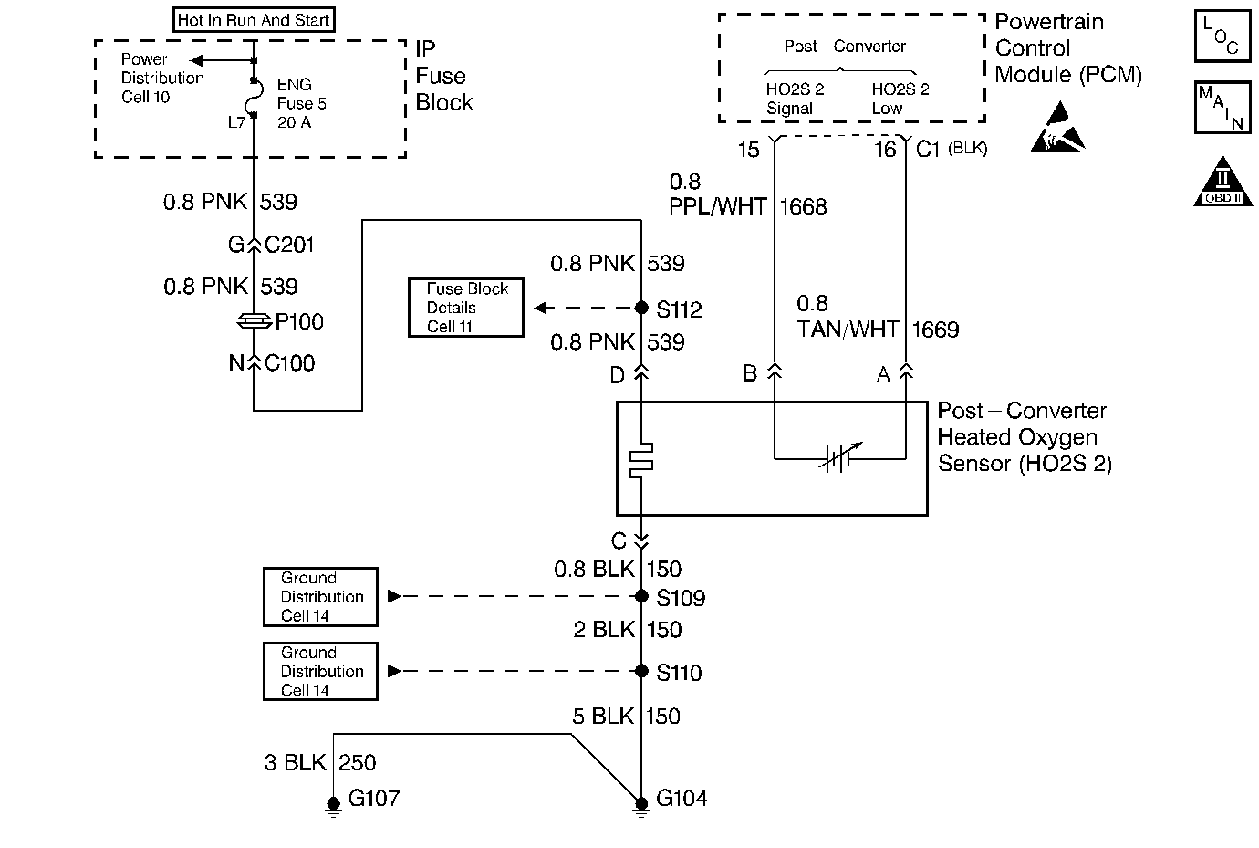
Object Number: 29972  Size: MF
Handling ESD Sensitive Parts Notice
Engine Controls Components
Pre and Post Oxygen Sensors
OBD II Symbol Description Notice

Circuit Description

The HO2S 2, located in the exhaust stream past the catalytic converter, produces an output signal relative to the oxygen storage capacity of the catalytic converter. The PCM can then determine the ability of the catalytic converter to convert the exhaust emissions effectively. The HO2S 2 signal will be far less active than the signal produced by the front Oxygen Sensor 1 (O2S 1).

Conditions for Setting the DTC

    • The rear HO2S 2 voltage changes less than 148 mV in 100 to 190 seconds
    • The Engine Coolant Temperature (ECT) is less than 40° C (104° F).
    • The Intake Air Temperature (IAT) is less than 40° C (104° F).
    • The temperature difference between the ECT sensor and the IAT sensor is less than 7° C (45° F).
    • The Throttle Position (TP) angle is less than 18 % for greater than 5 seconds.

Action Taken When the DTC Sets

    • The Malfunction Indicator Lamp (MIL) illuminates after 2 consecutive ignition cycles in which the diagnostic runs with the fault active.
    • The PCM records the operating conditions at the time the diagnostic fails. The Freeze Frame and Failure Records buffers stores this information.
    • A history DTC is stored.

Conditions for Clearing the MIL/DTC

    • The malfunction indicator lamp (MIL) will turn OFF after 3 consecutive ignition cycles in which the diagnostic runs without a fault.
    • A history DTC will clear after 40 consecutive warm up cycles without a fault.
    • Use a scan tool to clear the DTCs.

Diagnostic Aids

Whenever the oxygen sensor pigtail wiring, connector or terminal are damaged, replace the entire oxygen sensor assembly. Do not attempt to repair the wiring, connector or terminals. In order for the sensor to function properly, the rear HO2S must have a clean air reference. This clean air reference is obtained by way of the oxygen sensor wires. Any attempt to repair the wires, connectors or terminals could result in the obstruction of the air reference and degrade the performance of the oxygen sensor.

A rubbed through wire insulation or a wire contacting the exhaust may cause an intermittent.

Check for a poor connection or damaged harness. Inspect the harness connectors for improper mating, broken locks, improperly formed or damaged terminals, or a damaged harness.

Test Description

The numbers below refer to the step numbers on the diagnostic table.

  1. The Powertrain OBD System Check prompts the technician to complete some basic checks and store the Freeze Frame Data and the Failure records on the scan tool if applicable. This creates an electronic copy of the data taken when the fault occurred. This information on the scan tool can be referred to later.

  2. With the ignition ON leaving the engine OFF, the rear HO2S 2 voltage displayed on the scan tool should change within several minutes between 0 and 1 volt. This indicates that the heater is working properly.

  3. Probing the terminal of the rear HO2S 2 connector verifies if the voltage is available to the rear HO2S 2 heater.

  4. Whenever the voltage is available at the connector. The connector becomes a good voltage source in order to check for a ground at terminal C.

  5. This step determines if the voltage is not available at the rear HO2S 2 due to an open O2S fuse or an open ignition feed. Whenever the fuse is open, determine the cause of the short to ground in the ignition feed circuit before replacing the fuse.

Step

Action

Value(s)

Yes

No

1

Was the Powertrain On-Board Diagnostic (OBD) System Check performed?

--

Go to Step 2

Go to Powertrain On Board Diagnostic (OBD) System Check

2

  1. Turn the ignition ON leaving the engine OFF.
  2. Install a scan tool.

Does the HO2S 2 voltage gradually change towards the specified voltage?

0.0-1.0 V

Go to Step 13

Go to Step 3

3

  1. Disconnect the HO2S 2 electrical connector.
  2. With the test lamp connected to a ground, probe the ignition feed circuit (PCM side) of the connector.

Does the test lamp illuminate?

--

Go to Step 4

Go to Step 5

4

Connect a test lamp between the ignition feed and ground circuits (PCM side) of the connector.

Does the test lamp illuminate?

--

Go to Step 6

Go to Step 7

5

Inspect the fuse in the fuse block.

Is the fuse open?

--

Go to Step 8

Go to Step 9

6

  1. Check the connections at the HO2S 2 connector.
  2. Repair the connections at the HO2S 2 connector. Refer to Wiring Repairs in Engine Electrical.

Was a repair necessary?

--

Go to Step 13

Go to Step 10

7

  1. Check the connections at the HO2S 2 connector.
  2. Repair the connections at the HO2S 2 connector. Refer to Wiring Repairs in Engine Electrical.

Was a repair necessary?

--

Go to Step 13

Go to Step 11

8

  1. Check for a short to ground in the HO2S 2 ignition feed circuit.
  2. Repair the circuit if necessary. Refer to Wiring Repairs in Engine Electrical.
  3. Replace the open fuse.

Is the action complete?

--

Go to Step 13

--

9

  1. Check the connections at the HO2S 2 connector.
  2. Repair the connections at the HO2S 2 connector. Refer to Wiring Repairs in Engine Electrical.

Was a repair necessary?

--

Go to Step 13

Go to Step 12

10

Replace the HO2S 2. Refer to Heated Oxygen Sensor Replacement .

Is the action complete?

--

Go to Step 13

--

11

Repair the open in the ground circuit. Refer to Wiring Repairs in Engine Electrical.

Is the action complete?

--

Go to Step 13

--

12

Repair the open in the ignition feed circuit. Refer to Wiring Repairs in Engine Electrical.

Is the action complete?

--

Go to Step 13

--

13

  1. Using the scan tool, clear the DTCs.
  2. Start the Engine.
  3. Allow the engine to idle until the engine reaches the specified temperature.
  4. Operate the vehicle within the conditions for setting this DTC as specified in the supporting text.

Does the scan tool indicate that this diagnostic ran and passed?

90°-95° C

Go to Step 14

Go to Step 2

14

Check if any additional DTCs are set.

Are any DTCs displayed that have not been diagnosed?

--

Go to the Applicable DTC Table

System OK