GM Service Manual Online
For 1990-2009 cars only

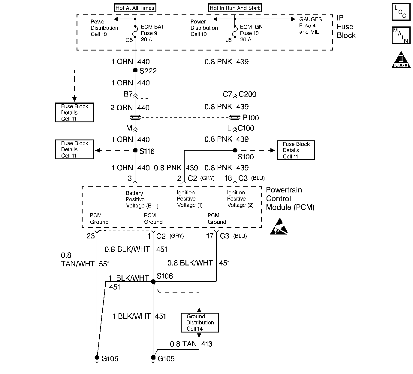
Object Number: 30048  Size: LF
Handling ESD Sensitive Parts Notice
Engine Controls Components
Ignition, Ground, and MIL Voltage
OBD II Symbol Description Notice

Circuit Description

The Powertrain Control Module (PCM) monitors the system voltage on the ignition feed terminals to the PCM. A system voltage DTC sets whenever the voltage is above a specified calibrated value.

Conditions For Setting The DTC

The system voltage is more than 17 V.

Action Taken When the DTC Sets

    • The PCM records the operating conditions at the time the diagnostic fails. The Failure Records buffers stores this information.
    • A history DTC is stored.

Conditions for Clearing the DTC

    • A History DTC clears after 40 consecutive warm up cycles without a fault.
    • Use a scan tool to clear the DTCs.

Diagnostic Aids

Whenever a DTC sets when an accessory is operated, check for a poor connection or an excessive current draw.

Test Description

The numbers below refer to the step numbers on the diagnostic table.

  1. The Powertrain OBD System Check prompts the technician to complete some basic checks and store the Freeze Frame Data and the Failure Records on the scan tool if applicable. This creates an electronic copy of the data taken when the fault occurs. Refer to this information on the scan tool later.

  2. Before replacing the PCM, check the terminals for improper mating, broken locks, or physical damage to the wiring harness. Reprogram the replacement PCM. Refer to the latest Techline information for programming procedures.

Step

Action

Value(s)

Yes

No

1

Was the Powertrain On-Board Diagnostic (OBD) System Check performed?

--

Go to Step 2

Go to Powertrain On Board Diagnostic (OBD) System Check

2

  1. Turn OFF all the accessories.
  2. Install a scan tool.
  3. Start the engine.
  4. Raise the engine RPM to the specified value.

Is the ignition voltage greater than the specified value?

1400 RPM

17 V

Go to Step 3

Go to Step 5

3

Using a DVM, measure the battery voltage at the battery while running the engine above 2000 RPM.

Is the ignition voltage less than the specified value?

17 V

Go to Step 4

Go to Section 6D3

4

Replace the PCM. Refer to Powertrain Control Module Replacement/Programming .

Is the action complete?

--

Go to Step 5

--

5

  1. Using the scan tool, clear the DTCs.
  2. Start the Engine.
  3. Allow the engine to idle until the engine reaches the specified temperature.
  4. Operate the vehicle within the conditions for setting this DTC as specified in the supporting text.

Does the scan tool indicate that this diagnostic ran and passed?

90°-95° C

Go to Step 6

Go to Step 2

6

Check if any additional DTCs are set.

Are any DTCs displayed that have not been diagnosed?

--

Go to the Applicable DTC Table

System OK