GM Service Manual Online
For 1990-2009 cars only
Makes
🢒
GMC_Truck
🢒
1996
🢒
Jimmy - 2WD
🢒
Engine
🢒
Engine Controls - 2.2L
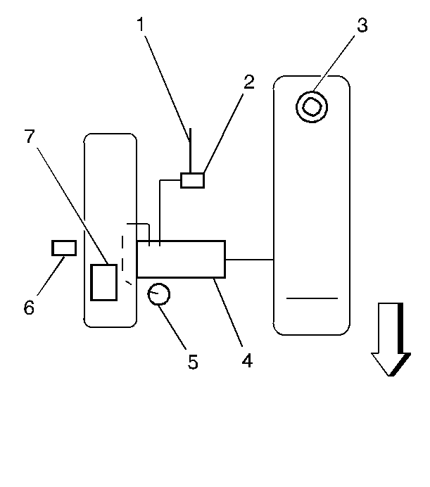
🢒 Emission Hose Routing Diagram
(1)
To Rear Mounted EVAP Canister
(2)
EVAP Canister Purge Solenoid Valve
(3)
EGR Valve
(4)
Throttle Body
(5)
Fuel Pressure Regulator Valve
(6)
Service Port
(7)
MAP Sensor