GM Service Manual Online
For 1990-2009 cars only
Makes
🢒
GMC_Truck
🢒
2000
🢒
Jimmy - 2WD
🢒
Steering
🢒
Steering Wheel and Column - Tilt
🢒 Column/Ignition Lock Schematics
Tilt Wheel/Column Components
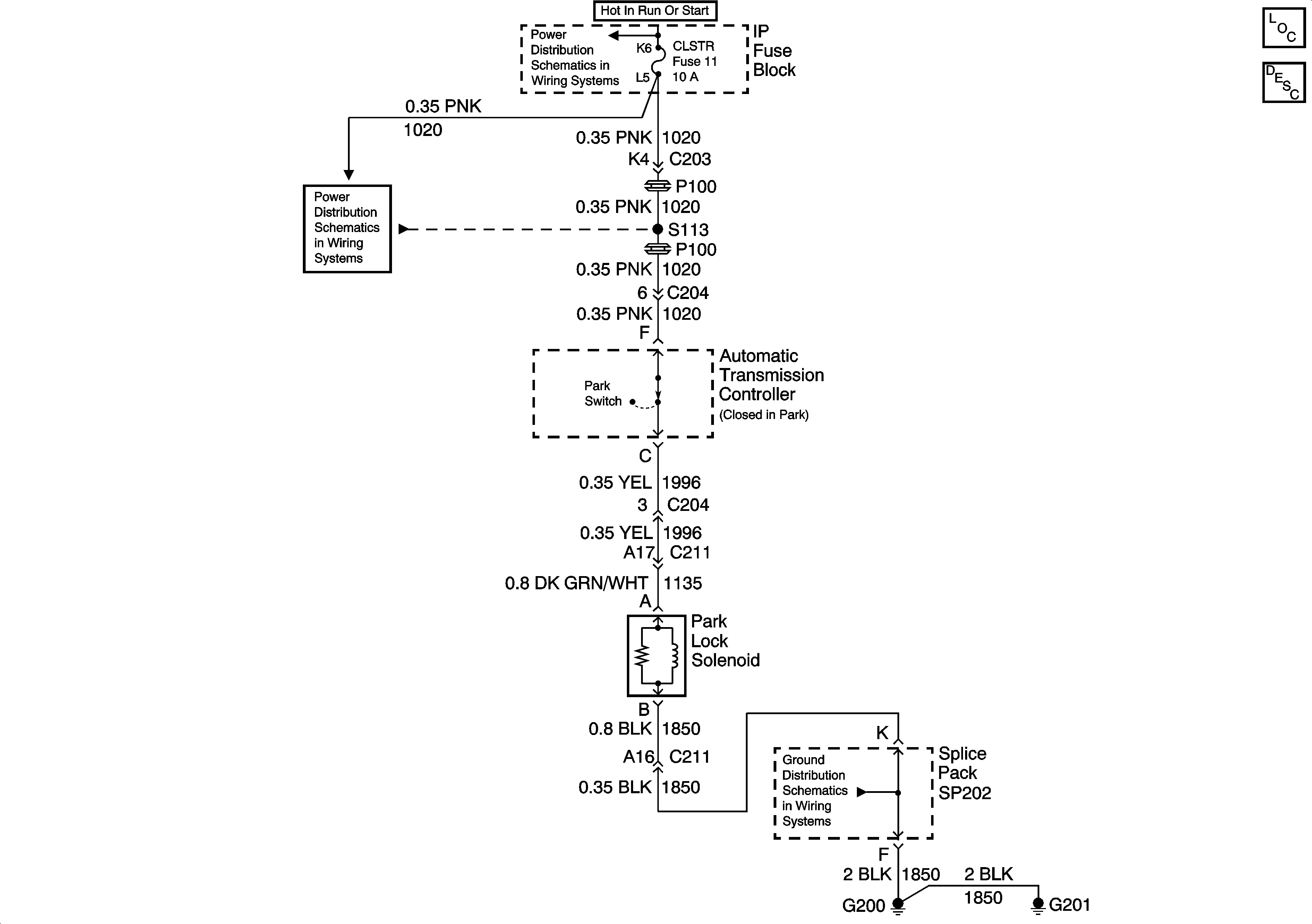
Automatic Transmission Shift Lock Control Description
CRANK and CLSTR Fuses
CRANK and CLSTR Fuses
G200, G201 and G207 (Pickup)