GM Service Manual Online
For 1990-2009 cars only

Corrosion of Side Assist Step Brackets and Assist Step/Trailer Connector Fasteners (Replace Fasteners, Install Bracket Shields0

Subject:Corrosion of Side Assist Step Brackets and Assist Step/Trailer Connector Fasteners (Replace Fasteners, Install Bracket Shields)

Models:2000-2001 GMC S/T Jimmy Models
With Diamond Edition Appearance Package (RPO JDE)



Condition

Some customers may comment on corrosion of the fasteners and brackets that attach the driver and passenger side assist step assemblies. This condition may also exist with the fasteners that attach the trailer tow provision connector.

Cause

The condition may be caused by inadequate corrosion protection.

Correction

New fasteners with improved corrosion protection are available to correct this condition.

Also, new black, plastic shields are available that can be installed over the front face of the existing side assist step brackets to aid in reducing corrosion.

Use the following procedure and the part numbers listed below. This fix applies to BOTH assist steps.


    Object Number: 787122  Size: SH
  1. Replace the trailer connector screws (total of 4) with new screws, P/N 11508765.
  2. Raise the vehicle.

  3. Object Number: 787123  Size: SH
  4. Replace the step-to-bracket and bracket-to-frame nuts with new nuts, P/N 11519466 (12 per side). It is recommended to replace one nut at a time in order to avoid mispositioning of the step attachment clamps.
  5. Tighten

        • Tighten the bracket-to-frame nuts to 35 N·m (26 lb ft).
        • Tighten the assist step-to-bracket nuts to 20 N·m (15 lb ft).
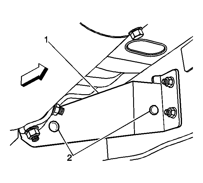
  6. Install side assist step bracket shields (one shield per bracket) over the existing step brackets (total of six brackets). The shields are intended to be used as RH or LH. The P/N is imprinted on the straight edge of the shield nearest the frame. Refer to the Parts Information for the appropriate GM shield P/N. Use the following procedure.
  7. • Place the shield (1) in position over the front face of the bracket.
    • Through the two existing tooling holes in the bracket, insert two black, plastic rivets. The rivet heads (2) are applied against the shield.
    • Attach two spacers over the rivets on the back side of each bracket (flat side of spacer faces rearward).
    • Lock the rivet ends into place over the spacer.
  8. Lower the vehicle.

Parts Information

Part Number

Description

Qty

11508765

Screw - Trailer Tow Conn

4

11519466

Nut - Asst Step Brkt

24

15059339

Shield, Asst Step - Frt Brkt

(RH, LH)

2

15059340

Shield, Asst Step - Ctr Brkt

(RH, LH)

2

15059341

Shield, Asst Step - Rear Brkt

(RH, LH)

2

15059342

Spacer - Asst Step Shld Rivet

12

15614746

Rivet - Asst Step Shld

12

Parts are currently available from GMSPO.

Warranty Information

For vehicles repaired under warranty, use:

Labor Operation

Description

Labor Time

R5163

Running Board (Both) - Replace

1.1 hrs*

*Time includes the following fixes:

    • Replacement of trailer tow connector screws
    • Replacement of attachment nuts for RH and LH side assist steps/brackets
    • Installing shields on RH and LH side assist step brackets