GM Service Manual Online
For 1990-2009 cars only
Makes
🢒
GMC_Truck
🢒
2000
🢒
Jimmy - 2WD
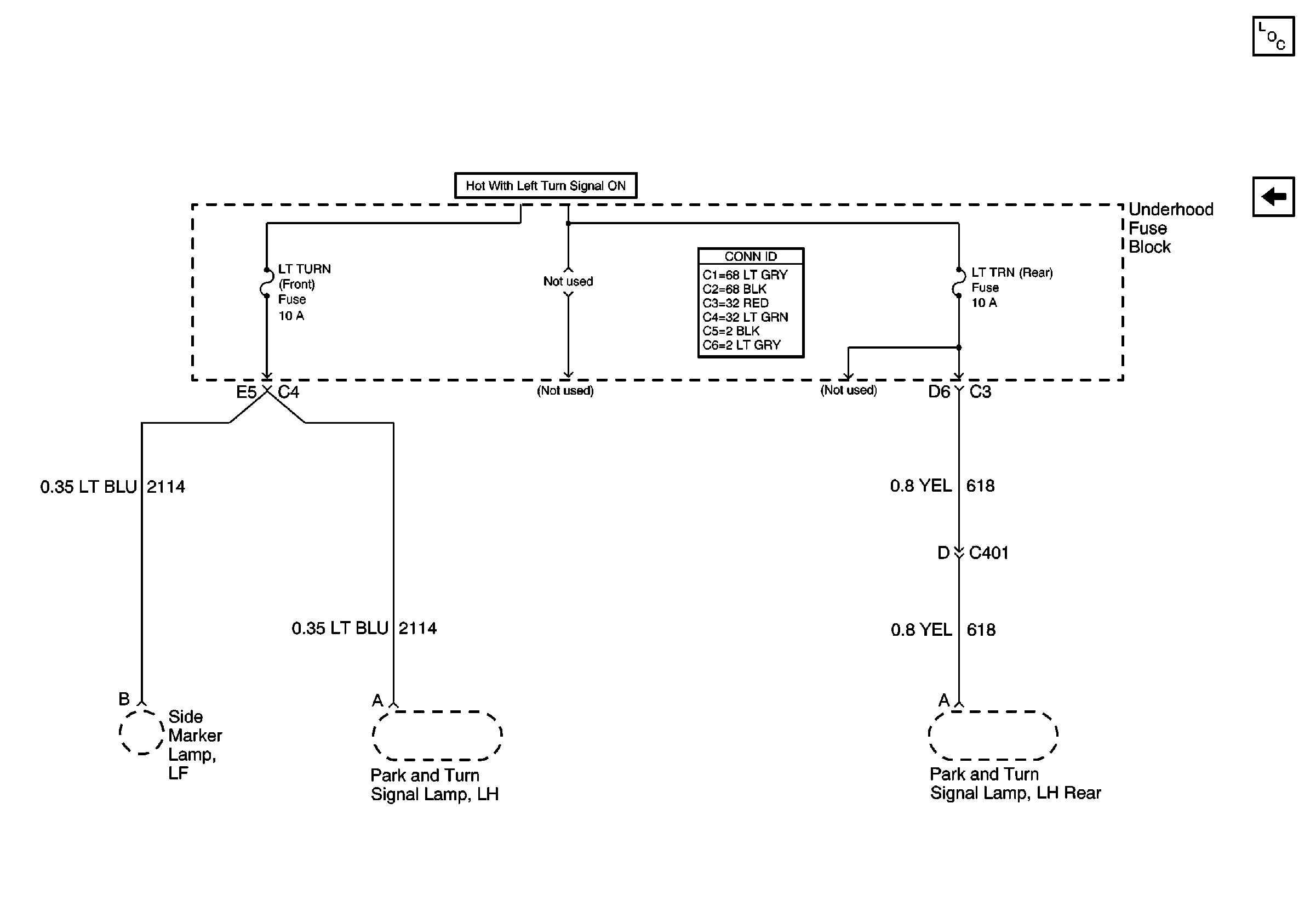
🢒 LT TURN and LT TRN Fuses
LT TURN and LT TRN Fuses
LT TURN and LT TRN Fuses
Power and Grounding Components
RT TURN and RT TRN Fuses
STOP LP, HAZ LP, TURN Fuses and Turn and Hazard Switch
Power and Grounding Connector End Views