GM Service Manual Online
For 1990-2009 cars only
Makes
🢒
GMC_Truck
🢒
2000
🢒
Jimmy - 2WD
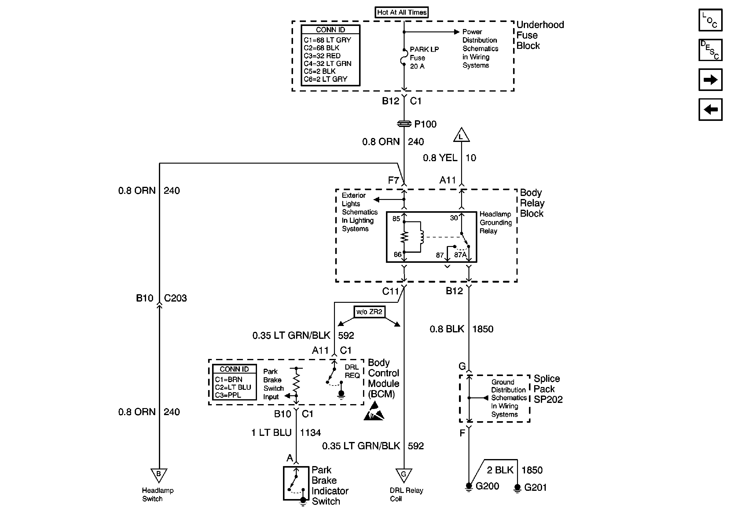
🢒 Headlamp Grounding Relay and BCM
Headlamp Grounding Relay and BCM
Headlamp Grounding Relay and BCM
Lighting Systems Components
Headlights Circuit Description
Flash-To-Pass Switch, DRL Relay (ZR2) and BCM
DRL and Headlamp Power Relays
Power and Grounding Connector End Views
B+ Bus Bar
Flash-To-Pass Switch, DRL Relay (ZR2) and BCM
Park Lamps and Marker Lamps, Front
Headlamp Switch, Ambient Light Sensor and BCM
Body Control System Connector End Views
Handling ESD Sensitive Parts Notice
DRL and Headlamp Power Relays
G200, G201 and G207 (Utility)