GM Service Manual Online
For 1990-2009 cars only

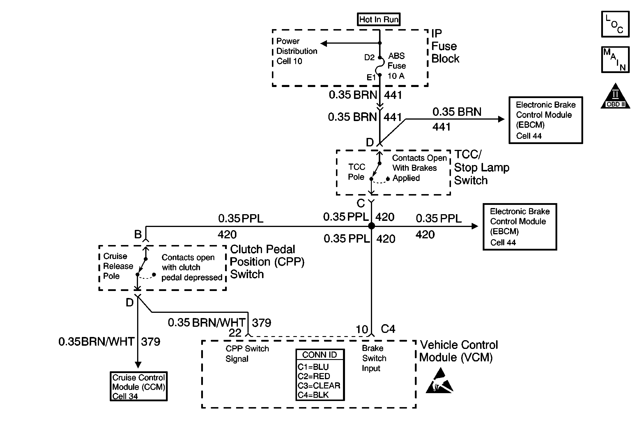
Object Number: 623194  Size: MF
Handling ESD Sensitive Parts Notice
Engine Controls Components
Brake Switch Input
OBD II Symbol Description Notice
Cruise Control Schematics
Powertrain Control Module Connector End Views
Antilock Brake System Schematics 310 ABS
Antilock Brake System Schematics 310 ABS

Circuit Description

The clutch pedal position (CPP) Switch is used to determine when the clutch pedal is applied. Ignition voltage is applied to the control module (PCM/VCM) CPP input through the CPP switch. When the clutch pedal is depressed, ignition voltage is removed from this input. The control module monitors the CPP signal for transitions during normal vehicle operations. If the control module detects that no clutch pedal applications have occurred during a predetermined test cycle, a DTC P0704 will be set.

Conditions for Running the DTC

    • No active VS sensor DTCs
    • The vehicle speed is now 0 mph but had been more than 40 mph (64 km/h).
    • The brakes are not applied.

Conditions for Setting the DTC

The VCM has not detected any changes in the clutch switch status.

Action Taken When the DTC Sets

    • The control module illuminates the malfunction indicator lamp (MIL) if a failure is detected during 2 consecutive key cycles.
    • The control module sets the DTC and records the operating conditions at the time the diagnostic failed. The failure information is stored in the scan tool Freeze Frame/Failure Records.

Conditions for Clearing the MIL or DTC

    • The control module turns OFF the MIL after 3 consecutive drive trips when the test has run and passed.
    • A history DTC will clear if no fault conditions have been detected for 40 warm-up cycles. A warm-up cycle occurs when the coolant temperature has risen 22°C (40°F) from the startup coolant temperature and the engine coolant reaches a temperature that is more than 70°C (158°F) during the same ignition cycle.
    • Use a scan tool in order to clear the DTCs.

Diagnostic Aids

When the clutch pedal is released, the clutch switch will be displayed Released in the scan tool data list.

If the brake pedal is applied with the clutch pedal released, the clutch switch will be displayed Applied in the scan tool data list.

When the clutch pedal is depressed, the clutch switch will be displayed Applied in the scan tool data list.

An intermittent may be caused by any of the following conditions:

    • A poor connection
    • Rubbed through wire insulation
    • A broken wire inside the insulation

Thoroughly inspect any circuitry that is suspected of causing the intermittent complaint. Refer to Testing for Intermittent Conditions and Poor Connections in Wiring Systems.

If a repair is necessary, refer to Wiring Repairs or Connector Repairs in Wiring Systems.

Test Description

The numbers below refer to the step numbers in the diagnostic table.

  1. This test determines if the VCM is receiving data from the clutch switch.

  2. This test determines if the clutch switch is stuck on or off.

  3. This step checks for a short to B+ in the CPP switch input circuit.

Step

Action

Values

Yes

No

1

Did you perform the Powertrain On-Board Diagnostic (OBD) System Check?

--

Go to Step 2

Go to Powertrain On Board Diagnostic (OBD) System Check

2

  1. Turn OFF the ignition.
  2. Install the scan tool.
  3. Turn ON the ignition, with the engine OFF.
  4. Use the scan tool to display the clutch switch parameter.
  5. Apply the clutch pedal and release the clutch pedal several times, be sure that the brake pedal is RELEASED during this step.

Does the scan tool clutch parameter change states when the clutch pedal is applied and released?

--

Go to Step 3

Go to Step 4

3

The DTC is intermittent.

Are any additional DTCs stored?

--

Go to applicable DTC

Go to Diagnostic Aids

4

Apply the clutch pedal with the brake pedal RELEASED.

Does the scan tool display the clutch switch APPLIED?

--

Go to Diagnostic Aids

Go to Step 5

5

  1. Turn OFF the ignition.
  2. Disconnect the clutch switch connector.
  3. Turn ON the ignition, with the engine OFF.

Does the scan tool display the clutch switch APPLIED?

--

Go to Step 7

Go to Step 6

6

  1. Turn OFF the ignition.
  2. Disconnect the VCM C4 connector.
  3. Turn ON the ignition, with the engine OFF.
  4. Probe the CPP switch input circuit at the VCM C4 connector with a test lamp connected to a ground.

Is the test lamp ON?

--

Go to Step 8

Go to Step 9

7

Replace the clutch pedal position switch. Refer to Clutch Pedal Engine Start Switch Replacement in Clutch.

Is the action complete?

--

Go to Step 10

--

8

Repair the short to voltage in the CPP switch input circuit.

Refer to Wiring Repairs in Wiring Systems.

Is the action complete?

--

Go to Step 10

--

9

Important: The replacement VCM must be programmed.

Replace the VCM. Refer to VCM Replacement/Programming .

Is the action complete?

--

Go to Step 10

--

10

  1. Use the scan tool in order to Clear the DTCs.
  2. Start the engine.
  3. Allow the engine to idle until the engine reaches normal operating temperature.
  4. Select DTC and the Specific DTC function.
  5. Enter the DTC number which was set.
  6. Operate the vehicle within the Conditions for Setting this DTC, until the scan tool indicates that the diagnostic Ran.

Does the scan tool indicate that the diagnostic Passed?

--

Go to Step 11

Go to Step 2

11

Does the scan tool display any additional undiagnosed DTCs?

--

Go to applicable DTC

System OK