GM Service Manual Online
For 1990-2009 cars only

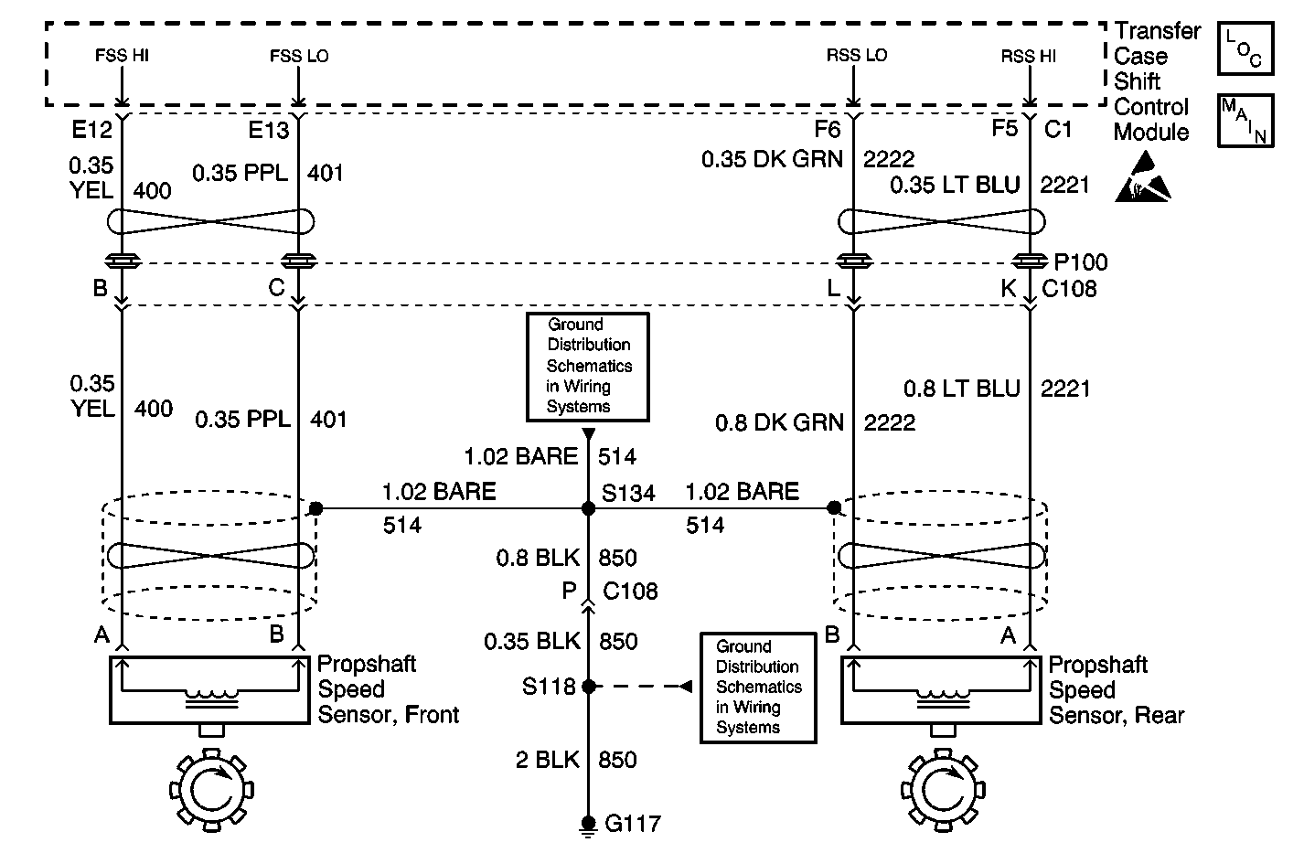
Object Number: 564280  Size: MF
Transfer Case Control Components
Transfer Case Control Schematics

Circuit Description

The Front and Rear Propshaft Speed Sensor is a Permanent Magnet (PM) generator. The PM generator produces a pulsing AC voltage. The AC voltage level and number of pulses increases as speed increases. The module converts the pulsating AC voltage to a propshaft RPM which is used for calculations. The module only looks at these inputs together when the vehicle is in 4H, 4L, and AUTO 4WD range only. The propshaft RPM can be displayed with a scan tool.

This DTC detects greater than 20 percent difference in the speed sensor inputs.

Conditions for Setting the DTC

The transfer case shift control module detects continued readings of front and rear propshaft speed signal which do not match. The module is unable to determine propshaft speed.

The system will log the DTC if the front and rear propshaft inputs indicates a speed greater than 20 percent difference for 40 seconds while all of the following are true:

    • Transmission is NOT in Park/Neutral
    • Engine is running
    • Front axle is engaged
    • Front Propshaft indicates speed less than 75 mph
    • Front Propshaft or Rear Propshaft speed exceeds 512 RPM
    • Vehicle Speed On Class 2 Data bus exceeds 10 mph

Action Taken When the DTC Sets

    • All Shifts to AUTO 4WD mode will be disabled. If the current mode is AUTO 4WD, the system will not allow any further adaptive events (correct wheel slip).
    • The SERVICE indicator (4WD/AWD) lamp will be latched on for the remainder of the current ignition cycle.

Conditions for Clearing the DTC

    • The transfer case shift control module will clear the DTC if the condition for setting the DTC no longer exists.
    • A history DTC will clear after 100 consecutive ignition cycles without a fault present.
    • History DTCs can be cleared using a scan tool.

Test Description

The number(s) below refer to the step number(s) on the diagnostic table.

  1. Helps determine if the transfer case speed sensors are working properly.

  2. Tests to see if the DTC will reset.

  3. Inspects for mismatches and whether speed sensors are wired correctly.

  4. Inspects the transfer case for mechanical failures.

DTC C0376 Front/Rear Propshaft Speed Mismatch

Step

Action

Value(s)

Yes

No

1

Important:: If DTC C0300 or C0305 is also present perform the diagnostic for DTC C0300 before continuing.

Was the Transfer Case Diagnostic System Check performed?

--

Go to Step 2

Go to Diagnostic System Check

2

  1. Clear all ATC DTCs.
  2. Place the transfer case into 4 WD mode.
  3. Connect a scan tool.
  4. Monitor both the front and rear propshaft speed sensors while driving the vehicle.

Are both propshaft speed sensors within 10 percent of each other?

--

Go to Step 3

Go to Step 4

3

Does the DTC C0376 reset?

--

Go to Step 6

Go to Testing for Intermittent Conditions and Poor Connections

4

  1. Turn the ignition OFF.
  2. Inspect the following for a mismatch:
  3. • Front and rear axle ratios
    • All tires
    • Front or rear propshaft missing
  4. Inspect that the speed sensors are wired correctly by comparing vehicle wire harness to the system schematics. Inspect the connectors for proper connection and for loose terminals.

Was a problem found and corrected?

--

Go to Step 7

Go to Step 5

5

Inspect the transfer case for a mechanical failure.

Has a mechanical failure been identified and repaired?

--

Go to Step 7

Go to Step 6

6

Replace the transfer case shift control module. Refer to Transfer Case Shift Control Module Replacement .

Is the repair complete?

--

Go to Step 7

--

7

  1. Use the scan tool in order to clear the DTCs.
  2. Operate the vehicle within the Conditions for Running the DTC as specified in the supporting text.

Does the DTC reset?

--

Go to Step 2

System OK