GM Service Manual Online
For 1990-2009 cars only
Makes
🢒
GMC_Truck
🢒
2003
🢒
Jimmy - 2WD
🢒
Body and Accessories
🢒
Wiring Systems
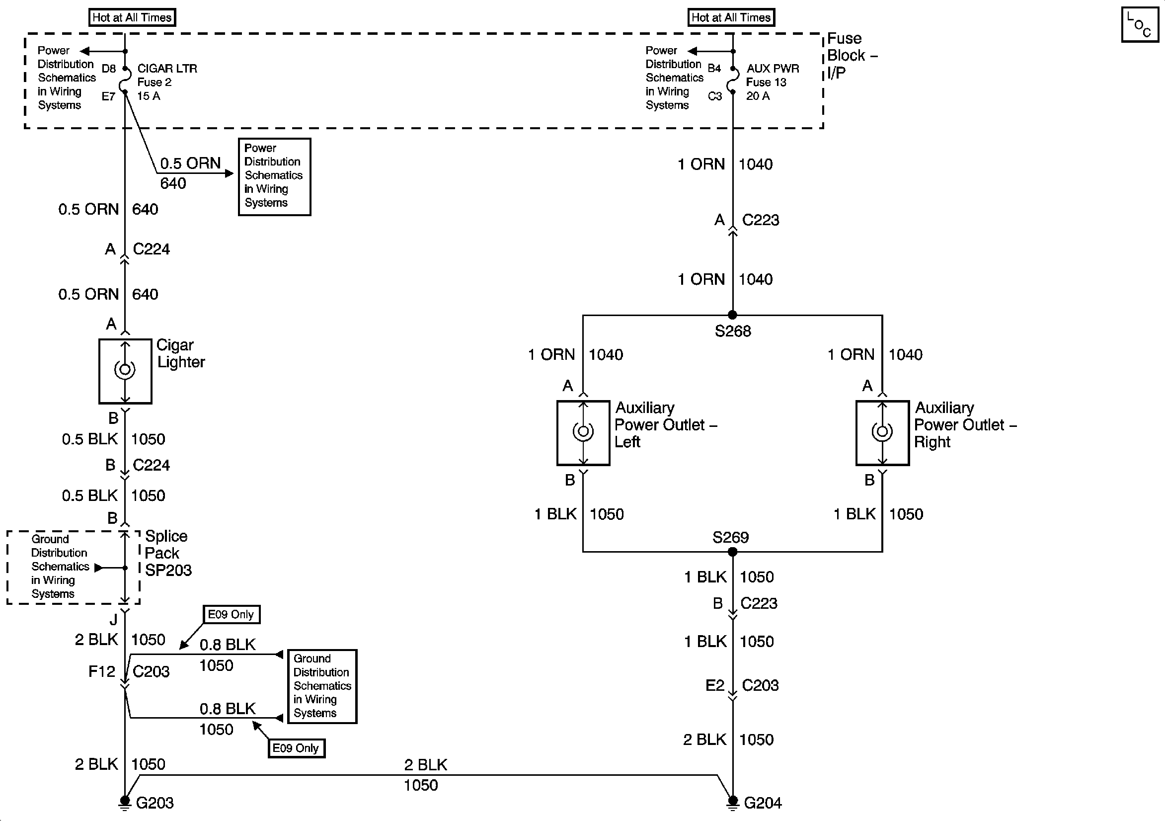
🢒 Cigar Lighter/Power Outlet Schematics
Master Electrical Component List
B+ Bus Bar
INT BATT, PWR LKS, AMPF, CTSY LP and CIGAR LTR Fuses
G203 and G204 - Utility w/Manual A/C
G203 and G204 - Utility w/Manual A/C
B+ Bus Bar