GM Service Manual Online
For 1990-2009 cars only

Sunroof Wiring Harness Replacement CF5

Removal Procedure

  1. Remove the negative battery cable.

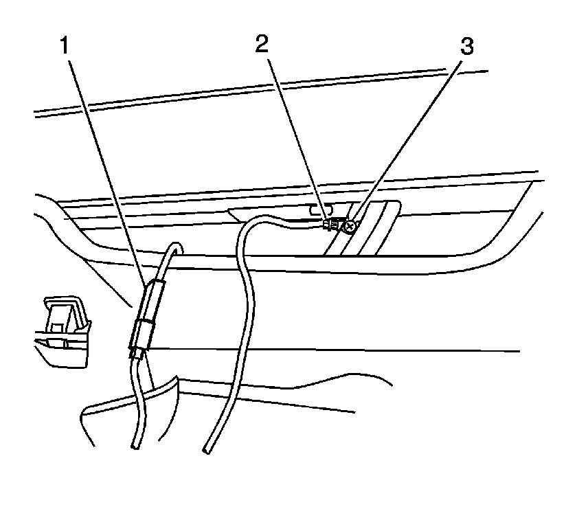
  2. Object Number: 612506  Size: SH
  3. Remove the headliner. Refer to Headlining Trim Panel Replacement in Interior Trim.
  4. Disconnect the wiring harness from the sunroof module (2).
  5. Remove the rosebud clips securing the dome lamp/sunroof harness to the left front side door opening frame.
  6. Remove the tape securing the sunroof harness to the dome lamp harness
  7. Disconnect the wiring harness from the body wiring harness.
  8. Remove the wiring harness from the vehicle.

Installation Procedure


    Object Number: 612506  Size: SH
  1. Install the wiring harness to the dome lamp harness by wrapping the harnesses with electrical tape.
  2. Install the wiring harness rosebud clips to the left front side door opening frame.
  3. Connect the wiring harness from the body wiring harness.
  4. Connect the wiring harness from the sunroof module (2).
  5. Install the headliner. Refer to Headlining Trim Panel Replacement in Interior Trim.
  6. Install the negative battery cable.

Sunroof Wiring Harness Replacement ZRX/XTREME w/ CF5

Removal Procedure

  1. Remove the 15A fuse from the sunroof fused jumper wire at the lower fuse block.

  2. Object Number: 1021432  Size: SH
  3. Remove the sunroof panel window garnish molding (3). Refer to Sunroof Panel/Window Garnish Molding Replacement in Interior Trim.

  4. Object Number: 1021454  Size: SH
  5. Disconnect the sunroof power feed connector (1) at the front header.
  6. Remove the LF windshield pillar garnish molding. Refer to Windshield Pillar Garnish Molding Replacement in Interior Trim .
  7. Remove the LF sunshade and retainer. Refer to Sunshade Replacement in Interior Trim.

  8. Object Number: 1021450  Size: SH

    Important: Note the routing of the sunroof main feed wire on the body harness routed down the windshield pillar.

  9. Cut the tie straps securing the sunroof power feed wire to the body harness.
  10. Cut the gray connector off the old main feed wire.
  11. Tie the old wire onto the new main feed wire in order to aid in the location of the new wire.
  12. Pull rearward, the LF center section of the door weather seal (1).
  13. Located underneath the instrument panel, pull the new wire (2) up through and next to the left side of the instrument panel end cap (3).

Installation Procedure


    Object Number: 1021450  Size: SH
  1. Secure the sunroof wire to the windshield pillar body harness with new tie straps.
  2. Position the new wire across the left front upper headliner area.
  3. Connect the gray connector end of the wire (2) to the fused jumper at the lower fuse block.

  4. Object Number: 1021454  Size: SH
  5. Connect the electrical connector (1) to the sunroof switch connector.
  6. Install the LF windshield pillar garnish molding. Refer to Windshield Pillar Garnish Molding Replacement in Interior Trim.
  7. Install the LF sunshade and retainer. Refer to Sunshade Replacement in Interior Trim
  8. Reposition the LF door seal on the pinchweld flange.

  9. Object Number: 1021432  Size: SH
  10. Install the sunroof panel window garnish molding (3). Refer to Sunroof Panel/Window Garnish Molding Replacement in Interior Trim.
  11. Install the 15A fuse to the jumper harness as removed.