GM Service Manual Online
For 1990-2009 cars only

DTC P0560 System Voltage High/Low 2.2L


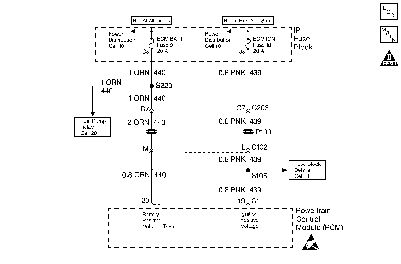
Object Number: 68644  Size: MF

Circuit Description

Circuit 439 is the ignition voltage feed for the PCM. Circuit 440 is the battery voltage feed for the PCM.

When the PCM detects a low voltage or a high voltage, then DTC P0560 sets. DTC P0560 is a type D DTC.

Conditions for Setting the DTC

The system voltage is low:

    • The engine speed is greater than 800 RPM.
    • The system voltage is less than 10 volts.
    • All conditions met for 2 seconds.

The system voltage is high:

    • The transmission fluid temperature is greater than 0°C (32°F).
    • The system voltage is greater than 16 volts.
    • All conditions met for 2 seconds.

Action Taken When the DTC Sets

    • All transmission output devices are OFF.
    • The PCM does not illuminate the Malfunction Indicator Lamp (MIL).

Conditions for Clearing the DTC

    • A scan tool can clear the DTC from the PCM history. The PCM clears the DTC from the PCM history if the vehicle completes 40 warm-up cycles without a failure reported.
    • The PCM cancels the DTC default actions when the fault no longer exists and the ignition is OFF long enough in order to power down the PCM.

Diagnostic Aids

    • Inspect the wiring for poor electrical connections at the PCM. Look for the following conditions:
       - A bent terminal
       - A backed out terminal
       - A damaged terminal
       - Poor terminal tension
       - A chafed wire
       - A broken wire inside the insulation
    • When diagnosing for an intermittent short or open condition, massage the wiring harness while watching the test equipment for a change.
    • Charging the battery with a battery charger may set DTCs. Jumpstarting an engine may set DTCs.
    • If DTCs set when you operate an accessory, inspect the applicable wiring for faulty connections. Inspect the wiring for excessive current draw.
    • Inspect the following items for faulty connections:
       - The starter solenoid
       - The fusible link
       - The generator terminals
    • Inspect the belts for excessive wear. Inspect the belts for proper tension.

Test Description

The numbers below refer to the step numbers on the diagnostic table.

  1. This step tests the charging system voltage.

  2. This step tests battery voltage input at the PCM.

  3. This step tests ignition voltage input at the PCM.

DTC P0560 System Voltage Malfunction (2.2L)

Step

Action

Value(s)

Yes

No

1

Was the Powertrain On-Board Diagnostic (OBD) System Check performed?

--

Go to Step 2

Go to OBD System Check

2

  1. Install the scan tool.
  2. With the engine OFF, turn the ignition switch to the RUN position.
  3. Important: Before clearing the DTCs, use the scan tool in order to record the Failure Records for reference. The Clear Info function will erase the data.

  4. Record the DTC Failure Records.
  5. Important: If any other DTCs are present, refer to the applicable diagnostic charts before continuing.

  6. Using the J 39200 DVOM, measure the battery voltage across the battery terminals. Record the measurement for future reference.

Is the voltage higher than the specified value?

10 volts

Go to Step 3

Go to Battery Diagnosis, Section 6D1

3

  1. Start the engine.
  2. Warm the engine to normal operating temperature.

Is the generator/check engine light ON?

--

Go to Charging System Diagnosis, Section 6D3

Go to Step 4

4

  1. Increase the engine speed to 1000-1500 RPM.
  2. Observe the scan tool system voltage.

Is the system voltage within the specified range?

13-15 volts

Go to Step 5

Go to Charging System Diagnosis, Section 6D3

5

  1. Turn the ignition switch OFF.
  2. Disconnect the C1 (blue) PCM connector (additional DTCs will set).
  3. With the engine OFF, turn the ignition switch to the RUN position.
  4. Using the J 39200 DVOM and J 35616 Connector Test Adapter Kit, measure the battery voltage input at PCM connector terminal C1-20.

Is there a voltage variance between the voltage measured at the battery (taken in Step 2) and at terminal C1-20 that is greater than the specified value?

0.5 volts

Go to Step 6

Go to Step 7

6

Repair the high resistance condition in circuit 440. Refer to Electrical Diagnosis, Section 8A.

Is the repair complete?

--

Go to Step 10

--

7

Measure the ignition voltage input at PCM connector terminal C1-19.

Is there a voltage variance between the voltage measured at the battery (taken in Step 2) and at terminal C1-19 that is greater than the specified value?

0.5 volts

Go to Step 8

Go to Step 9

8

Repair the high resistance condition in circuit 439. Refer to Electrical Diagnosis, Section 8A.

Is the repair complete?

--

Go to Step 10

--

9

Replace the PCM. Refer to PCM Replacement, Section 6.

Is the replacement complete?

--

Go to Step 10

--

10

In order to verify your repair, perform the following procedure:

  1. Select DTC.
  2. Select Clear Info.
  3. Operate the vehicle under the following conditions:
  4. • Start the vehicle.
    • Warm the engine to normal operating temperature.
    • The PCM must see a system voltage of 10-16 volts.
  5. Select Specific DTC. Enter DTC P0560.

Has the test run and passed?

--

System OK

Begin the diagnosis again. Go to Step 1

DTC P0560 System Voltage High/Low 4.3L


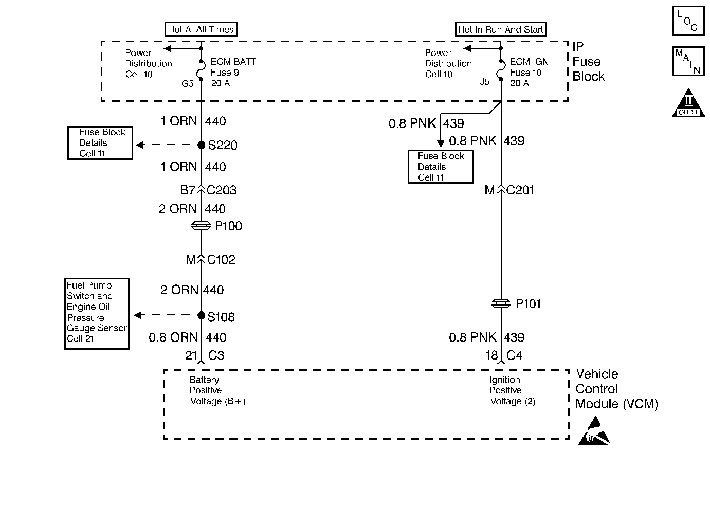
Object Number: 68647  Size: MF

Circuit Description

Circuit 439 is the ignition voltage feed for the VCM. Circuit 440 is the battery voltage feed for the VCM.

When the VCM detects a low voltage or a high voltage, then DTC P0560 sets. DTC P0560 is a type D DTC.

Conditions for Setting the DTC

    • The system voltage is low:
       - The engine speed is greater than 1250 RPM.
       - The system voltage is less than 10.5 volts at a maximum transmission temperature of 151°C (304°F).
       - The system voltage is less than 6.7 volts at a minimum transmission temperature of -40°C (-40°F).
       - All conditions met for 4 seconds.
    • The system voltage is high:the system voltage is greater than 19 volts for 2 seconds.

Action Taken When the DTC Sets

    • All transmission output devices are OFF.
    • The VCM freezes shift adapts from being updated.
    • The VCM does not illuminate the Malfunction Indicator Lamp (MIL).

Conditions for Clearing the DTC

    • A scan tool can clear the DTC from the VCM history. The VCM clears the DTC from the VCM history if the vehicle completes 40 warm-up cycles without a failure reported.
    • The VCM cancels the DTC default actions when the fault no longer exists and the ignition is OFF long enough in order to power down the VCM.

Diagnostic Aids

    • Inspect the wiring for poor electrical connections at the VCM. Look for the following conditions:
       - A bent terminal
       - A backed out terminal
       - A damaged terminal
       - Poor terminal tension
       - A chafed wire
       - A broken wire inside the insulation
    • When diagnosing for an intermittent short or open condition, massage the wiring harness while watching the test equipment for a change.
    • Charging the battery with a battery charger may set DTCs. Jumpstarting an engine may set DTCs.
    • If DTCs set when you operate an accessory, inspect the applicable wiring for faulty connections. Inspect the wiring for excessive current draw.
    • Inspect the following items for faulty connections:
       - The starter solenoid
       - The fusible link
       - The generator terminals
    • Inspect the belts for excessive wear. Inspect the belts for proper tension.
    • Inspect the VCM ground circuits for ground integrity.

Test Description

The numbers below refer to the step numbers on the diagnostic table.

  1. This step tests the charging system voltage.

  2. This step tests battery voltage input at the VCM.

  3. This step tests ignition voltage input at the VCM.

DTC P0560 System Voltage Malfunction (4.3L)

Step

Action

Value(s)

Yes

No

1

Was the Powertrain On-Board Diagnostic (OBD) System Check performed?

--

Go to Step 2

Go to Powertrain OBD System Check

2

  1. Install the scan tool.
  2. With the engine OFF, turn the ignition switch to the RUN position.
  3. Important: Before clearing the DTCs, use the scan tool in order to record the Failure Records for reference. The Clear Info function will erase the data.

  4. Record the DTC Failure Records.
  5. Important: If any other DTCs are present, refer to the applicable diagnostic charts before continuing.

  6. Using the J 39200 DVOM, measure the battery voltage across the battery terminals. Record the measurement for future reference.

Is the voltage measured greater than the specified value?

10.5 volts

Go to Step 3

Go to Battery Diagnosis, Section 6D1

3

Start the engine and warm to normal operating temperature.

Is the generator/check engine lamp ON?

--

Go to Charging System Diagnosis, Section 6D3

Go to Step 4

4

  1. Increase the engine speed to 1000-1500 RPM.
  2. Observe the scan tool system voltage.

Is the system voltage within the specified range?

13-15 volts

Go to Step 5

Go to Charging System Diagnosis, Section 6D3

5

  1. Turn the ignition switch OFF.
  2. Disconnect the C3 (gray) VCM connector (additional DTCs will set).
  3. With the engine OFF, turn the ignition switch to the RUN position.
  4. Using the J 39200 DVOM and J 35616 Connector Test Adapter Kit, measure the battery voltage input at VCM connector terminal C3-21.

Is there a voltage variance between the voltage measured at the battery (taken in Step 2) and at terminal C3-21 that is greater than the specified value?

0.5 volts

Go to Step 6

Go to Step 7

6

Repair the high resistance condition in circuit 440. Refer to Electrical Diagnosis, Section 8A.

Is the repair complete?

--

Go to Step 10

--

7

  1. Disconnect the C4 (black) VCM connector.
  2. Measure the ignition voltage input at VCM connector terminal C4-18.

Is there a voltage variance between the voltage measured at the battery (taken in Step 2) and at terminal C4-18 that is greater than the specified value?

0.5 volts

Go to Step 8

Go to Step 9

8

Repair the high resistance condition in circuit 439. Refer to Electrical Diagnosis, Section 8A.

Is the repair complete?

--

Go to Step 10

--

9

Replace the VCM. Refer to VCM Replacement, Section 6.

Is the replacement complete?

--

Go to Step 10

--

10

In order to verify your repair, perform the following procedure:

  1. Select DTC.
  2. Select Clear Info.
  3. Operate the vehicle under the following conditions:
  4. • Start the vehicle. Warm the vehicle to the normal operating temperature.
    • The VCM must see a system voltage of 10-16 volts.
  5. Select Specific DTC. Enter DTC P0560.

Has the test run and passed?

--

System OK

Begin the diagnosis again. Go to Step 1