GM Service Manual Online
For 1990-2009 cars only
Figure 1:

Power and Ground DLC


Object Number: 34247  Size: FS
Handling ESD Sensitive Parts Notice
Handling ESD Sensitive Parts Notice
Handling ESD Sensitive Parts Notice
Engine Controls Components
Information Sensors 4.3L, 5.0L
Camshaft, Crankshaft, and Ignition
OBD II Symbol Description Notice
Figure 2:

Camshaft, Crankshaft, and Ignition


Object Number: 34249  Size: FS
Handling ESD Sensitive Parts Notice
Engine Controls Components
Information Sensors 4.3L, 5.0L
Fuel System
Power and Ground DLC
OBD II Symbol Description Notice
Figure 3:

Fuel System


Object Number: 34250  Size: FS
Handling ESD Sensitive Parts Notice
Information Sensors 4.3L, 5.0L
Engine Controls Components
Fuel Injector
Camshaft, Crankshaft, and Ignition
OBD II Symbol Description Notice
Figure 4:

Fuel Injector


Object Number: 34251  Size: FS
Handling ESD Sensitive Parts Notice
Engine Controls Components
Information Sensors 4.3L, 5.0L
Comprehensive Components
Fuel System
OBD II Symbol Description Notice
Figure 5:

Comprehensive Components


Object Number: 34252  Size: FS
Handling ESD Sensitive Parts Notice
Handling ESD Sensitive Parts Notice
Engine Controls Components
Information Sensors 4.3L, 5.0L
EVAP and EGR
Fuel Injector
OBD II Symbol Description Notice
Figure 6:

EVAP and EGR


Object Number: 34253  Size: FS
Handling ESD Sensitive Parts Notice
Engine Controls Components
Information Sensors 4.3L, 5.0L
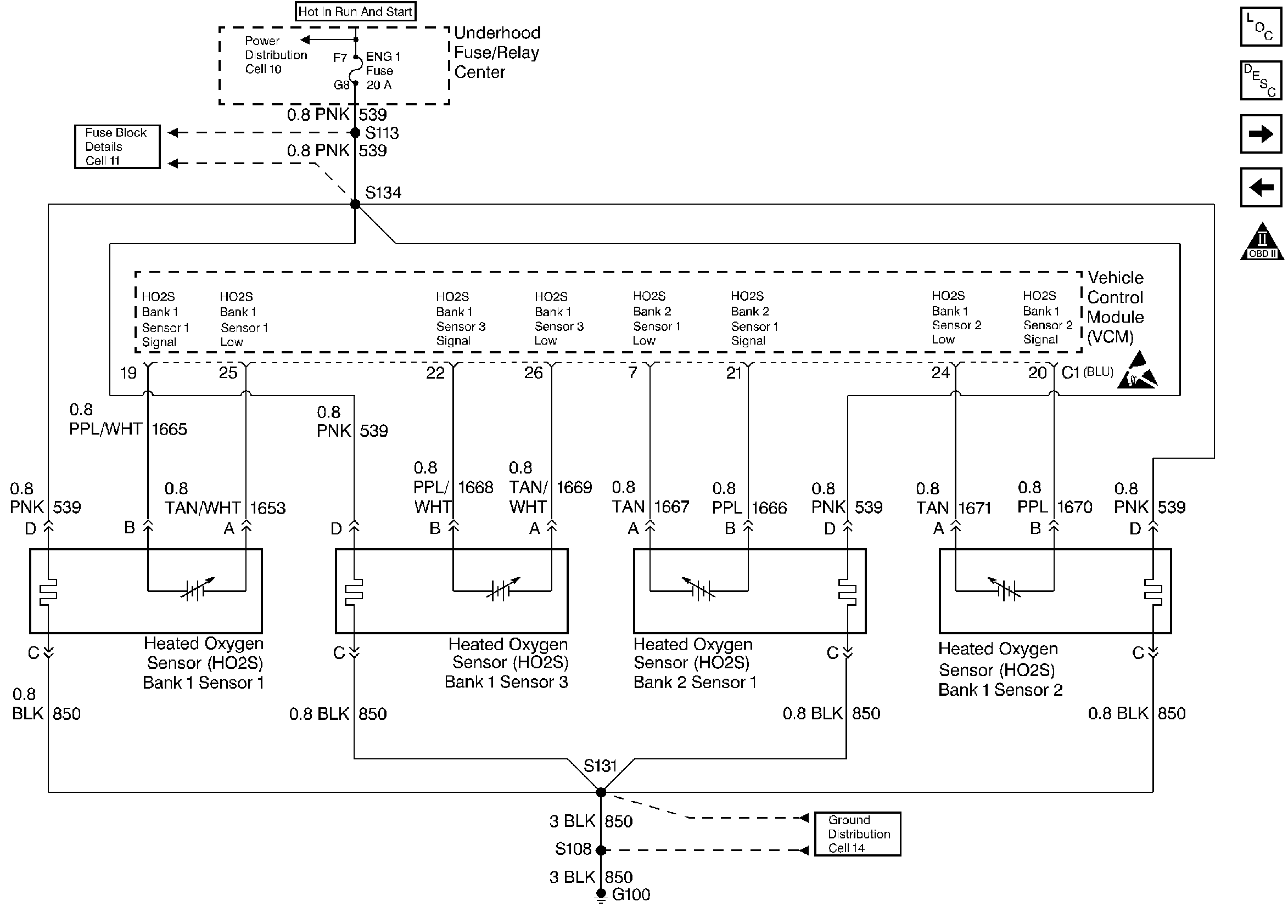
H02S Mechanization
Comprehensive Components
OBD II Symbol Description Notice
Figure 7:

H02S Mechanization


Object Number: 34254  Size: FS
Handling ESD Sensitive Parts Notice
Engine Controls Components
Information Sensors 4.3L, 5.0L
VSS and IAC
EVAP and EGR
OBD II Symbol Description Notice
Figure 8:

VSS and IAC


Object Number: 34255  Size: FS
Handling ESD Sensitive Parts Notice
Handling ESD Sensitive Parts Notice
Handling ESD Sensitive Parts Notice
Handling ESD Sensitive Parts Notice
Handling ESD Sensitive Parts Notice
Engine Controls Components
Information Sensors 4.3L, 5.0L
Transmission Mechanization
H02S Mechanization
OBD II Symbol Description Notice
Figure 9:

Transmission Mechanization


Object Number: 34256  Size: FS
Handling ESD Sensitive Parts Notice
Engine Controls Components
Information Sensors 4.3L, 5.0L
Transmission Mechanization
VSS and IAC
OBD II Symbol Description Notice
Figure 10:

Transmission Mechanization


Object Number: 34257  Size: FS
Handling ESD Sensitive Parts Notice
Handling ESD Sensitive Parts Notice
Engine Controls Components
Information Sensors 4.3L, 5.0L
A/C Controls
Transmission Mechanization
OBD II Symbol Description Notice
Figure 11:

A/C Controls


Object Number: 34248  Size: FS
Handling ESD Sensitive Parts Notice
Engine Controls Components
Information Sensors 4.3L, 5.0L
Transmission Mechanization
OBD II Symbol Description Notice